当前位置: 首页> 专利交易> 详情页
    待售中

    一种电气混合加热式SSCR模块的产氨装置[ZH]

    专利编号: ZL202602121427

    收藏

    拟转化方式: 转让

    交易价格:面议

    专利类型:实用新型专利

    法律状态:授权

    技术领域:发动机

    发布日期:2026-02-12

    发布有效期: 2026-02-12 至 2027-06-27

    专利顾问 — 王老师

    电话咨询

    咨询电话

    13760886304

    专利基本信息
    >
    申请号 CN201720758463.3 公开号 CN207018064U
    申请日 2017-06-27 公开日 2018-02-16
    申请人 中国第一汽车股份有限公司 专利授权日期 2018-02-16
    发明人 崔龙;张克金;韩建;闫晓东;边海东;于力娜;苏中辉 专利权期限届满日 2027-06-27
    申请人地址 130011 吉林省长春市西新经济技术开发区东风大街2259号 最新法律状态 授权
    技术领域 发动机 分类号 F01N 3/20
    技术效果 高效率 有效性 有效(授权、部分无效)
    专利代理机构 王薇 代理人 王薇
    专利技术详情
    >
    01

    专利摘要

    本实用新型涉及一种电气混合加热式SSCR模块的产氨装置,其特征在于:储氨罐呈圆柱形,储氨罐数值布置在矩形结构的产氨装置外壳内部,储氨罐顶端和低端端口通过产氨装置外壳的上下两端壳板密封,储氨材料填充在储氨罐内部,产氨装置尾气出气口开在产氨装置外壳一侧立壁的偏上位置,快速接口母端位于产氨装置外壳另一侧立壁的偏下位置,快速接口母端即为产氨装置尾气进气口,电加热棒从储氨罐上方中心位置插入储氨罐内部,氨气出气管连接在储氨罐的顶面,角阀连接在氨气出气管管路上,尾气后处理的快速接口公端与产氨装置外壳上的快速接口母端连接。其能解决北方冬季液体尿素结冰,车辆冷启动时SCR系统进入正常工作状态慢得问题,同时降低装置总重,简化拆装。
    展开 >
    02

    专利详情

    技术领域

    本实用新型涉及一种电气混合加热式SSCR模块的产氨装置,主要应用于汽车尾气
    的SCR后处理行业。

    背景技术

    汽车尾气排放能引起严重的大气污染,其主要污染物有碳氢化合物(HC)、一氧化
    碳(CO)、氮氧化物(NOx)和颗粒物(PM)。自20世纪70年代人们开始努力控制汽车尾气排放以
    来,制定了越来越严格的排放法规。为贯彻《中华人民共和国大气污染防治法》,严格控制机
    动车污染,全面实施《轻型汽车污染物排放限值及测量方法(中国五阶段)》(GB18352.5-
    2013)和《车用压燃式、气体燃料点燃式发动机与汽车排气污染物排放限值及测量方法(中
    国Ⅲ、Ⅳ、Ⅴ阶段)》(GB17691-2005)中第五阶段排放标准要求,全国自2017年1月1日起,所
    有制造、进口、销售和注册登记的轻型汽油车、重型柴油车(客车和公交、环卫、邮政用途),
    须符合国五标准要求。因此,汽车对尾气净化技术提出了更大的挑战,更高的要求。

    SCR(Selective Catalytic Reduction)催化转化还原技术是传统的后处理技术。
    这种采用液体尿素的传统的SCR技术本质是利用尿素在高温下分解出氨,作为还原剂的氨
    与发动机排气中的NOx在催化剂和温度的综合作用下进行反应,理想工况下生成无毒的N2
    和H2O,从而达到净化的目的。然而,传统的SCR系统所用的液体尿素还原剂面临冬季结冰和
    保温解冻的问题,以及尿素排气温度较高的条件下,易形成难分解的缩合物,进而堵塞尿素
    还原剂喷嘴或堆积于排气管内,造成发动机排气背压升高,降低车辆燃油经济性。

    因此,如何获得低成本和高性能的NH3还原剂供给装置尤为重要。利用金属氯化物
    与氨气形成配位化合物这一特性,氨气被固定下来,使用的金属氯化物主要为碱土金属氯
    化物,氯化锶、氯化钙、氯化镁,以及必须的辅助添加组分。形成的氨合化合物储氨材料作为
    车载还原剂氨源,在使用的时候通过加热实现氨气的解吸释放,氨气与金属氯化物的吸附
    和解吸是一个可逆的过程。

    由于氨气的解吸附是吸热过程,因此在储氨装置中需要增加热源,在专利号为CN
    102733913 B(双级余热方式储氨供氨的系统)中公布了一种采用发动机的回流冷却液的余
    热来加热活性的储氨化合物,释放出氨的后处理系统。专利号为CN 103470347 A(用于产生
    氨的设备)介绍了一种氨发生设备,其中第一加热装置和第二加热装置分别安装在主存储
    器和副存储器内部并且独立操作。专利号为US2012/0045379 A1(一种利用真空泵从固体储
    氨材料中储存和供给氨气的方法),介绍了存储和输送氨的方法,储氨材料的加热方式为内
    置电加热或外置微波加热或红外加热。专利号为CN 104234796 A(尤其用于机动车辆排气
    系统的具有优化的填充时间的氨存储筒)介绍了一种具有氨气导出通道的内置加热式或外
    包式加热的氨存储筒。

    发明内容

    本实用新型的目的是提供一种电气混合加热式SSCR模块的产氨装置,其能解决北
    方冬季液体尿素结冰,车辆冷启动时SCR系统进入正常工作状态慢得问题,同时降低装置总
    重,简化拆装。

    本实用新型的技术方案是这样实现的:一种电气混合加热式SSCR模块的产氨装
    置,由储氨罐、储氨材料、产氨装置外壳、电加热棒、氨气出气管、角阀、快速接口母端、产氨
    装置尾气出气口、快速接口公端、尾气后处理器组成,其特征在于:储氨罐呈圆柱形,储氨罐
    数值布置在矩形结构的产氨装置外壳内部,储氨罐顶端和低端端口通过产氨装置外壳的上
    下两端壳板密封,储氨材料填充在储氨罐内部,产氨装置尾气出气口开在产氨装置外壳一
    侧立壁的偏上位置,快速接口母端位于产氨装置外壳另一侧立壁的偏下位置,快速接口母
    端即为产氨装置尾气进气口,电加热棒从储氨罐上方中心位置插入储氨罐内部,氨气出气
    管连接在储氨罐的顶面,角阀连接在氨气出气管管路上,尾气后处理的快速接口公端与产
    氨装置外壳上的快速接口母端连接。

    所述的储氨罐具有5L~40L的容积,罐壁厚度为2mm~4mm。

    所述的电加热棒为圆柱形,其直径为40mm~60mm,轴向长度小于储氨罐的长度30~
    40mm,加热功率为300W~600W,供电端与车载电源连接。

    所述的产氨装置外壳,其内部的储氨罐焊接于产氨装置外壳的中部,储氨罐的外
    壁与产氨装置外壳之间的最小距离为20mm~50mm。

    所述的氨气出气管的内径为0.5cm~1.5cm,管壁厚为2mm~3mm。

    所述的快速接口母端为喇叭形,沿尾气气流方向管径逐渐减小,大径为140~
    160mm,小径为70~90mm,长度为80~100mm;安装于尾气后处理上的快速接口公端,沿尾气气
    流方向管径逐渐减小,大径为138~158mm,小径为68~88mm,长度为80~100mm。

    所述的产氨装置外壳与储氨罐焊接在一起的两端壳板的厚度为2.5mm~4mm,其它
    面的壳体厚度为1.5mm~2.5mm。

    所述的储氨材料可以是氨合氯化锶或氨合氯化钙或氨合氯化镁或能够与NH3形成
    络合物的氯化物。

    本实用新型的积极效果是其结构简单、拆装简易。采用不等径插接管,精简了管路
    连接部件,同时采用取热装置壳体的端板作为储氨罐的封头,既节省了封头的材料又节省
    了固定隔板的材料,整个装置降重明显,降低了装置总重4kg~10kg。采用发动机尾气和电加
    热棒为储氨材料加热,既充分利用了发动机燃料产生的能量,提高了发动机的热效率,节省
    了燃油消耗,又兼具了电加热棒温度响应快的优点,组合使用能够实现氨气快速释放;此装
    置适用于北方寒区使用的中型卡车,电气混合加热式SSCR模块的产氨装置安装于SCR后处
    理器的后侧。在-20℃车辆冷启动条件下,储氨罐内氨气达到工作压力只需10min,即可满足
    SCR系统能够正常运行。经测量安装此装置后,在排气流量为1300kg/h时排气背压仅升高
    3kPa。

    附图说明

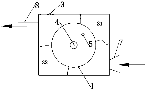
    图1 为本实用新型的结构图。

    图2 为本实用新型的产氨装置俯视示意图。

    具体实施方式

    下面结合附图对本实用新型做进一步说明:如图1、2所示,一种电气混合加热式
    SSCR模块的产氨装置,由储氨罐1、储氨材料2、产氨装置外壳3、电加热棒4、氨气出气管5、角
    阀6、快速接口母端7、产氨装置尾气出气口8、快速接口公端9、尾气后处理器10组成,其特征
    在于:储氨罐1呈圆柱形,储氨罐1数值布置在矩形结构的产氨装置外壳3内部,储氨罐1顶端
    和低端端口通过产氨装置外壳3的上下两端壳板密封,储氨材料2填充在储氨罐1内部,产氨
    装置尾气出气口8开在产氨装置外壳3一侧立壁的偏上位置,快速接口母端7位于产氨装置
    外壳3另一侧立壁的偏下位置,快速接口母端7即为产氨装置尾气进气口,电加热棒4从储氨
    罐1上方中心位置插入储氨罐1内部,氨气出气管5连接在储氨罐1的顶面,角阀6连接在氨气
    出气管5管路上,尾气后处理10的快速接口公端9与产氨装置外壳3上的快速接口母端7连
    接。

    所述的储氨罐1具有5L~40L的容积,罐壁厚度为2mm~4mm。

    所述的电加热棒4为圆柱形,其直径为40mm~60mm,轴向长度小于储氨罐1的长度30
    ~40mm,加热功率为300W~600W,供电端与车载电源连接。

    所述的产氨装置外壳3,其内部的储氨罐1焊接于产氨装置外壳3的中部,储氨罐1
    的外壁与产氨装置外壳3之间的最小距离为20mm~50mm。

    所述的氨气出气管5的内径为0.5cm~1.5cm,管壁厚为2mm~3mm。

    所述的快速接口母端7为喇叭形,沿尾气气流方向管径逐渐减小,大径为140~
    160mm,小径为70~90mm,长度为80~100mm;安装于尾气后处理10上的快速接口公端9,沿尾气
    气流方向管径逐渐减小,大径为138~158mm,小径为68~88mm,长度为80~100mm。

    所述的产氨装置外壳3与储氨罐1焊接在一起的两端壳板的厚度为2.5mm~4mm,其
    它面的壳体厚度为1.5mm~2.5mm。

    所述的储氨材料2可以是氨合氯化锶或氨合氯化钙或氨合氯化镁或能够与NH3形
    成络合物的氯化物。

    储氨罐的外壁与产氨装置外壳之间的最小距离为20mm~50mm,图2中所示的S1区域
    和S2区域的面积为快速接口母端7面积的3~4倍。为方便拆装,尾气后处理器的快速接口公
    端9与快速接口母端7采用尺寸相匹配的不等径快速插接管。取热装置安装时只需移动取热
    装置,使快速接口母端7与尾气后处理器上的快速接口公端9插接在一起,即可固定取热装
    置的托架于车辆的大架上,省去了安装法兰的工序。

    产氨装置中氨气解吸附的热量来自于发动机尾气和电加热棒4对储氨罐1进行的
    组合式加热,尾气排气温度通常在150℃~450℃,电加热棒在2min内可升至200℃。从尾气后
    处理器10排出的尾气经由产氨装置的快速接口母端7进入产氨装置外壳3内,流经储氨罐1
    和产氨装置外壳3之间的区域,并从产氨装置尾气出气口8排出,进而实现尾气对储氨罐的
    全包式加热,当储氨罐中的储氨材料2达到解吸温度时,释放出的氨气由氨气出气管导出并
    进入系统的下一单元。在低温天气需要快速释氨的情况下,启动电加热棒,即可实现氨气的
    快速释放。装置正常使用时,角阀处于开启状态,当装置中氨气用尽需要更换时,角阀关闭。

    活性气体氨气的通入和吸附的完成是通过氨气出气管5进行的。可以采用高纯工
    业氨瓶,在自然阴凉通风的环境下,通过减压阀和干燥系统,在0.2~0.4MPa的出口压力范围
    内缓慢进行充氨,充氨时间为2~3h;在进行充氨前后称重取氨装置,确认充入氨的净质量在
    预定范围内,完成充氨后,整个系统的阀门关闭,确保不泄露。

    此结构北方寒区使用的中型卡车,电气混合加热式SSCR模块的产氨装置安装于
    SCR后处理器的后侧。在-20℃车辆冷启动条件下,储氨罐内氨气达到工作压力只需8min,即
    可满足SCR系统能够正常运行。经测量安装此装置后,在排气流量为1300kg/h时排气背压仅
    升高3kPa。

    一种电气混合加热式SSCR模块的产氨装置

    Technical Field

    The utility model relates to a kind of electric mixed heated SSCR module of the device produces the ammonia, is mainly applied to the SCR of the car exhaust gas post-processing industry.

    Background Art

    The automobile exhaust emissions can cause serious pollution of the atmosphere, the main pollutants of hydrocarbons (HC), carbon monoxide (CO), nitrogen oxides (NOx) and particulate matter (PM). Since the 20 century 70 age people began efforts to control automobile exhaust emissions since, has developed increasingly stringent emission regulations. For the implementation of the "people's Republic of China of atmospheric pollution", strict control on motor vehicle pollution, the full implementation of the "light automobile emission limit value and the measurement method (China's five stage)" (GB18352.5 - 2013) and "vehicle compression ignition, gas fuel spark-ignition engine and automobile exhaust pollutant emission limits and measuring method (China III, IV, V phase)" (GB17691 - 2005) in the standard requirements of the 5th stage discharge, from National self-1 January 2017, all manufacturing, import, sales and registration of the light petrol vehicles, heavy-duty diesel vehicles (passenger car and bus, sanitation, postal use), shall be conforms to the five standard requirements. Therefore, the automobile exhaust gas purifying technology provides greater challenges, higher requirements.

    SCR (Selective Catalytic Reduction) catalytic reduction technology is the traditional post-processing technology. By adopting the liquid urea of the traditional SCR technology is essentially utilize urea decomposes under the high temperature ammonia, the ammonia as a reducing agent of NOx in the engine exhaust gas in the catalyst and the temperature of the integrated under the action of the reaction, under the conditions of an ideal to produce non-toxic N2 and H2O, thereby achieving the purpose of purification. However, the traditional SCR system for liquid urea reducing agent facing the freezing in winter and heat insulation thawing problems, urea and the exhaust gas temperature under the condition of relatively high, it is easy to form a condensate of hard, further stopping urea reducing agent nozzle or piled in the exhaust pipe, cause the engine exhaust back pressure rises, to reduce the vehicle fuel economy.

    Therefore, how to obtain low cost and high performance of the NH3 reducing agent supply device is particularly important. The use of metal chloride with ammonia to form coordination compounds of this characteristic, the ammonia gas is fixed down, use of the metal chloride is mainly alkaline earth metal chloride, strontium chloride, calcium chloride, magnesium chloride, and must be auxiliary additive component. Ammonia synthesis of compound material formed as a vehicle-mounted reducing agent ammonia an ammonia, when in use by heating to achieve desorption release the ammonia gas, the ammonia gas with the metal chloride to adsorb and desorb a is a reversible process.

    Because the ammonia desorption of heat absorption process is, therefore a need to increase the ammonia storage device in the heat source, in the Patent number CN 102733913 B (double-stage waste heat mode [...] ammonia system) in discloses a backflow of the coolant of the engine waste heat to heat the active chu anhua compound, release leaves the ammonia of the after-treatment system. The Patent number CN 103470347 A (used for producing the ammonia of the equipment) with the introduction of the ammonia generating device, wherein the 2nd 1st heating device and heating device are respectively installed in the main memory and the secondary memory internal and independent operation. The Patent number US2012/0045379 A1 (a uses the vacuum pump from the solid ammonia in the material storage and supply ammonia gas), introduced the method of storing and delivering ammonia, ammonia material for the heating means of the built-in electric heating or external microwave heating or infrared heating. The Patent number CN 104234796 A (in particular for a motor vehicle exhaust system with optimized filling time of ammonia saves the tube) introduced with ammonia derives the channel built-in heating or enclosed heating of the ammonia storage tube.

    Content of the invention

    The purpose of the utility model is to provide a electrical mixed heated SSCR module of the device produces the ammonia, it can solve the northern winter liquid urea freezing, a vehicle cold start when the normal operation of the SCR system enters the state of the problem of slow, at the same time the total weight of the device is reduced, simplifying the assembly and disassembly.

    The technical proposal of the utility model is realized in the way: an electric mixed heated SSCR module of the device produces the ammonia, by [...], ammonia material, produces the ammonia device casing, an electric heating rod, the ammonia gas outlet pipe, angle valve, fast interface of the female end, producing ammonia device end gas outlet, fast interface of the male end, the tail gas post-processors, characterized in that cylindrical [...], [...] value are arranged in the rectangular structure inside the casing of the device produces the ammonia, an ammonia tank top and the lower end of the port through the device produces the ammonia of the shell the two ends of the sealing of the shell, use of an ammonia material is filled in the tank interior, the air outlet of the device produces the ammonia in the exhaust gas produces the ammonia device on one side of outer shell of the vertical walls of the transfer, fast interface the female end is located at the other side of the device produces the ammonia of the vertical walls of the outer shell of the lower position, the female end is fast interface produces the ammonia device end gas inlet, an electric heating rod from the [...] above the center of the tank interior is inserted into the ammonia, the ammonia gas outlet pipe is connected with the top surface of the [...], angle valve is connected to the ammonia outlet pipe on the road, the exhaust gas after-treatment of the male end and the fast interface device produces the ammonia fast interface on the housing of the female end connection.

    The [...] has 5L - 40L of the volume, the tank wall thickness is 2 mm - 4 mm.

    The electric heating rod is cylindrical, its diameter is 40 mm - 60 mm, axial length less than the length of the [...] 30 - 40 mm, the heating power of 300W - 600W, with the vehicle-mounted power supply connected to the power supply.

    The produces the ammonia device casing, its internal [...] welding for producing ammonia device middle part of the housing, the outer wall of the device produces the ammonia [...] shell is a minimum distance between the 20 mm - 50 mm.

    The ammonia gas outlet pipe and the inner diameter of 0.5 cm - 1.5 cm, wall thickness is 2 mm - 3 mm.

    The quick interface of the female end is trumpet-shaped, the diameter of the exhaust gas along the direction of the air flow is gradually reduced, large diameter is 140 - 160 mm, the small diameter is 70 - 90 mm, length of 80 - 100 mm; mounted on the processing of the exhaust gas after the fast interface of the male end, along the direction of the air flow and the diameter of the exhaust gas is reduced gradually, large diameter for the 138 - 158 mm and, small diameter is 68 - 88 mm and, length is 80 - 100 mm.

    The produces the ammonia [...] shell and welding together the two ends of the shell has a thickness of 2.5 mm - 4 mm, the thickness of the shell to the other side of the 1.5 mm - 2.5 mm.

    The use of an ammonia synthesis material can be strontium chloride or ammonia synthesis of magnesium chloride or calcium chloride or ammonia synthesis with the NH3 chloride to form a complex.

    The positive effects of the utility model is its simple structure, easily assembled and disassembled. The diameter of the pipe is not inserted, the streamlining of the pipeline connecting component, at the same time from the heat of the end plate of the shell as [...] head, not only saves the head of material also saves the fixing of the partition plate material, the entire device and environment obviously, device to reduce the total weight of 4 kg - 10 kg. The engine exhaust gas and an electric heating rod as the material is heated in an ammonia, has not only fully utilize the energy produced by the engine fuel, and improves the thermal efficiency of the engine, saving fuel consumption, but also has the electric heating rod fast temperature response advantages, combined may be realized by using ammonia gas quick release; this device is suitable for use in the northern cold area of the medium-sized trucks, electrical mixed heated SSCR module produces the ammonia of the SCR device is mounted on the rear side of the post-processors. In -20 °C under cold start conditions, use of an ammonia gas pressure in the tank only 10 min, can meet the SCR system can be normally operated. By this device after the measuring installation, the exhaust flow rate is 1300 kg/h exhaust back pressure only when the rising 3 kPa.

    Description of drawings

    Figure 1 is the chart of the of the present utility model.

    Figure 2 is the cut-off ammonia device over-looking schematic view of the of the present utility model.

    Mode of execution

    The Figure below to further illustrate the utility model as: as shown in Figure 1, 2 is shown, an electrical mixing heated SSCR module of the device produces the ammonia, by [...] 1, ammonia material 2, producing ammonia device casing 3, an electric heating rod 4, the ammonia gas outlet pipe 5, angle valve 6, fast interface of the female end 7, producing ammonia device end gas outlet 8, fast interface male end 9, the exhaust gas post-processor 10 composition, characterized in that [...] 1 cylindrical, [...] 1 value is arranged in the rectangular structure of the apparatus housing produces the ammonia 3 internal, [...] 1 the top end and the lower end of the port through the produces the ammonia device casing 3 the upper and lower ends of the shell sealing, ammonia material 2 is filled in the [...] 1 internal, produces the ammonia device end gas outlet 8 opening in the produces the ammonia device casing 3 on one side of the vertical walls of the transfer, fast interface of the female end 7 produces the ammonia device located in the housing 3 and the other side of the vertical walls of the position lower, fast interface of the female end 7 produces the ammonia from tail gas is the air inlet, an electric heating rod 4 from the [...] 1 inserted into the [...] above the center of the 1 internal, ammonia gas outlet pipe 5 connected to the [...] 1 the top surface of the, angle valve 6 is connected to the ammonia gas outlet pipe 5 on the pipe line, the exhaust gas after-treatment 10 fast interface male end 9 and produces the ammonia device casing 3 fast interface on the female end 7 is connected.

    The [...] 1 has 5L - 40L of the volume, the tank wall thickness is 2 mm - 4 mm.

    The electric heating rod 4 is cylindrical, its diameter is 40 mm - 60 mm, the axial length is smaller than the [...] 1 length of 30 - 40 mm, the heating power of 300W - 600W, with the vehicle-mounted power supply connected to the power supply.

    The produces the ammonia device casing 3, its internal [...] 1 welded producing ammonia device housing 3 of the middle part, [...] 1 produces the ammonia device with the outer wall of the casing 3 is a minimum distance between the 20 mm - 50 mm.

    The ammonia gas outlet pipe 5 and the inner diameter of 0.5 cm - 1.5 cm, wall thickness is 2 mm - 3 mm.

    The quick interface of the female end 7 is trumpet-shaped, the diameter of the exhaust gas along the direction of the air flow is gradually reduced, large diameter is 140 - 160 mm, the small diameter is 70 - 90 mm, length of 80 - 100 mm; mounted in the exhaust gas after-treatment 10 fast interface on the male end 9, along the diameter of the exhaust gas flow direction is reduced gradually, large diameter for the 138 - 158 mm and, small diameter is 68 - 88 mm and, length is 80 - 100 mm.

    The produces the ammonia device casing 3 with the [...] 1 are welded together the two ends of the shell has a thickness of 2.5 mm - 4 mm, the thickness of the shell to the other side of the 1.5 mm - 2.5 mm.

    The use of an material 2 can be ammonia or ammonia synthesis of strontium calcium chloride or magnesium chloride or ammonia synthesis with the NH3 chloride to form a complex.

    The outer wall of the device produces the ammonia [...] shell is a minimum distance between the 20 mm - 50 mm, Figure 2 shown in the S1 regional and S2 for rapid interface area of the female end 7 of the area 3 - 4 times. For the convenience of assembly and disassembly, the exhaust gas post-processor fast interface male end 9 and fast interface of the female end 7 by matching the size of the different diameters of the quick inserting pipe. Heating device installed only by moving the heat removal device, so that the fast interface of the female end 7 and the exhaust gas after the fast on the processor of the interface of the male end 9 are inserted together, and a heat removal device can be fixed to the bracket on the frame of the vehicle, the process saves the mounting flange.

    For manufacturing ammonia device desorption of ammonia gas in the heat from the engine exhaust gas and an electric heating rod 4 to the [...] 1 of the combined heating, the exhaust air temperature usually in 150 °C -450 °C, electric heating rod in 2 min in can be raised to 200 °C. From the exhaust gas after-processor 10 produces the ammonia the tail gas discharged via the fast interface of the female end 7 into the produces the ammonia device housing 3 in, flows through the [...] 1 and produces the ammonia device casing 3 in the region between the, produces the ammonia and the exhaust gas outlet from the device 8 is discharged, thereby realizing the exhaust gas to [...] of enclosed heating, ammonia tank storing the ammonia material 2 reaches the desorption temperature, release of ammonia by ammonia gas outlet pipe derived and enter the system of the next unit. In the low-temperature weather needs of fast [...], start the electric heating rod, can realize rapid release of ammonia. Device when in normal use, angle valve is in the open state, when the device needs to be replaced when the ammonia gas in the exhaustion, angle valve closed.

    The active gas of ammonia gas access and adsorption is achieved by ammonia gas outlet pipe 5 of the. Can adopt the high-purity industrial ammonia bottle, in ventilation under the environment of natural well-ventilated, through the pressure reducing valve and drying system, in the 0.2 - 0.4 mpa pressure within the outlet of the slow pace of sufficient ammonia, sufficient ammonia time is 2 - 3 H-; sufficient ammonia takes the ammonia in the front and the rear of the weighing device, recognizing the ammonia into the net quality within a predetermined range, after the completion of sufficient ammonia, the closing of the valve of the whole system, to ensure that the leakage does not occur.

    The structure in the northern cold area of the medium-sized truck use, electric mixed heated SSCR module produces the ammonia of the SCR device is mounted on the rear side of the post-processors. In -20 °C under cold start conditions, use of an ammonia gas pressure in the tank only 8 min, can meet the SCR system can be normally operated. By this device after the measuring installation, the exhaust flow rate is 1300 kg/h exhaust back pressure only when the rising 3 kPa.

    Product ammonia device of electric hybrid heating formula SSCR module
    展开 >
    说明书附图
    >
    交易服务流程
    >

    挑选中意的板块

    ----

    客服确认选择专利的交易信息和价格并支付相应款项

    办理转让材料

    ----

    协助双方准备相应的材料

    签订协议

    ----

    协助卖家签订协议

    办理备案手续

    ----

    买卖双方达成一致后

    交易完成

    ----

    交易完成可投入使用

    过户资料 & 安全保障 & 承诺信息
    >

    过户资料

    买卖双方需提供的资料
    公司 个人
    买家 企业营业执照
    企业组织机构代码证
    身份证
    卖家 企业营业执照
    专利证书原件
    身份证
    专利证书原件
    网站提供 过户后您将获得
    专利代理委托书
    专利权转让协议
    办理文件副本请求书
    发明人变更声明
    专利证书
    手续合格通知书
    专利登记薄副本

    安全保障

    承诺信息

    我方拟转让所持标的项目,通过中国汽车知识产权交易平台公开披露项目信息和组织交易活动,依照公开、公平、公正和诚信的原则作如下承诺:

    1、本次项目交易是我方真实意思表示,项目标的权属清晰,除已披露的事项外,我方对该项目拥有完全的处置权且不存在法律法规禁止或限制交易的情形;
    2、本项目标的中所涉及的处置行为已履行了相应程序,经过有效的内部决策,并获得相应批准;交易标的涉及共有或交易标的上设置有他项权利,已获得相关权利 人同意的有效文件。
    3、我方所提交的信息发布申请及相关材料真实、完整、准确、合法、有效,不存在虚假记载、误导性陈述或重大遗漏;我方同意平台按上述材料内容发布披露信息, 并对披露内容和上述的真实性、完整性、准确性、合法性、有效性承担法律责任;
    4、我方在交易过程中自愿遵守有关法律法规和平台相关交易规则及规定,恪守信息发布公告约定,按照相关要求履行我方义务;
    5、我方已认真考虑本次项目交易行为可能导致的企业经营、行业、市场、政策以及其他不可预计的各项风险因素,愿意自行承担可能存在的一切交易风险;
    6、我方在平台所组织交易期间将不通过其他渠道对标的项目进行交易;
    7、我方将按照平台收费办法及相关交易文件的约定及时、足额支付相关费用,不因与受让方争议或合同解除、终止等原因拒绝、拖延、减少交纳或主张退还相关费用。