当前位置: 首页> 专利交易> 详情页
    待售中

    一种汽车空调冷暖风门、汽车空调系统及汽车[ZH]

    专利编号: ZL202510270979

    收藏

    拟转化方式: 转让;普通许可;独占许可;排他许可;作价投资;质押融资;开放许可

    交易价格:面议

    专利类型:实用新型专利

    法律状态:授权

    技术领域:电子电器

    发布日期:2025-10-27

    发布有效期: 2025-10-27 至 2028-06-22

    专利顾问 — 王老师

    电话咨询

    咨询电话

    13760886304

    专利基本信息
    >
    申请号 CN201820968595.3 公开号 CN208411354U
    申请日 2018-06-22 公开日 2019-01-22
    申请人 长城汽车股份有限公司 专利授权日期 2019-01-22
    发明人 李文泽;段福海;齐娜;师斌鹏 专利权期限届满日 2028-06-22
    申请人地址 071000 河北省保定市朝阳南大街2266号 最新法律状态 授权
    技术领域 电子电器 分类号 B60H1/00(200601)
    技术效果 轻量化 有效性 有效(授权、部分无效)
    专利代理机构 北京润泽恒知识产权代理有限公司 11319 代理人 莎日娜
    专利技术详情
    >
    01

    专利摘要

    本实用新型提供了一种汽车空调冷暖风门,用于控制汽车空调的冷暖风流向,所述汽车空调冷暖风门包括:并排设置的第一风门和第二风门;所述第一风门和所述第二风门均包括多个平行设置的叶片,所述叶片排列成百叶窗结构,所述叶片可旋转,以调节所述第一风门和所述第二风门的开合角度。本实用新型所述的汽车空调冷暖风门,通过将风门设置成多个叶片排列的百叶窗结构,并通过叶片的旋转调节第一风门和第二风门的开合角度,与现有技术相比,本实用新型实施例的叶片式冷暖风门叶片旋转占用汽车空调箱X方向(整车长度方向)距离较小,节省了空调箱在整车布置上的占用空间,有利于实现空调箱的小型化、轻量化。
    展开 >
    02

    专利详情

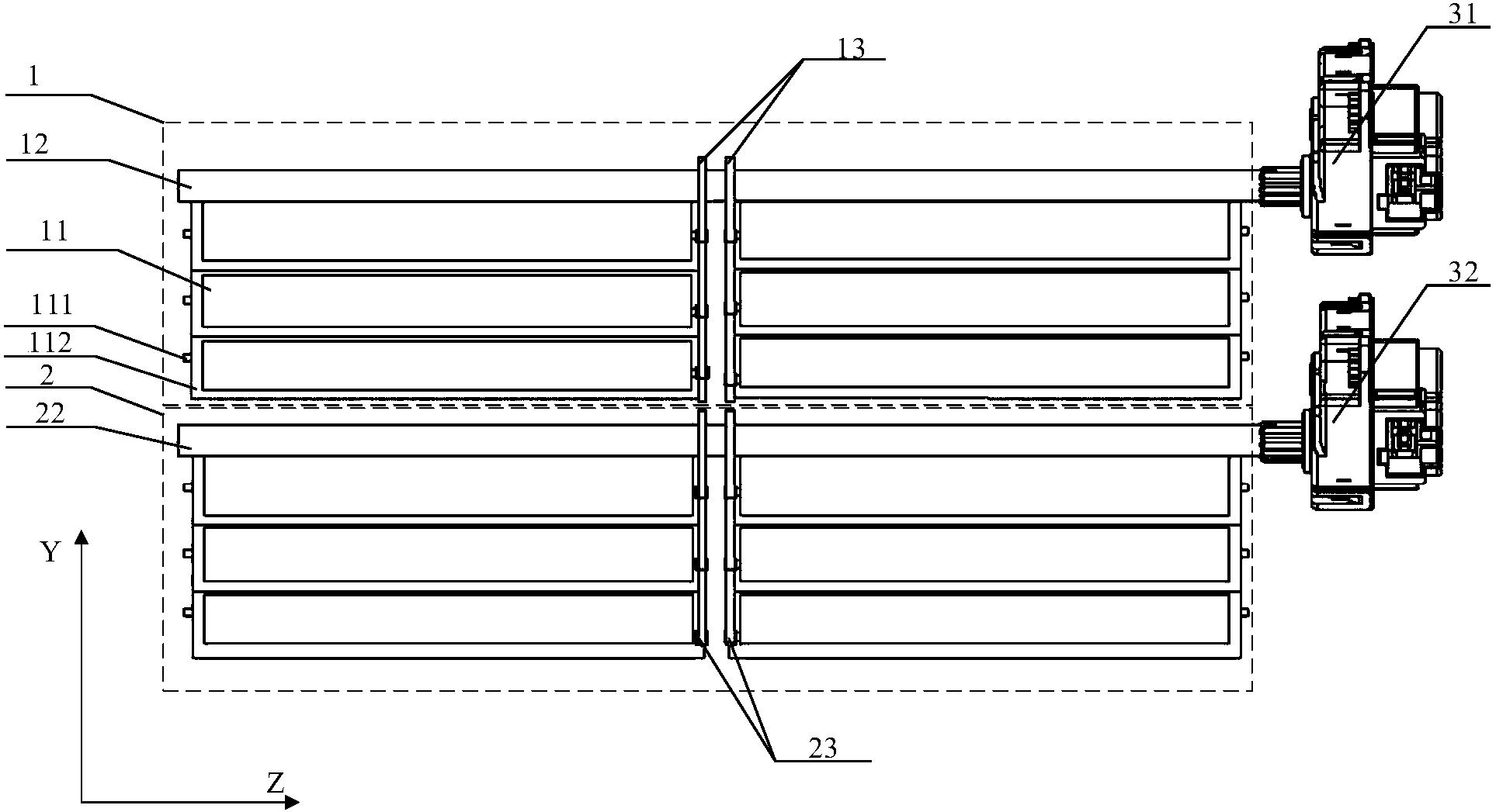
    技术领域 本实用新型涉及汽车空调技术领域,特别涉及一种汽车空调冷暖风门、汽车空调 系统及汽车。 背景技术 随着我国整体汽车产业水平的日益提升,汽车零部件的小型化、轻量化成为汽车 设计的重点。 目前,汽车空调冷暖风门大多采用转动式冷暖风门,如图1所示,通过驱动电机驱 动转动式冷暖风门10转动,以改变冷暖风门的位置而实现制冷、制热功能,但是转动式冷暖 风门在转动过程中占用汽车空调箱的X向(车身长度方向)距离较大,导致空调箱在整车布 置上占用空间较大,给整车布置增加难度。 实用新型内容 有鉴于此,本实用新型旨在提出一种汽车空调冷暖风门、汽车空调系统及汽车,以 降低汽车空调冷暖风门的占用空间,进而减小空调箱在整车上的布置空间。 为达到上述目的,本实用新型的技术方案是这样实现的: 一种汽车空调冷暖风门,用于控制汽车空调的冷暖风流向,所述汽车空调冷暖风 门包括:并排设置的第一风门和第二风门; 所述第一风门和所述第二风门均包括多个平行设置的叶片,所述叶片排列成百叶 窗结构,所述叶片可旋转,以调节所述第一风门和所述第二风门的开合角度。 进一步的,所述第一风门还包括第一运动轴和第一连杆,所述第一风门的叶片均 连接至所述第一连杆上,所述第一连杆上设置有第一齿轮,所述第一运动轴上设置有第二 齿轮,通过所述第一齿轮与所述第二齿轮的啮合以使所述第一运动轴带动所述第一风门的 叶片同时旋转; 所述第二风门还包括第二运动轴和第二连杆,所述第二风门的叶片均连接至所述 第二连杆上,所述第二连杆上设置有第三齿轮,所述第二运动轴上设置有第四齿轮,通过所 述第三齿轮与所述第四齿轮的啮合以使所述第二运动轴带动所述第二风门的叶片同时旋 转。 进一步的,所述第一风门的叶片分设于所述第一连杆的两侧; 所述第二风门的叶片分设于所述第二连杆的两侧。 进一步的,所述叶片上设置有中心轴,所述中心轴连接至所述汽车空调的壳体上, 所述叶片可绕所述中心轴转动。 进一步的,所述叶片的边缘设置有密封机构。 进一步的,所述叶片的材质为聚丙烯,所述密封机构的材质为热塑性橡胶。 进一步的,所述密封机构与所述叶片采用二次注塑工艺成型。 相对于现有技术,本实用新型所述的汽车空调冷暖风门具有以下优势: 本实用新型所述的汽车空调冷暖风门,包括并排设置的第一风门和第二风门,第 一风门和第二风门均包括多个平行设置的叶片,叶片排列成百叶窗结构,且叶片可旋转,以 调节第一风门和第二风门的开合角度。通过将风门设置成多个叶片排列的百叶窗结构,并 通过叶片的旋转调节第一风门和第二风门的开合角度,与现有技术相比,本实用新型实施 例的叶片式冷暖风门叶片旋转占用汽车空调箱X方向(整车长度方向)距离较小,节省了空 调箱在整车布置上的占用空间,有利于实现空调箱的小型化、轻量化。 本实用新型的另一目的在于提出一种汽车空调系统,以降低汽车空调冷暖风门的 占用空间,进而减小空调箱在整车上的布置空间。 为达到上述目的,本实用新型的技术方案是这样实现的: 一种汽车空调系统,包括蒸发芯体、暖风芯体、冷风通道、暖风通道、混风区和上述 汽车空调冷暖风门; 所述蒸发芯体与所述暖风芯体分设于所述汽车空调冷暖风门的两侧,所述冷风通 道位于所述蒸发芯体的一侧,所述暖风通道位于所述暖风芯体的一侧,所述冷风通道与所 述混风区连通,所述第一风门位于所述冷风通道与所述混风区之间,所述暖风通道的一端 与所述冷风通道连通,另一端与所述混风区连通,所述第二风门位于所述冷风通道与所述 暖风通道之间; 所述汽车空调系统与上述所述汽车空调冷暖风门相对于现有技术所具有的优势 相同,在此不再赘述。 本实用新型的另一目的在于提出一种汽车,以降低汽车空调冷暖风门的占用空 间,进而减小空调箱在整车上的布置空间。 为达到上述目的,本实用新型的技术方案是这样实现的: 一种汽车,包括上述汽车空调系统。 所述汽车与上述所述汽车空调冷暖风门相对于现有技术所具有的优势相同,在此 不再赘述。 附图说明 构成本实用新型的一部分的附图用来提供对本发明的进一步理解,本实用新型的 示意性实施例及其说明用于解释本实用新型,并不构成对本实用新型的不当限定。在附图 中: 图1为现有技术的一种汽车空调冷暖风门的位置示意图; 图2为本实用新型实施例的一种汽车空调冷暖风门的结构示意图; 图3为本实用新型实施例的第一齿轮与第二齿轮啮合放大示意图; 图4为本实用新型实施例的汽车空调系统结构示意图。 附图标记说明: 10-转动式冷暖风门,1-第一风门,11-叶片,111-中心轴,112-密封机构,12-第一 运动轴,121-第二齿轮,13-第一连杆,131-第一齿轮,2-第二风门,22-第二运动轴,23-第二 连杆,31-第一电机,32-第二电机,51-蒸发芯体,52-暖风芯体,53-冷风通道,54-暖风通道, 55-混风区。 具体实施方式 需要说明的是,在不冲突的情况下,本实用新型中的实施例及实施例中的特征可 以相互组合。 下面将参考附图并结合实施例来详细说明本实用新型。 本实用新型的汽车空调冷暖风门,用于控制汽车空调的冷暖风流向,参照图2所 示,该汽车空调冷暖风门包括并排设置的第一风门1和第二风门2。 第一风门1和第二风门2均包括多个平行设置的叶片11,叶片11排列成百叶窗结 构,且叶片11可旋转,以调节第一风门1和第二风门2的开合角度。 具体的,第一风门的叶片同时旋转,实现第一风门的开合,第二风门的叶片同时旋 转,实现第二风门的开合,通过分别控制第一风门的叶片与第二风门的叶片的旋转角度,实 现对第一风门和第二风门开合的分别控制,此外,还可以通过控制两个风门的叶片的旋转 角度,以调节进风量。 本实用新型实施例的汽车空调冷暖风门,包括并排设置的第一风门1和第二风门 2,第一风门1和第二风门2均包括多个平行设置的叶片11,叶片11排列成百叶窗结构,且叶 片11可旋转,以调节第一风门1和第二风门2的开合角度。通过将风门设置成多个叶片11排 列的百叶窗结构,并通过叶片11的旋转调节第一风门1和第二风门2的开合角度,节约了风 门占用的空间,与现有技术相比,本实施例的叶片式冷暖风门叶片旋转占用汽车空调箱X方 向(整车长度方向)距离较小,节省了空调箱在整车布置上的占用空间,有利于实现空调箱 的小型化、轻量化。 以图2、图3所示第一风门、第二风门的结构为例,第一风门1和第二风门2可以为沿 列方向(图示Y方向)并排设置,多个叶片11沿Y方向排列成百叶窗结构,叶片11可以绕平行 于图示Z方向的轴进行旋转,以控制两个风门的开合。 具体的,上述第一风门1还包括第一运动轴12和第一连杆13,第一风门1的叶片11 均连接至第一连杆13上,为了方便叶片11的旋转,可以将第一风门1的各叶片11一侧的顶端 或底端通过一短轴固定至第一连杆13上,以使第一连杆13带动第一风门1的叶片11同时转 动。 在第一连杆13上设置有第一齿轮131,在第一运动轴12上设置有与第一齿轮131啮 合的第二齿轮121,第一连杆13与第一运动轴12通过第一齿轮131与第二齿轮121连接,这 样,在第一运动轴12转动,通过第二齿轮121与第一齿轮131啮合,带动第一连杆13运动,第 一连杆13带动第一风门1的所有叶片11同时旋转,实现了对第一风门1开合的控制,通过控 制第一运动轴12旋转的角度,可以控制第一风门1的叶片11的开合角度,从而控制第一风门 1进风量。第一齿轮与第二齿轮啮合的结构可以参照图3所示。 同样的,上述第二风门2还包括第二运动轴22和第二连杆23,第二风门2的叶片11 均连接至第二连杆23上,为了方便叶片11的旋转,可以将第二风门2的各叶片11一侧的顶端 或低端通过一短轴固定至第二连杆23上,以使第二连杆23带动第二风门2的叶片11同时转 动。 在第二连杆23上设置有第三齿轮231,在第二运动轴22上设置有与第三齿轮啮合 的第四齿轮,第二连杆23与第二运动轴22通过第三齿轮与第四齿轮连接,这样,在第二运动 轴22转动,通过第四齿轮与第三齿轮啮合,带动第二连杆23运动,第二连杆23带动第二风门 2的所有叶片11同时旋转,实现了对第二风门2开合的控制,通过控制第二运动轴22旋转的 角度,可以控制第二风门2的叶片11的开合角度,从而控制第二风门2进风量。第一风门1与 第二风门2的结构类似,因此第三齿轮与第四齿轮啮合的结构也可以参照图3所示。 可以理解的是,分别通过第一运动轴12和第二运动轴22的转动以分别控制第一风 门1和第二风门2的开合,第一运动轴12和第二运动轴22可以分别连接至第一电机31和第二 电机32上,通过两个电机分别带动两个运动轴转动。 进一步的,上述第一风门1和第二风门2的叶片均分两列排布,即第一风门1的叶片 11分设于第一连杆13的两侧,第二风门2的叶片11分设于第二连杆23的两侧。这样,第一风 门1和第二风门2的叶片均为两列,分别连接至相应的连杆上,可以防止叶片11过长,影响叶 片旋转效果。 进一步的,为了保证叶片11旋转的稳定性,在叶片11上设置有中心轴111,中心轴 连接至汽车空调的壳体上,以使叶片11可以绕该中心轴111转动。具体的,该中心轴111可以 固定在汽车空调的壳体上,该中心轴111与叶片活动连接,即在叶片11的中心设置有通孔, 该中心轴111贯穿该通孔,以使叶片11可以绕该中心轴111转动;或该中心轴111与叶片11固 定连接,而与壳体活动连接,中心轴111的两端分别位于壳体的安装孔内,且可在该安装孔 内转动,实现叶片11的旋转。 进一步的,为了增加两个风门的密封性,防止漏风,在各叶片11的边缘设置有密封 机构112,该密封机构112的材质可以为热塑性橡胶,叶片11的材质可以为聚丙烯,密封机构 112与叶片11采用二次注塑工艺成型。 通过密封机构112的设置,有利于叶片11与叶片11之间的密封,也有利于叶片11与 汽车空调壳体间的密封。 上述实施例的汽车空调冷暖风门,通过将风门设置成多个叶片11排列的百叶窗结 构,并通过叶片11的旋转调节第一风门1和第二风门2的开合角度,节省占用空间,与现有技 术相比,本实施例的叶片式冷暖风门叶片旋转占用汽车空调箱X方向(整车长度方向)距离 较小,节省了空调箱在整车布置上的占用空间,有利于实现空调箱的小型化、轻量化。 本实用新型还提供一种汽车空调系统的实施例,参照图4所示,该汽车空调系统包 括蒸发芯体51、暖风芯体52、冷风通道53、暖风通道54、混风区55和上述实施例的汽车空调 冷暖风门。 其中,蒸发芯体51与暖风芯体52分设于汽车空调冷暖风门的两侧,冷风通道53位 于蒸发芯体51的一侧,暖风通道54位于暖风芯体52的一侧,冷风通道53与混风区55连通,第 一风门1位于冷风通道53与混风区55之间,暖风通道54的一端与冷风通道53连通,另一端与 混风区55连通,第二风门2位于冷风通道53与暖风通道54之间。 在该汽车空调系统工作过程中,当汽车空调系统设定温度为最低时,汽车空调系 统将最低温度信号反馈给控制第一电机31和第二电机32的控制器,以使第一电机控制第一 风门1的叶片11处于开口最大状态,第一风门1完全打开,第二电机控制第二风门2的叶片11 处于关闭状态,即第二风门2完全关闭,则通过蒸发芯体51降温后的冷风由冷风通道53进入 混风区55,最终进入汽车车厢内。 当汽车空调系统设定温度为最高温度时,汽车空调系统将最高温度信号反馈给控 制第一电机31和第二电机32的控制器,以使第一电机控制第一风门1的叶片11处于关闭状 态,即第一风门1完全关闭,第二电机控制第二风门2的叶片11处于最大开口状态,即第二风 门2完全打开,则通过蒸发芯体51的风进入暖风通道54,再通过暖风芯体52加热后进入混风 区55,最终进入汽车车厢内。 当汽车空调系统设定温度为介于最低温度与最高温度之间时,汽车空调系统将温 度信号反馈给控制第一电机31和第二电机32的控制器,以使第一电机控制第一风门1的叶 片11旋转第一预设角度,第二电机控制第二风门2的叶片11旋转第二预设角度,即第一风门 1和第二风门2各打开一定角度,则通过蒸发芯体51的部分冷风经过冷风通道53后进入混风 区55,通过蒸发芯体51的另一部分冷风进入暖风通道54,再通过暖风芯体52加热后进入混 风区55,冷风与暖风在混风区混合后进入汽车车厢内。 上述实施例的汽车空调系统,通过将汽车空调系统的风门设置成多个叶片11排列 的百叶窗结构,并通过叶片11的旋转调节第一风门1和第二风门2的开合角度,与现有技术 相比,本实施例的叶片式冷暖风门叶片旋转占用汽车空调箱X方向(整车长度方向)距离较 小,节省了空调箱在整车布置上的占用空间,有利于实现空调箱的小型化、轻量化,并且,通 过分别调节两个风门叶片的旋转角度,控制冷风通道、暖风通道与混风区的连通,有利于汽 车车厢内温度的调整。 此外,本实用新型还提供了一种汽车,包括上述实施例的汽车空调系统。 采用上述汽车空调系统的汽车也具有上述优点,在此不再赘述。 以上所述仅为本实用新型的较佳实施例而已,并不用以限制本实用新型,凡在本 实用新型的精神和原则之内,所作的任何修改、等同替换、改进等,均应包含在本实用新型 的保护范围之内。 一种汽车空调冷暖风门、汽车空调系统及汽车
    展开 >
    说明书附图
    >
    交易服务流程
    >

    挑选中意的板块

    ----

    客服确认选择专利的交易信息和价格并支付相应款项

    办理转让材料

    ----

    协助双方准备相应的材料

    签订协议

    ----

    协助卖家签订协议

    办理备案手续

    ----

    买卖双方达成一致后

    交易完成

    ----

    交易完成可投入使用

    过户资料 & 安全保障 & 承诺信息
    >

    过户资料

    买卖双方需提供的资料
    公司 个人
    买家 企业营业执照
    企业组织机构代码证
    身份证
    卖家 企业营业执照
    专利证书原件
    身份证
    专利证书原件
    网站提供 过户后您将获得
    专利代理委托书
    专利权转让协议
    办理文件副本请求书
    发明人变更声明
    专利证书
    手续合格通知书
    专利登记薄副本

    安全保障

    承诺信息

    我方拟转让所持标的项目,通过中国汽车知识产权交易平台公开披露项目信息和组织交易活动,依照公开、公平、公正和诚信的原则作如下承诺:

    1、本次项目交易是我方真实意思表示,项目标的权属清晰,除已披露的事项外,我方对该项目拥有完全的处置权且不存在法律法规禁止或限制交易的情形;
    2、本项目标的中所涉及的处置行为已履行了相应程序,经过有效的内部决策,并获得相应批准;交易标的涉及共有或交易标的上设置有他项权利,已获得相关权利 人同意的有效文件。
    3、我方所提交的信息发布申请及相关材料真实、完整、准确、合法、有效,不存在虚假记载、误导性陈述或重大遗漏;我方同意平台按上述材料内容发布披露信息, 并对披露内容和上述的真实性、完整性、准确性、合法性、有效性承担法律责任;
    4、我方在交易过程中自愿遵守有关法律法规和平台相关交易规则及规定,恪守信息发布公告约定,按照相关要求履行我方义务;
    5、我方已认真考虑本次项目交易行为可能导致的企业经营、行业、市场、政策以及其他不可预计的各项风险因素,愿意自行承担可能存在的一切交易风险;
    6、我方在平台所组织交易期间将不通过其他渠道对标的项目进行交易;
    7、我方将按照平台收费办法及相关交易文件的约定及时、足额支付相关费用,不因与受让方争议或合同解除、终止等原因拒绝、拖延、减少交纳或主张退还相关费用。