当前位置: 首页> 专利交易> 详情页
    待售中

    一种变速器选换挡定位手感机构[ZH]

    专利编号: ZL202511240002

    收藏

    拟转化方式: 转让;普通许可;排他许可;作价投资;质押融资;开放许可

    交易价格:面议

    专利类型:发明专利

    法律状态:授权

    技术领域:变速器

    发布日期:2025-11-24

    发布有效期: 2025-11-24 至 2037-05-24

    专利顾问 — 王老师

    电话咨询

    咨询电话

    13760886304

    专利基本信息
    >
    申请号 CN201710375596.7 公开号 CN107420533A
    申请日 2017-05-24 公开日 2017-12-01
    申请人 陕西法士特齿轮有限责任公司 专利授权日期 2023-06-02
    发明人 章刚;王连鑫 专利权期限届满日 2037-05-24
    申请人地址 710119 陕西省西安市高新区长安产业园西部大道129号 最新法律状态 授权
    技术领域 变速器 分类号 F16H59/02
    技术效果 其他技术效果 有效性 有效(授权、部分无效)
    专利代理机构 西安通大专利代理有限责任公司 61200 代理人
    专利技术详情
    >
    01

    专利摘要

    本发明公开了一种变速器选换挡定位手感机构,选换挡拨头一侧设置有开口凹槽,凹槽内部中心孔内装有弹簧,凹槽顶部及底部边缘设置有若干半圆槽;凹槽内上下设置有两个换档手感块,换档手感块之间左右对称设置有两个选倒档手感块,两个选倒档手感块之间设置有两个选档手感块;弹簧与两个选档手感块内端弹性接触;换档手感块、选档手感块、选倒档手感块分别通过贯穿凹槽顶部及底部的螺栓组件进行固定;手感柱销总成与凹槽相对设置,手感柱销总成包括顶销和螺母,顶销和螺母之间设置有圆柱弹簧,顶销的端部设置有滚动钢球;滚动钢球与凹槽上的部件接触。该结构大幅改善变速器选换挡系统性能,提升驾驶员在行驶过程中选换挡舒适度。
    展开 >
    02

    专利详情

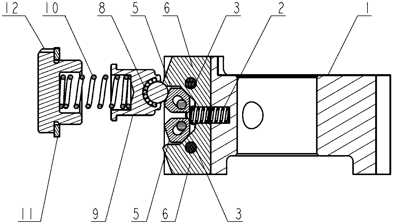
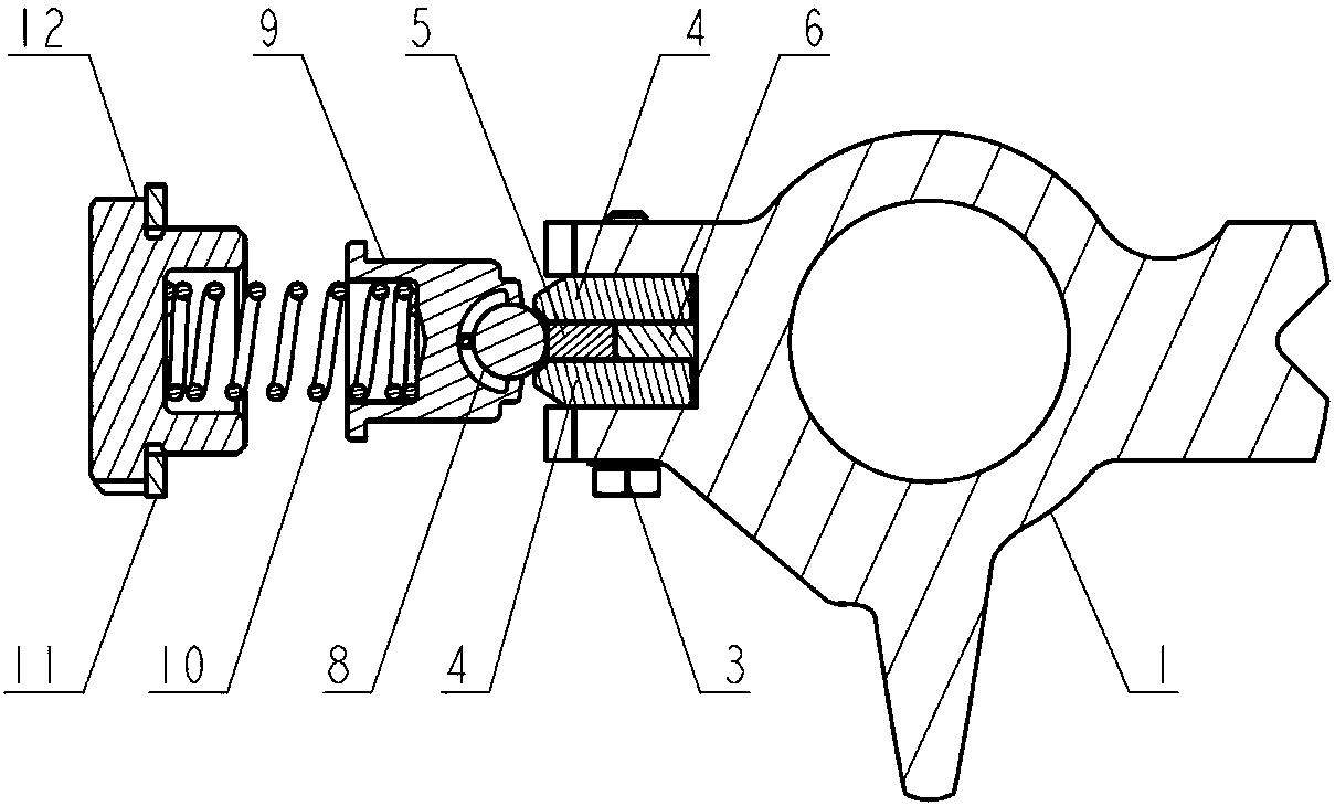
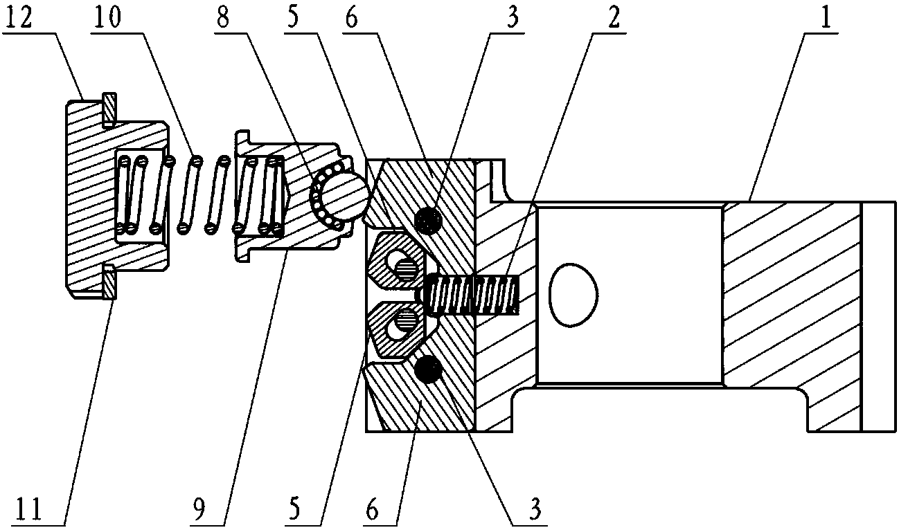
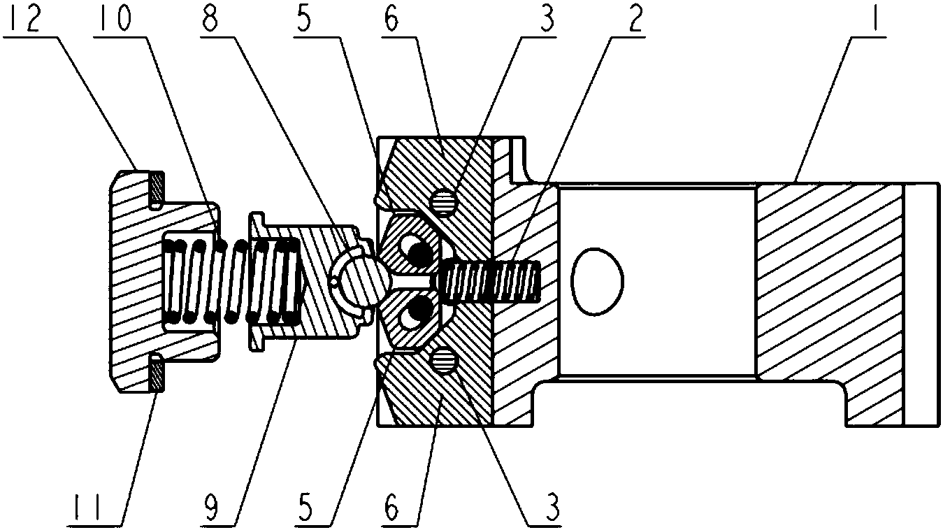
    技术领域 本发明涉及变速器技术领域,具体地说是一种变速器选换挡定位手感机构。 背景技术 随着产品的日益国际化、高端化,用户对公司生产的变速器质量要求和性能要求 越来越高,其中选换挡吸入感、摘挡自动精准回位是变速器选换挡舒适性最重要的性能指 标。 发明内容 为解决现有技术存在的问题,本发明提供一种变速器选换挡定位手感机构。该结 构具有增加选换挡吸入感、提升选挡清晰度、减小空挡及在档位间隙特点。 为实现上述目的,本发明采用以下技术方案: 一种变速器选换挡定位手感机构,包括选换挡拨头和手感柱销总成; 所述的选换挡拨头一侧设置有开口凹槽,开口凹槽内部中心孔内装有第一弹性元 件,开口凹槽顶部及底部边缘设置有若干半圆槽;开口凹槽内上下设置有两个换档手感块, 两个换档手感块之间左右对称设置有两个选倒档手感块,两个选倒档手感块之间左右对称 设置有两个选档手感块;所述的第一弹性元件与两个选档手感块内端弹性接触;换档手感 块、选档手感块、选倒档手感块分别通过贯穿开口凹槽顶部及底部的螺栓组件进行固定; 所述的手感柱销总成与开口凹槽相对设置,手感柱销总成包括顶销和固定座,顶 销和固定座之间设置有第二弹性元件,顶销的端部设置有滚动钢球;选换挡拨头在选档和 换挡过程中,开口凹槽上的部件与滚动钢球接触压缩第二弹性元件产生手感力。 所述的换档手感块为长方块结构,其内侧长边与开口凹槽内壁平齐,其外侧长边 缘为圆弧结构,且圆弧结构伸出开口凹槽外边缘;所述的选倒档手感块内侧与开口凹槽内 壁平齐,其外侧设置凸起,两个选倒档手感块之间形成第一槽;所述的选档手感块与第一槽 间隙配合,选档手感块外侧设置有尖端。 两个尖端之间形成用于定位空挡的第二槽;一侧的尖端和凸起之间形成用于定位 1、2档的第三槽,凸起外侧形成用于定位倒挡的第四槽,另一侧的尖端和凸起之间形成用于 定位5、6档的第五槽。 开口凹槽顶部及底部边缘的半圆槽数量均为四个,且上下对应设置;四个半圆槽 依次对应第四槽、第三槽、第二槽和第五槽。 当变速器处于空挡位置时,选换挡拨头内部第一弹性元件与手感柱销总成位于同 一中心位置,滚动钢球设置在第二槽内,选档手感块设置在第一槽的底部,第一弹性元件处 于压缩状态,第二弹性元件处于压缩状态。 所述的第一槽内壁为斜面,选档手感块与第一槽结构向匹配,两个选档手感块留 有间隙。 所述的选档手感块上的通孔与螺栓组件间隙配合。 所述的半圆槽的直径小于滚动钢球的直径。 所述的第一弹性元件和第二弹性元件均为弹簧。 所述的固定座与变速器壳体连接,选换挡拨头与变速器的选换挡轴连接。 本发明与现有技术相比,具有以下优点: 本发明的是针对变速器原有选挡结构存在无选挡吸入感、换挡吸入感弱、选挡清 晰度低且空挡及在档位间隙大等情况而提出。提出一种通过手感柱销总成调节选换挡拨头 具有手感力的装置,以提升已有变速器产品选换挡系统性能。在变速器操纵装置合适位置 安装手感柱销总成与具有手感块结构的选换挡拨头互相配合,通过弹性件与各个挡块的接 触产生弹性力(反馈给用户为手感力)最终达到增加选换挡吸入感、提升选挡清晰度、减小 空挡及在档位间隙目的。大幅改善变速器选换挡系统性能,提升驾驶员在行驶过程中选换 挡舒适度。对拨头及操纵壳体毛坯进行略微更改,有较高的经济效益和社会效益。 进一步,此机构通过设置换档手感块、选档手感块、选倒档手感块,使得选换挡拨 头在选档和换挡时具有选换挡吸入感,选挡清晰度高,空挡及在档位间隙小,大幅改善变速 器选换挡系统性能,提升驾驶员在行驶过程中选换挡舒适度。 附图说明 图1-1为变速器选换挡定位手感机构总成图; 图1-2变速器选换挡定位手感机构爆炸图; 图2-1空挡位置时竖向剖视图; 图2-2空挡位置时横向剖视图; 图3-1选1/2档位置时竖向剖视图; 图3-2选1/2档位置时横向剖视图; 图4选倒档位置时横向剖视图; 图5挂任意档位置时剖视图; 其中,1.选换挡拨头;2.第一弹性元件(弹簧);3.螺栓组件;4.换档手感块;5.选档 手感块;6.选倒档手感块;7.手感柱销总成;8.滚动钢球;9.顶销;10.第二弹性元件(圆柱弹 簧);11.垫圈;12.固定座(螺母);13.半圆槽;14.开口凹槽14。 具体实施方式 下面结合附图对本发明作详细描述: 如图1-1和图1-2所示,一种变速器选换挡定位手感机构包括选换挡拨头1,其结构 是在选换挡拨头1合适位置加工一处开口凹槽14,在开口凹槽14内部中心位置加工一孔,孔 内装有弹簧(第一弹性元件)2。在开口凹槽14顶部及底部合适外置加工两螺纹通孔用于安 装六角头螺栓和弹簧垫圈组合件3。在开口凹槽14顶部及底部边缘合适位置各加工若干半 圆槽用于定位减少在档位间隙。开口凹槽14内按装配关系依次安装换档手感块4、选档手感 块5、选倒档手感块6。在合适位置增加手感柱销总成7,手感柱销总成7由内向外依次装配带 滚动钢球8的顶销9,圆柱弹簧(第二弹性元件)10,垫圈11及螺母12。选换挡拨头1在选档和 换挡过程中,开口凹槽14上的部件与滚动钢球8接触压缩第二弹性元件10产生手感力。 如图1-2所示,换档手感块4为长方块结构,其内侧长边与开口凹槽14内壁平齐,其 外侧长边缘为圆弧结构,且圆弧结构伸出开口凹槽14外边缘;所述的选倒档手感块6内侧与 开口凹槽14内壁平齐,其外侧设置凸起,两个选倒档手感块6之间形成第一槽;所述的选档 手感块5与第一槽间隙配合,选档手感块5外侧设置有尖端。两个尖端之间形成用于定位空 挡的第二槽;一侧的尖端和凸起之间形成用于定位1、2档的第三槽,凸起外侧形成用于定位 倒挡的第四槽,另一侧的尖端和凸起之间形成用于定位5、6档的第五槽。开口凹槽14顶部及 底部边缘的半圆槽13数量均为四个,且上下对应设置;四个半圆槽依次对应第四槽、第三 槽、第二槽和第五槽。第一槽内壁为斜面,选档手感块5与第一槽结构向匹配,两个选档手感 块5留有间隙。 当变速器处于空挡位置时,选换挡拨头1内部第一弹性元件2与手感柱销总成7位 于同一中心位置,滚动钢球8设置在第二槽内,选档手感块5设置在第一槽的底部,第一弹性 元件2处于压缩状态,第二弹性元件10处于压缩状态。第一弹性元件2和第二弹性元件10均 为弹簧。 选档手感块5上的通孔与螺栓组件3间隙配合。半圆槽13的直径小于滚动钢球8的 直径。固定座12与变速器壳体连接,选换挡拨头1与变速器的选换挡轴连接。 结合图2-1至图5,本发明具体的换挡原理如下: (1)当选换挡拨头1处于空挡位置时手感柱销总成7与选换挡拨头1开口凹槽14内 孔同心。当选换挡拨头1受到外力作用轴向移动时,加工有长槽孔的选档手感块5在顶销9作 用下,在换档手感块4凸台圆柱上向拨头开口凹槽14内部移动从而压缩开口凹槽14孔内弹 簧2。选倒档手感块6及换档手感块4通过六角头螺栓固定于选换挡拨头1开口凹槽14内。 (2)在选换挡拨头1由空挡选择1/2档或倒档过程中,选换挡拨头1在外力作用下轴 向移动,选档手感块5及选倒档手感块6与带滚动钢球8的顶销相对滑动,此时选档手感块5 与选换挡拨头1相对静止,顶销滑至选档手感块5及选倒档手感块6顶部后形成选挡吸入感; 在选换挡拨头1由1/2档或倒档退回空挡过程中,选档手感块5在带滚动钢球8的顶销9的作 用下沿换档手感块4的凸台圆柱压缩开口凹槽14孔内弹簧向选换挡拨头1开口凹槽14内部 移动,使选换挡拨头1能轻松精准回到空挡位置,同时开口凹槽14孔内弹簧2将选档手感块5 恢复至初始位置。 (3)在选换挡拨头1挂任意档位过程中,选换挡拨头1在外力作用下进行旋转,换档 手感块4与带滚动钢球8的顶销9相对滑动,带滚动钢球8的顶销9滑至换档手感块4的斜槽顶 部后形成换挡吸入感。当选换挡拨头1挂到任意档位时,带滚动钢球8的顶销恰好指向半圆 槽,进而顶销对拨头上半圆槽进行限位,最终达到减小在档位间隙目的。 本发明的工作过程如下: 当变速器处于空挡位置(如图1-1)时,选换挡拨头1内部弹簧2与手感柱销总成7位 于同一中心位置。 当变速器由空挡(如图2-2)选择1/2档(如图3-2)过程中,选换挡拨头1在外力作用 下轴向移动,选档手感块5与带滚动钢球8的顶销9相对滑动,此时选档手感块5与选换挡拨 头1相对静止,顶销9滑至选档手感块5顶部后形成选挡吸入感。 当变速器由1/2档(如图3-2)退回空挡(如图2-2)过程中,选档手感块5在带滚动钢 球8的顶销9的作用下沿换档手感块4的凸台圆柱压缩开口凹槽14孔内弹簧2向选换挡拨头1 开口凹槽14内部移动,使选换挡拨头1能轻松精准回到空挡位置,同时开口凹槽14孔内弹簧 2将选档手感块5恢复至初始位置。 当变速器由空挡(如图2-2)选择倒档(如图4)过程中,选换挡拨头1在外力作用下 轴向移动,选倒档手感块6与带滚动钢球8的顶销9相对滑动,此时选倒档手感块6与选换挡 拨头1相对静止,顶销9滑至选倒档手感块6顶部后形成选挡吸入感。 当变速器由倒档(如图4)退回空挡(如图2-2)过程中,虽然带滚动钢球8的顶销9对 选换挡拨头1回位有一定阻力,但选倒挡位移大,使选换挡拨头1也能轻松越过选倒档手感 块6,并重复由1/2档退回空挡步骤,最终精准回到空挡位置。 当变速器由空档(如图2-2)挂任意档位(如图5)过程中,选换挡拨头1在外力作用 下进行旋转,换档手感块4与带滚动钢球8的顶销9相对滑动,带滚动钢球8的顶销9滑至换档 手感块4的斜槽顶部后形成换挡吸入感。 当选换挡拨头1挂到任意档位(如图5)时,带滚动钢球8的顶销9恰好指向半圆槽, 进而顶销9对拨头上半圆槽进行限位,最终达到减小在档位间隙目的。 以上,仅为本发明的较佳实施例,并非仅限于本发明的实施范围,凡依本发明范围 的内容所做的等效变化和修饰,都应为本发明的技术范畴。 一种变速器选换挡定位手感机构
    展开 >
    说明书附图
    >
    交易服务流程
    >

    挑选中意的板块

    ----

    客服确认选择专利的交易信息和价格并支付相应款项

    办理转让材料

    ----

    协助双方准备相应的材料

    签订协议

    ----

    协助卖家签订协议

    办理备案手续

    ----

    买卖双方达成一致后

    交易完成

    ----

    交易完成可投入使用

    过户资料 & 安全保障 & 承诺信息
    >

    过户资料

    买卖双方需提供的资料
    公司 个人
    买家 企业营业执照
    企业组织机构代码证
    身份证
    卖家 企业营业执照
    专利证书原件
    身份证
    专利证书原件
    网站提供 过户后您将获得
    专利代理委托书
    专利权转让协议
    办理文件副本请求书
    发明人变更声明
    专利证书
    手续合格通知书
    专利登记薄副本

    安全保障

    承诺信息

    我方拟转让所持标的项目,通过中国汽车知识产权交易平台公开披露项目信息和组织交易活动,依照公开、公平、公正和诚信的原则作如下承诺:

    1、本次项目交易是我方真实意思表示,项目标的权属清晰,除已披露的事项外,我方对该项目拥有完全的处置权且不存在法律法规禁止或限制交易的情形;
    2、本项目标的中所涉及的处置行为已履行了相应程序,经过有效的内部决策,并获得相应批准;交易标的涉及共有或交易标的上设置有他项权利,已获得相关权利 人同意的有效文件。
    3、我方所提交的信息发布申请及相关材料真实、完整、准确、合法、有效,不存在虚假记载、误导性陈述或重大遗漏;我方同意平台按上述材料内容发布披露信息, 并对披露内容和上述的真实性、完整性、准确性、合法性、有效性承担法律责任;
    4、我方在交易过程中自愿遵守有关法律法规和平台相关交易规则及规定,恪守信息发布公告约定,按照相关要求履行我方义务;
    5、我方已认真考虑本次项目交易行为可能导致的企业经营、行业、市场、政策以及其他不可预计的各项风险因素,愿意自行承担可能存在的一切交易风险;
    6、我方在平台所组织交易期间将不通过其他渠道对标的项目进行交易;
    7、我方将按照平台收费办法及相关交易文件的约定及时、足额支付相关费用,不因与受让方争议或合同解除、终止等原因拒绝、拖延、减少交纳或主张退还相关费用。