当前位置: 首页> 专利交易> 详情页
    待售中

    一种安全轮胎[ZH]

    专利编号: ZL202601200001

    收藏

    拟转化方式: 转让;普通许可;独占许可;排他许可;作价投资

    交易价格:面议

    专利类型:发明专利

    法律状态:授权

    技术领域:悬架系统

    发布日期:2026-01-06

    发布有效期: 2026-01-06 至 2041-08-23

    专利顾问 — 伍先生

    微信咨询

    扫码微信咨询

    电话咨询

    咨询电话

    18273488208

    专利基本信息
    >
    申请号 CN202110965226.5 公开号 CN113442652A
    申请日 2021-08-23 公开日 2021-09-28
    申请人 冯骞纬 专利授权日期 2022-06-03
    发明人 冯骞纬 专利权期限届满日 2041-08-23
    申请人地址 750004 宁夏回族自治区银川市金凤区阅海万家 最新法律状态 授权
    技术领域 悬架系统 分类号 B60C5/20
    技术效果 可靠性 有效性 有效(授权、部分无效)
    专利代理机构 代理人
    专利技术详情
    >
    01

    专利摘要

    本专利公开了一种安全轮胎,轮胎内的中面将其分为相互交错的两个或多个腔体,一侧或部分腔体漏气后,另一侧或另一部分腔体在气压作用下支撑轮胎,防止轮胎瞬间出现严重变形导致车辆失控,同时还可撑起其间漏气腔体的胎面,使轮胎保持较大的地面接触面积。
    展开 >
    02

    专利详情

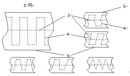
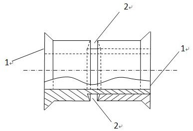
    一种安全轮胎技术领域本专利涉及交通领域,具体涉及一种充气轮胎。背景技术轮胎是车辆行驶的重要保障。普通充气轮胎易因漏气引发爆胎等安全事故,现有的一些双腔安全轮胎在漏气后仅由一侧的胎体进行支撑,其地面接触面积极大地降低。发明内容为解决上述技术问题,本专利提供一种安全轮胎,由相互交错的两个或多个腔体组成,一侧或部分腔体漏气后,由另一侧或另一部分腔体在气压作用下支撑轮胎,防止轮胎瞬间出现严重变形导致车辆失控,同时能使轮胎保持较大的地面接触面积。本专利采用的技术方案是:一种安全轮胎,包括,由左、右两部分组成并将中面夹紧的轮毂,所述中面与胎面内侧相连、靠近所述胎面的部分为波形环状曲面或其变形体,靠近所述轮毂的部分为环状平面或所述波形环状曲面或其变形体的延伸面,所述轮毂的左、右两部分分别有气门咀口。上述的一种安全轮胎,所述波形环状曲面或其变形体的波峰或对应波峰的位置、波谷或对应波谷的位置分别与所述轮胎侧面重合。上述的一种安全轮胎,所述波形环状曲面或其变形体的波峰或对应波峰的位置、波谷或对应波谷的位置与所述轮胎侧面重合,所述波形环状曲面或其变形体的波峰或对应波峰的位置与所述中面之间、波谷或对应波谷的位置与所述中面之间分别由紧贴所述轮毂的连接面相连,每2个相邻所述连接面之间有1个所述气门咀口的内口,所述左轮毂内有连通所述左轮毂上的气门咀口的通道,所述右轮毂内有连通所述右轮毂上的气门咀口的通道,所述轮毂与所述轮胎有径向定位的装置或标志。上述的一种安全轮胎,所述波形环状曲面或其变形体与所述轮胎侧面不相连,所述波形环状曲面或其变形体的波峰或对应波峰的位置与所述中面之间、波谷或对应波谷的位置与所述中面之间分别由紧贴所述轮毂的所述连接面相连,所述气门咀口的内口错开所述连接面,所述气门咀口的内口在所述波形环状曲面或其变形体所对位置内时,所述轮毂与所述轮胎有径向定位的装置或标志。本专利的有益效果是,本专利轮胎内的中面将其分为相互交错的两个或多个腔体,一侧或部分腔体漏气后,另一侧或另一部分腔体在气压作用下支撑轮胎,防止轮胎瞬间出现严重变形导致车辆失控,同时还可撑起其间漏气腔体的胎面,使轮胎保持较大的地面接触面积。附图说明下面结合附图和实施例对本专利进一步说明。图1、图2为轮毂示意图;图3为中面靠近胎面部分为方波形环状曲面、靠近轮毂部分为环状平面、与轮胎侧面不相连的轮胎示意图;图4为中面靠近轮毂部分为环状平面的轮胎示意图;图5为中面为方波形环状曲面、与轮胎侧面不相连的轮胎示意图;图6为中面靠近轮毂部分为方波形环状曲面的轮胎示意图;图7为中面为方波形环状曲面、与轮胎侧面不相连、方波形环状曲面波峰(波谷)与中面之间分别由紧贴轮毂的连接面相连的轮胎示意图;图8为中面与轮胎侧面不相连的轮胎D向视图;图9为中面靠近胎面部分为方波形环状曲面、靠近轮毂部分为环状平面、与轮胎侧面相连的轮胎示意图;图10为中面为方波形环状曲面、与轮胎侧面相连的轮胎示意图;图11为中面为方波形环状曲面、与轮胎侧面相连、方波形环状曲面波峰(波谷)与中面之间分别由紧贴轮毂的连接面相连的轮胎示意图;图12为中面与轮胎侧面相连的轮胎D向视图。图中:1.轮毂,2.轮毂夹槽,3.环状平面,4.波形环状曲面或其变形体,5.轮胎侧面,6.胎面,7.连接面。具体实施方式【实施例1】如图1、2所示,左轮毂1与右轮毂1套合(套合后用螺栓固定。也可不采用套合方式,直接用高强度螺栓连接)为一个完整的轮毂1(左轮毂1或右轮毂1与轮辐相连,或左、右轮毂1同时与轮辐相连),套合处有轮毂夹槽2。轮毂1与轮胎组合时:左轮毂1、右轮毂1分别从轮胎左、右两侧套入,左轮毂1与右轮毂1结合时,中面进入轮毂夹槽2(可在轮毂夹槽2靠近车轴一侧设置观察孔,便于中面准确进入轮毂夹槽2并确认其安装到位)。左、右轮毂1固定在一起的同时,中面被轮毂夹槽2夹紧(轮毂夹槽2截面的形状不限于各附图中所示的梯形,还可以为可夹紧中面的其他多边形或椭圆形)。中面与轮毂夹槽2紧密结合、轮胎左右侧面5分别与轮毂1的左右凸缘紧密结合(与普通真空轮胎同理),使轮胎左、右腔体形成密闭空间(为简化视图,图3、5、7、9、10、11中未示出轮毂凸缘)。左、右腔体的气门咀外口分别设在左、右轮毂1靠近车轴一侧任意位置(为便于充气,可在轮毂1上设置通道将一侧轮毂1的气门咀外口引至另一侧轮毂1)。实施例2、3、4、5、6同理。如图3、4所示,被轮毂夹槽2夹紧的中面向胎面6方向延伸出环状平面3,环状平面3向胎面6方向延伸出(逐渐拉伸或逐渐变形为波形环状曲面4,或通过中间面连接环状平面3与方波形环状曲面4,以下各实施例同理)方波形环状曲面4(如图8中左上图所示,方波形环状曲面4在胎面6上的投影为方波型曲线,以下各实施例同理),方波形环状曲面4与胎面6内侧相连、与轮胎侧面5不相连。环状平面3、方波形环状曲面4、胎面6内侧、轮胎左侧面5、左轮毂1围成一个闭合空间(即左腔体),气门咀内口设在左轮毂1靠近轮胎一侧任意位置(与左腔体相通);环状平面3、方波形环状曲面4、胎面6内侧、轮胎右侧面5、右轮毂1围成另一闭合空间(即右腔体),气门咀内口设在右轮毂1靠近轮胎一侧任意位置(与右腔体相通);左、右腔体靠近胎面6的部分相互交错(为便于观看,图3、5、7、9、10、11中左下图、右图将交错在一起的左、右腔体拆开分别表示,图7、11中右上的C向视图被轮毂夹槽2夹紧的中面在拆开的左、右腔体上分段表示<实际为相连的同一平面>)。当轮胎一侧的腔体漏气时,另一侧腔体在气压作用下支撑轮胎,防止轮胎瞬间出现严重变形导致车辆失控;左、右腔体靠近胎面6的部分相互交错,未漏气腔体在支撑其组成面胎面6的同时,还可撑起交错其间的漏气腔体的组成面胎面6,使轮胎保持较大的地面接触面积。实施例2、3、4、5同理。【实施例2】如图5、6所示,被轮毂夹槽2夹紧的中面向胎面6方向延伸出方波形环状曲面4(如图8中左上图所示),方波形环状曲面4与胎面6内侧相连、与轮胎侧面5不相连。方波形环状曲面4、胎面6内侧、轮胎左侧面5、左轮毂1围成左腔体,气门咀内口设在左轮毂1靠近轮胎一侧任意位置(与左腔体相通);方波形环状曲面4、胎面6内侧、轮胎右侧面5、右轮毂1围成右腔体,气门咀内口设在右轮毂1靠近轮胎一侧任意位置(与右腔体相通);左、右腔体靠近胎面6的部分相互交错。【实施例3】如图7、6所示,被轮毂夹槽2夹紧的中面向胎面6方向延伸出方波形环状曲面4(如图8中左上图所示),方波形环状曲面4与胎面6内侧相连、与轮胎侧面5不相连;方波形环状曲面4的波峰与中面之间由矩形连接面7相连,连接面7紧贴右轮毂1;方波形环状曲面的4波谷与中面之间的矩形连接面7紧贴左轮毂1。紧贴右轮毂1的矩形连接面7、方波形环状曲面4、胎面6内侧、轮胎左侧面5、左轮毂1围成左腔体,气门咀内口设在左轮毂1靠近轮胎一侧、错开紧贴左轮毂1的矩形连接面7、与左腔体相通)、;紧贴左轮毂1的矩形连接面7、方波形环状曲面4、胎面6内侧、轮胎右侧面5、右轮毂1围成右腔体,气门咀内口设在右轮毂1靠近轮胎一侧、错开紧贴右轮毂1的矩形连接面7、与右腔体相通;左、右腔体相互交错。气门咀内口错开矩形连接面7分为2种情况:一是在方波形环状曲面4在轮毂1上投影的波峰、波谷范围以外任意位置;二是在方波形环状曲面4在轮毂1上投影的波峰、波谷之间,错开矩形连接面7。第二种情况下,需在轮毂1和轮胎分别设置对应的径向定位装置(如:定位槽和定位凸起)或径向定位标志,以确保气门咀内口错开矩形连接面7,实施例6中气门咀内口错开矩形连接面7同理。上述实施例1、2、3中的方波形环状曲面4还可替换为图8所示的其它波形环状曲面或波形环状曲面的变形体(即替换面在胎面6上的投影为其他波形曲线或波形曲线的变形体),分别与轮胎、轮毂1的对应部位组成左、右腔体(分别参照实施例1、2、3。实施例3中的矩形连接面7根据替换的波形环状曲面或波形环状曲面的变形体变换为对应形状的连接面7,即波峰<波谷>或对应波峰<波谷>的位置与中面之间、紧贴轮毂的相连面)。【实施例4】如图9、4所示,被轮毂夹槽2夹紧的中面向胎面6方向延伸出环状平面3,环状平面3向胎面6方向延伸出方波形环状曲面4(如图12中左上图所示),方波形环状曲面4与胎面6内侧、轮胎侧面5相连(方波形环状曲面4的波峰、波谷部分分别与轮胎侧面5重合,重合部分为轮胎侧面5)。环状平面3、方波形环状曲面4、轮胎右侧面5靠近胎面6的部分、胎面6内侧、轮胎左侧面5、左轮毂1围成左腔体,气门咀内口设在左轮毂1靠近轮胎一侧任意位置(与左腔体相通);环状平面3、方波形环状曲面4、轮胎左侧面5靠近胎面6的部分、胎面6内侧、轮胎右侧面5、右轮毂1围成右腔体,气门咀内口设在右轮毂1靠近轮胎一侧任意位置(与右腔体相通);左、右腔体靠近胎面6的部分相互交错。【实施例5】如图10、6所示,被轮毂夹槽2夹紧的中面向胎面6方向延伸出方波形环状曲面4(如图12中左上图所示),方波形环状曲面4与胎面6内侧、轮胎侧面5相连(方波形环状曲面4的波峰、波谷部分分别与轮胎侧面5重合,重合部分为轮胎侧面5)。方波形环状曲面4、轮胎右侧面5靠近胎面6的部分、胎面6内侧、轮胎左侧面5、左轮毂1围成左腔体,气门咀内口设在左轮毂1靠近轮胎一侧任意位置(与左腔体相通);方波形环状曲面4、轮胎左侧面5靠近胎面6的部分、胎面6内侧、轮胎右侧面5、右轮毂1围成右腔体,气门咀内口设在右轮毂1靠近轮胎一侧任意位置(与右腔体相通);左、右腔体靠近胎面6的部分相互交错。【实施例6】如图11、6所示,被轮毂夹槽2夹紧的中面向胎面6方向延伸出方波形环状曲面4(如图12中左上图所示),方波形环状曲面4与胎面6内侧、轮胎侧面5相连(方波形环状曲面4的波峰、波谷部分分别与轮胎侧面5重合,重合部分为轮胎侧面5);方波形环状曲面4的波峰与中面之间由矩形连接面7相连,连接面7紧贴右轮毂1;方波形环状曲面的4波谷与中面之间的矩形连接面7紧贴左轮毂1。紧贴右轮毂1的矩形连接面7、方波形环状曲面4(即重合部分的轮胎右侧面5)、胎面6内侧、轮胎左侧面5、左轮毂1围成多个独立的腔体(与整个轮胎宽度相同,为方便表示,称之为左腔体),气门咀内口设在左轮毂1靠近轮胎一侧、错开紧贴左轮毂1的矩形连接面7,每个独立的左腔体设1个气门咀内口,通过左轮毂1内的通道相连,共同使用左腔体气门咀外口,各独立左腔体的气压相同;紧贴左轮毂1的矩形连接面7、方波形环状曲面4(即重合部分的轮胎左侧面5)、胎面6内侧、轮胎右侧面5、右轮毂1围成多个独立的腔体(与整个轮胎宽度相同,为方便表示,称之为右腔体),气门咀内口设在右轮毂1靠近轮胎一侧、错开紧贴右轮毂1的矩形连接面7,每个独立的右腔体设1个气门咀内口,通过右轮毂1内的通道相连,共同使用右腔体气门咀外口,各独立右腔体的气压相同;左、右独立腔体相互交错。当任一独立的左腔体漏气时,通过轮毂1内通道与其相连的其余左腔体内的气压同时降低,与各左腔体相互交错、均匀分布的各右腔体继续支撑轮胎,防止轮胎出现瞬间严重变形导致车辆失控;未漏气腔体在支撑其组成面胎面6的同时,还可撑起交错其间的漏气腔体的组成面胎面6,使轮胎保持较大的地面接触面积。任一独立的右腔体漏气时同理。上述实施例4、5、6中的方波形环状曲面4还可替换为图12所示的其它波形环状曲面或波形环状曲面的变形体(即替换面在胎面6上的投影为其他波形曲线或波形曲线的变形体,波峰<波谷>部分或对应波峰<波谷>的位置与轮胎侧面5重合的部分为轮胎侧面5),分别与轮胎、轮毂1的对应部位组成左、右腔体(分别参照实施例4、5、6。实施例6中的矩形连接面7根据替换的波形环状曲面或波形环状曲面的变形体变换为对应形状的连接面7, 即波峰<波谷>或对应波峰<波谷>的位置与中面之间、紧贴轮毂的相连面)。上述各实施例中,一侧或部分腔体漏气后,轮胎的承载能力低于未漏气状态,仅可防止轮胎瞬间出现严重变形导致车辆失控,车辆不宜高速或长时间行驶。为防止驾驶员不能及时发现轮胎漏气继续高速或长时间行驶,可加装胎压监测装置,在轮胎任意一侧或部分腔体气压下降时向驾驶员发出警告。上述各实施例中,中面(有中间面时,含中间面)、连接面7可在单独制作后与轮胎的其他胶部件一起进入轮胎成型工序。中面(有中间面时,含中间面)强度与轮胎侧面5相同(根据减轻轮胎质量等需要,可适当降低其强度);连接面7强度低于中面强度。本发明不受上述实施例限制,上述实施例和说明书中描述的只是说明本发明的原理,在不脱离本发明精神和范围的前提下,本发明还会有各种变化和改进,这些变化和改进都落入要求保护的本发明范围内。本发明要求保护范围由所附的权利要求书及其等效物界定。
    展开 >
    交易服务流程
    >

    挑选中意的板块

    ----

    客服确认选择专利的交易信息和价格并支付相应款项

    办理转让材料

    ----

    协助双方准备相应的材料

    签订协议

    ----

    协助卖家签订协议

    办理备案手续

    ----

    买卖双方达成一致后

    交易完成

    ----

    交易完成可投入使用

    过户资料 & 安全保障 & 承诺信息
    >

    过户资料

    买卖双方需提供的资料
    公司 个人
    买家 企业营业执照
    企业组织机构代码证
    身份证
    卖家 企业营业执照
    专利证书原件
    身份证
    专利证书原件
    网站提供 过户后您将获得
    专利代理委托书
    专利权转让协议
    办理文件副本请求书
    发明人变更声明
    专利证书
    手续合格通知书
    专利登记薄副本

    安全保障

    承诺信息

    我方拟转让所持标的项目,通过中国汽车知识产权交易平台公开披露项目信息和组织交易活动,依照公开、公平、公正和诚信的原则作如下承诺:

    1、本次项目交易是我方真实意思表示,项目标的权属清晰,除已披露的事项外,我方对该项目拥有完全的处置权且不存在法律法规禁止或限制交易的情形;
    2、本项目标的中所涉及的处置行为已履行了相应程序,经过有效的内部决策,并获得相应批准;交易标的涉及共有或交易标的上设置有他项权利,已获得相关权利 人同意的有效文件。
    3、我方所提交的信息发布申请及相关材料真实、完整、准确、合法、有效,不存在虚假记载、误导性陈述或重大遗漏;我方同意平台按上述材料内容发布披露信息, 并对披露内容和上述的真实性、完整性、准确性、合法性、有效性承担法律责任;
    4、我方在交易过程中自愿遵守有关法律法规和平台相关交易规则及规定,恪守信息发布公告约定,按照相关要求履行我方义务;
    5、我方已认真考虑本次项目交易行为可能导致的企业经营、行业、市场、政策以及其他不可预计的各项风险因素,愿意自行承担可能存在的一切交易风险;
    6、我方在平台所组织交易期间将不通过其他渠道对标的项目进行交易;
    7、我方将按照平台收费办法及相关交易文件的约定及时、足额支付相关费用,不因与受让方争议或合同解除、终止等原因拒绝、拖延、减少交纳或主张退还相关费用。