当前位置: 首页> 专利交易> 详情页
    待售中

    一种多罐整体式全热SSCR模块的取热装置[ZH]

    专利编号: ZL202602121429

    收藏

    拟转化方式: 转让

    交易价格:面议

    专利类型:实用新型专利

    法律状态:授权

    技术领域:发动机

    发布日期:2026-02-12

    发布有效期: 2026-02-12 至 2027-06-27

    专利顾问 — 王老师

    电话咨询

    咨询电话

    13760886304

    专利基本信息
    >
    申请号 CN201720757003.9 公开号 CN207018060U
    申请日 2017-06-27 公开日 2018-02-16
    申请人 中国第一汽车股份有限公司 专利授权日期 2018-02-16
    发明人 崔龙;张克金;韩建;边海东;闫晓东;于力娜;刘国军 专利权期限届满日 2027-06-27
    申请人地址 130011 吉林省长春市西新经济技术开发区东风大街2259号 最新法律状态 授权
    技术领域 发动机 分类号 F01N 3/20
    技术效果 环保 有效性 有效(授权、部分无效)
    专利代理机构 王薇 代理人 王薇
    专利技术详情
    >
    01

    专利摘要

    本实用新型涉及一种多罐整体式全热SSCR模块的取热装置,其特征在于:两个储氨罐布置在全热式SSCR模块取热装置的外壳内的中部,两个储氨罐上下排列,两个储氨罐中间位置通过的固定隔板支撑,氨气出气管将两个储氨罐并联,氨气出气管的出口端开在全热式SSCR模块取热装置的外壳顶面,氨气出气管的出口端连接有角阀,取热装置的尾气出气口开在全热式SSCR模块取热装置的外壳的左上角,取热装置尾气进气口开在全热式SSCR模块取热装置的外壳的右下角,取热装置尾气进气口呈喇叭形,尾气后处理器的尾气后处理器出气口与取热装置尾气进气口对接;储氨材料填充在储氨罐中。其能解决北方冬季储氨罐建压时间长以及传统液体SCR系统续驰里程段的问题,同时降低装置总重,简化拆装。
    展开 >
    02

    专利详情

    技术领域

    本实用新型涉及一种多罐整体式全热SSCR模块的取热装置,主要应用于汽车尾气
    的SCR后处理行业。

    背景技术

    汽车尾气排放能引起严重的大气污染,其主要污染物有碳氢化合物(HC)、一氧化
    碳(CO)、氮氧化物(NOx)和颗粒物(PM)。自20世纪70年代人们开始努力控制汽车尾气排放以
    来,制定了越来越严格的排放法规。为贯彻《中华人民共和国大气污染防治法》,严格控制机
    动车污染,全面实施《轻型汽车污染物排放限值及测量方法(中国五阶段)》(GB18352.5-
    2013)和《车用压燃式、气体燃料点燃式发动机与汽车排气污染物排放限值及测量方法(中
    国Ⅲ、Ⅳ、Ⅴ阶段)》(GB17691-2005)中第五阶段排放标准要求,全国自2017年1月1日起,所
    有制造、进口、销售和注册登记的轻型汽油车、重型柴油车(客车和公交、环卫、邮政用途),
    须符合国五标准要求。因此,汽车对尾气净化技术提出了更大的挑战,更高的要求。

    SCR(Selective Catalytic Reduction)催化转化还原技术是传统的后处理技术。
    这种采用液体尿素的传统的SCR技术本质是利用尿素在高温下分解出氨,作为还原剂的氨
    与发动机排气中的NOx在催化剂和温度的综合作用下进行反应,理想工况下生成无毒的N2
    和H2O,从而达到净化的目的。然而,传统的SCR系统所用的液体尿素还原剂面临冬季结冰和
    保温解冻的问题,以及尿素排气温度较高的条件下,易形成难分解的缩合物,进而堵塞尿素
    还原剂喷嘴或堆积于排气管内,造成发动机排气背压升高,降低车辆燃油经济性。

    因此,如何获得低成本和高性能的NH3还原剂供给装置尤为重要。利用金属氯化物
    与氨气形成配位化合物这一特性,氨气被固定下来,使用的金属氯化物主要为碱土金属氯
    化物,氯化锶、氯化钙、氯化镁,以及必须的辅助添加组分。形成的氨合化合物储氨材料作为
    车载还原剂氨源,在使用的时候通过加热实现氨气的解吸释放,氨气与金属氯化物的吸附
    和解吸是一个可逆的过程。

    由于氨气的解吸附是吸热过程,因此在储氨装置中需要增加热源,在专利号为CN
    102733913 B(双级余热方式储氨供氨的系统)中公布了一种采用发动机的回流冷却液的余
    热来加热活性的储氨化合物,释放出氨的后处理系统。专利号为CN 103470347 A(用于产生
    氨的设备)介绍了一种氨发生设备,其中第一加热装置和第二加热装置分别安装在主存储
    器和副存储器内部并且独立操作。专利号为US2012/0045379 A1(一种利用真空泵从固体储
    氨材料中储存和供给氨气的方法),介绍了存储和输送氨的方法,储氨材料的加热方式为内
    置电加热或外置微波加热或红外加热。专利号为CN 104234796 A(尤其用于机动车辆排气
    系统的具有优化的填充时间的氨存储筒)介绍了一种具有氨气导出通道的内置加热式或外
    包式加热的氨存储筒。

    发明内容

    本实用新型的目的是提供一种多罐整体式全热SSCR模块的取热装置,其能解决北
    方冬季储氨罐建压时间长以及传统液体SCR系统续驰里程段的问题,同时降低装置总重,简
    化拆装。

    本实用新型的技术方案是这样实现的:一种多罐整体式全热SSCR模块的取热装
    置,由储氨罐、整体式全热SSCR模块取热装置的外壳、取热装置尾气进气口、取热装置尾气
    出气口、固定隔板、氨气出气管、角阀、尾气后处理器、尾气后处理器出气口、固体储氨材料
    组成,其特征在于:两个储氨罐布置在全热式SSCR模块取热装置的外壳内的中部,两个储氨
    罐上下排列,两个储氨罐中间位置通过的固定隔板支撑,储氨罐的两端端头通过整体式全
    热SSCR模块取热装置的外壳两侧端板密封,氨气出气管将两个储氨罐并联,氨气出气管的
    出口端开在全热式SSCR模块取热装置的外壳顶面,氨气出气管的出口端连接有角阀,取热
    装置的尾气出气口开在全热式SSCR模块取热装置的外壳的左上角,取热装置尾气进气口开
    在全热式SSCR模块取热装置的外壳的右下角,取热装置尾气进气口呈喇叭形,尾气后处理
    器的尾气后处理器出气口与取热装置尾气进气口对接;储氨材料填充在储氨罐中。

    所述的储氨罐为圆柱形,具有5L~40L的容积,罐壁厚度为2mm~4mm,其材质由耐氨
    气腐蚀的铝合金或不锈钢制成, 整体式全热SSCR模块取热装置的外壳内可布置2-5个储氨
    罐,整体式全热SSCR模块取热装置的外壳内的多个储氨罐的尺寸可以相等也可以不等。

    所述的整体式全热SSCR模块取热装置的外壳为长方体结构,其材质可以是不锈钢
    或铝合金,与储氨罐焊接在一起的两侧端板的厚度为2.5mm~4mm,其它面的壳体厚度为
    1.5mm~2.5mm;整体式全热SSCR模块取热装置的外壳与储氨罐的外壁之间的最小距离为
    20mm~50mm。

    所述的固定隔板材质可以是不锈钢或铝合金,厚度为2.5mm~3mm,固定隔板上留有
    固定对应储氨罐数量的固定孔,固定隔板上还均布有通气孔,通气孔孔径为5mm~10mm,固定
    隔板上通气孔的总面积为取热装置尾气进气口面积的3~4倍。

    所述的取热装置尾气进气口沿尾气气流方向管径逐渐减小,大径为140~160mm,小
    径为70~90mm,长度为80~100mm;安装于尾气后处理器上的尾气后处理器出气口,沿尾气气
    流方向管径逐渐减小,大径为138~158mm,小径为68~88mm,长度为80~100mm。

    所述的氨气出气管材质为不锈钢,管内径为0.5cm~1.5cm,管壁厚为2mm~3mm。

    所述的储氨材料可以是氨合氯化锶或氨合氯化钙或氨合氯化镁或能够与NH3形成
    络合物的氯化物。

    本实用新型的积极效果是其结构简单、拆装简易。采用不等径插接管,精简了管路
    连接部件,同时采用取热装置壳体的端板作为储氨罐的封头,整个装置降重明显,降低了装
    置总重4kg~10kg。采用发动机尾气加热储氨材料,充分利用了发动机燃料产生的能量,提高
    了发动机的热效率,节省了燃油消耗。且储氨罐处于尾气全包式的加热环境,有利于储氨罐
    在低温条件下快速达到工作压力。同时,本实用新型中所述的装置中NH3还原剂的含量是传
    统液体尿素还原剂的数倍,因此,使用本装置的车辆续驰里程可以提高5~7倍。

    附图说明

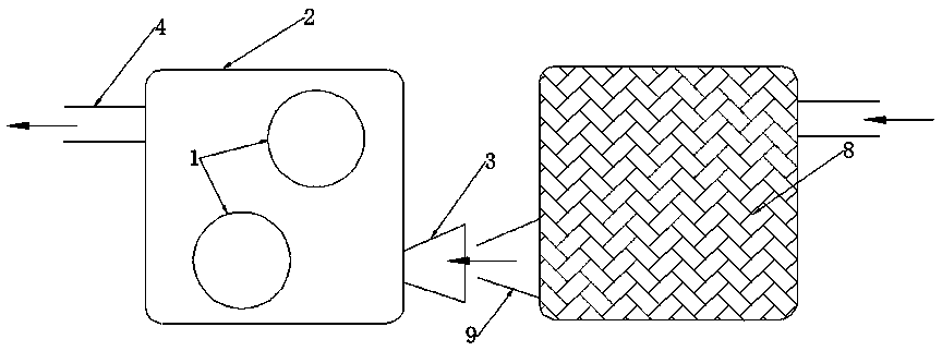
    图1 为本实用新型的侧面结构图。

    图2 为本实用新型的正面结构图。

    图3 为本实用新型的固定隔板结构图。

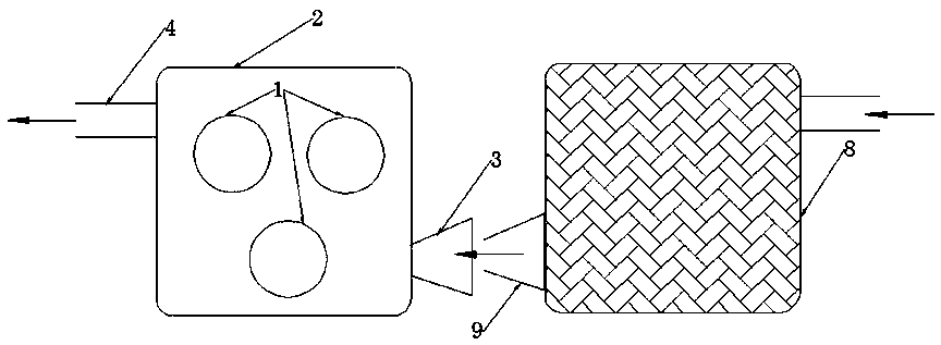
    图4 为本实用新型的三储氨罐的布置结构图。

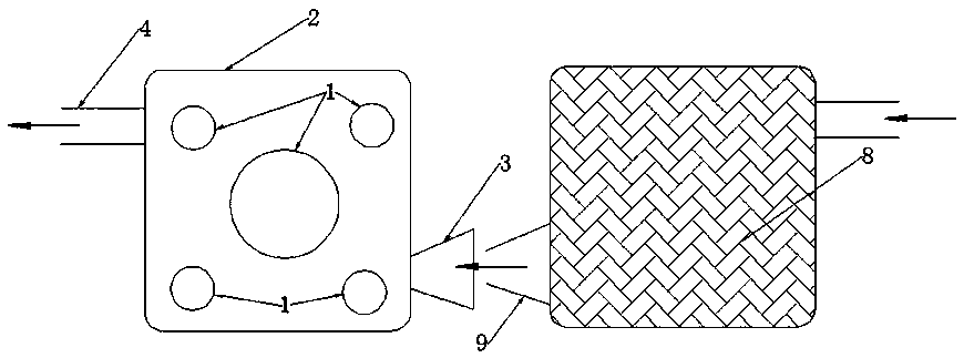
    图5为本实用新型的四储氨罐的布置结构图。

    图6为本实用新型的五储氨罐的布置结构图。

    图7为本实用新型的五储氨罐的正面布置结构图。

    具体实施方式

    下面结合附图对本实用新型做进一步说明:如图1-3所示,一种多罐整体式全热
    SSCR模块的取热装置,由储氨罐1、整体式全热SSCR模块取热装置的外壳2、取热装置尾气进
    气口3、取热装置尾气出气口4、固定隔板5、氨气出气管6、角阀7、尾气后处理器8、尾气后处
    理器出气口9、固体储氨材料10组成,其特征在于:两个储氨罐1布置在全热式SSCR模块取热
    装置的外壳2内的中部,两个储氨罐1上下排列,两个储氨罐1中间位置通过的固定隔板5支
    撑,储氨罐1的两端端头通过整体式全热SSCR模块取热装置的外壳2两侧端板密封,氨气出
    气管6将两个储氨罐1并联,氨气出气管6的出口端开在全热式SSCR模块取热装置的外壳2顶
    面,氨气出气管6的出口端连接有角阀7,取热装置的尾气出气口4开在全热式SSCR模块取热
    装置的外壳2的左上角,取热装置尾气进气口3开在全热式SSCR模块取热装置的外壳2的右
    下角,取热装置尾气进气口3呈喇叭形,尾气后处理器8的尾气后处理器出气口9与取热装置
    尾气进气口3对接;储氨材料10填充在储氨罐1中。

    如图4-7所示,所述的储氨罐1为圆柱形,具有5L~40L的容积,罐壁厚度为2mm~4mm,
    其材质由耐氨气腐蚀的铝合金或不锈钢制成, 整体式全热SSCR模块取热装置的外壳2内可
    布置2-5个储氨罐1,整体式全热SSCR模块取热装置的外壳2内的多个储氨罐1的尺寸可以相
    等也可以不等。

    所述的整体式全热SSCR模块取热装置的外壳2为长方体结构,其材质可以是不锈
    钢或铝合金,与储氨罐焊接在一起的两侧端板的厚度为2.5mm~4mm,其它面的壳体厚度为
    1.5mm~2.5mm;整体式全热SSCR模块取热装置的外壳2与储氨罐1的外壁之间的最小距离为
    20mm~50mm。

    所述的固定隔板5材质可以是不锈钢或铝合金,厚度为2.5mm~3mm,固定隔板5上留
    有固定对应储氨罐数量的固定孔5-1,固定隔板5上还均布有通气孔5-2,通气孔5-2孔径为
    5mm~10mm,固定隔板5上通气孔的总面积为取热装置尾气进气口3面积的3~4倍。

    所述的取热装置尾气进气口3沿尾气气流方向管径逐渐减小,大径为140~160mm,
    小径为70~90mm,长度为80~100mm;安装于尾气后处理器8上的尾气后处理器出气口9,沿尾
    气气流方向管径逐渐减小,大径为138~158mm,小径为68~88mm,长度为80~100mm。

    所述的氨气出气管6材质为不锈钢,管内径为0.5cm~1.5cm,管壁厚为2mm~3mm。

    所述的储氨材料可以是氨合氯化锶或氨合氯化钙或氨合氯化镁或能够与NH3形成
    络合物的氯化物。

    根据需要两个储氨罐1布置在全热式SSCR模块取热装置的外壳2时,两个储氨罐1
    的尺寸可以相同,也可以一大一小,大罐的体积为小罐的体积3~4倍。取热装置的制备顺序
    是先将全热式SSCR模块取热装置的外壳2一侧的端板与两个储氨罐筒体焊接起来,再将端
    板与取热装置外壳焊接起来;接下来将固定隔板5套入储氨罐1,并置于储氨罐1轴向中间部
    位,并将其与储氨罐和全热式SSCR模块取热装置的外壳2的接触部位焊接完备;然后安装两
    个储氨罐的氨气出气管6,氨气出气管的接口均位于储氨罐的顶侧,将两根管于外壳内汇为
    一根出气管,并从全热式SSCR模块取热装置的外壳2上的预留孔引出,再在出气管上安装好
    角阀7,用密封胶将氨气出气管6与全热式SSCR模块取热装置的外壳2的接触部位密封;接下
    来向储氨罐1筒体内灌入40%罐体积的储氨材料10;最后将取热装置外壳另一侧的端板与储
    氨罐1以及全热式SSCR模块取热装置的外壳2焊接起来。

    为方便拆装,尾气后处理器出气口9与取热装置尾气进气口3采用尺寸相匹配的不
    等径快速插接管。取热装置安装时只需移动取热装置,使其取热装置尾气进气口3与后处理
    器上的尾气后处理器出气口9插接在一起,即可固定取热装置的托架于车辆的大架上,省去
    了安装法兰的工序。

    使用发动机尾气对储氨罐1进行全包式加热,尾气排气温度通常在150℃~350℃。
    从尾气后处理器8排出的尾气经由取热装置尾气进气口3进入全热式SSCR模块取热装置的
    外壳2内,流经储氨罐1和全热式SSCR模块取热装置的外壳2之间的区域,并从取热装置尾气
    出气口4排出,进而实现尾气对储氨罐的全包式加热,当储氨罐中的储氨材料达到解吸温度
    时,释放出的氨气由氨气出气管导出并进入系统的下一单元。装置正常使用时,角阀处于开
    启状态,当装置中氨气用尽需要更换时,角阀关闭。

    此结构适用于3L排量的轻型卡车,双罐全热式SSCR模块的取热装置安装于后处理
    器的后侧。根据SCR后处理器对NH3需求量设置储氨罐容积与续驶里程之间的关系。例如,双
    罐总容积为40L的储罐100%充氨后,对于3L发动机的SCR系统,可以续驶12000-15000km。在
    北方冬季-20℃条件下,车辆冷启动时氨罐进入正常工作压力条件只需12min。

    如图4所示,根据需要三个储氨罐1布置在全热式SSCR模块取热装置的外壳2内部
    时,三个储氨罐1的尺寸可以相同,也可以一大二小,大罐的体积为小罐的体积3~4倍。取热
    装置的制备顺序是先将全热式SSCR模块取热装置的外壳2一侧的端板与三个储氨罐1筒体
    焊接起来,再将端板与取热装置外壳焊接起来;

    如图5所示,根据需要四个储氨罐1布置在全热式SSCR模块取热装置的外壳2内部
    时,四个储氨罐的尺寸可以相同,也可以一大三小或两大两小,大罐的体积为小罐的体积3~
    4倍。取热装置的制备顺序是先将全热式SSCR模块取热装置的外壳2一侧的端板与四个储氨
    罐筒体焊接起来,再将端板与取热装置外壳焊接起来;

    如图6、7所示,根据需要五个储氨罐1布置在全热式SSCR模块取热装置的外壳2内
    部时,五个储氨罐的尺寸可以相同,也可以一大四小或两大三小,大罐的体积为小罐的体积
    3~4倍。取热装置的制备顺序是先将全热式SSCR模块取热装置的外壳2一侧的端板与五个储
    氨罐筒体焊接起来,再将端板与取热装置外壳焊接起来。

    一种多罐整体式全热SSCR模块的取热装置

    Technical Field

    The utility model relates to a multi-tank integral full heat SSCR module and a heat removal device, is mainly applied to the SCR of the car exhaust gas post-processing industry.

    Background Art

    The automobile exhaust emissions can cause serious pollution of the atmosphere, the main pollutants of hydrocarbons (HC), carbon monoxide (CO), nitrogen oxides (NOx) and particulate matter (PM). Since the 20 century 70 age people began efforts to control automobile exhaust emissions since, has developed increasingly stringent emission regulations. For the implementation of the "people's Republic of China of atmospheric pollution", strict control on motor vehicle pollution, the full implementation of the "light automobile emission limit value and the measurement method (China's five stage)" (GB18352.5 - 2013) and "vehicle compression ignition, gas fuel spark-ignition engine and automobile exhaust pollutant emission limits and measuring method (China III, IV, V phase)" (GB17691 - 2005) in the standard requirements of the 5th stage discharge, from National self-1 January 2017, all manufacturing, import, sales and registration of the light petrol vehicles, heavy-duty diesel vehicles (passenger car and bus, sanitation, postal use), shall be conforms to the five standard requirements. Therefore, the automobile exhaust gas purifying technology provides greater challenges, higher requirements.

    SCR (Selective Catalytic Reduction) catalytic reduction technology is the traditional post-processing technology. By adopting the liquid urea of the traditional SCR technology is essentially utilize urea decomposes under the high temperature ammonia, the ammonia as a reducing agent of NOx in the engine exhaust gas in the catalyst and the temperature of the integrated under the action of the reaction, under the conditions of an ideal to produce non-toxic N2 and H2O, thereby achieving the purpose of purification. However, the traditional SCR system for liquid urea reducing agent facing the freezing in winter and heat insulation thawing problems, urea and the exhaust gas temperature under the condition of relatively high, it is easy to form a condensate of hard, further stopping urea reducing agent nozzle or piled in the exhaust pipe, cause the engine exhaust back pressure rises, to reduce the vehicle fuel economy.

    Therefore, how to obtain low cost and high performance of the NH3 reducing agent supply device is particularly important. The use of metal chloride with ammonia to form coordination compounds of this characteristic, the ammonia gas is fixed down, use of the metal chloride is mainly alkaline earth metal chloride, strontium chloride, calcium chloride, magnesium chloride, and must be auxiliary additive component. Ammonia synthesis of compound material formed as a vehicle-mounted reducing agent ammonia an ammonia, when in use by heating to achieve desorption release the ammonia gas, the ammonia gas with the metal chloride to adsorb and desorb a is a reversible process.

    Because the ammonia desorption of heat absorption process is, therefore a need to increase the ammonia storage device in the heat source, in the Patent number CN 102733913 B (double-stage waste heat mode [...] ammonia system) in discloses a backflow of the coolant of the engine waste heat to heat the active chu anhua compound, release leaves the ammonia of the after-treatment system. The Patent number CN 103470347 A (used for producing the ammonia of the equipment) with the introduction of the ammonia generating device, wherein the 2nd 1st heating device and heating device are respectively installed in the main memory and the secondary memory internal and independent operation. The Patent number US2012/0045379 A1 (a uses the vacuum pump from the solid ammonia in the material storage and supply ammonia gas), introduced the method of storing and delivering ammonia, ammonia material for the heating means of the built-in electric heating or external microwave heating or infrared heating. The Patent number CN 104234796 A (in particular for a motor vehicle exhaust system with optimized filling time of ammonia saves the tube) introduced with ammonia derives the channel built-in heating or enclosed heating of the ammonia storage tube.

    Content of the invention

    The purpose of the utility model is to provide a multi-tank integral full heat SSCR module and a heat removal device, it can solve the northern winter [...] long time for pressurization and traditional liquid SCR system continues spreads the mileage the question in section, at the same time the total weight of the device is reduced, simplifying the assembly and disassembly.

    The technical proposal of the utility model is realized in the way: a multi-tank integral full heat SSCR module and a heat removal device, by the [...], integral full heat SSCR module taking heat from the casing of the device, the air inlet of the heating device the exhaust gas, from the heat exhaust gas outlet, the stationary partition plate, the ammonia gas outlet pipe, angle valve, the exhaust gas post-processor, the tail gas post-processor outlet, solid ammonia material, characterized in that two [...] arranged in the entire hot -like SSCR module taking heat from the casing of the device in the middle of the, two [...] are arranged up and down, the middle position of the two ammonia storage tank through the fixed baffle support, the two ends of the [...] through an integral full heat SSCR module heating device both sides of outer end plate sealing, ammonia gas outlet pipe in parallel the two [...], ammonia gas and a gas outlet opening in the outlet end of the full heating SSCR module taking heat from the top surface of the outer housing of the device, the outlet end of the ammonia gas outlet pipe is connected with the angle valve, from the heat of the exhaust gas outlet opening throughout the heating SSCR module from the heat of the housing of the left upper corner of the, a heat removal device exhaust inlet opening in the whole heating SSCR module from the heat of the lower right corner of the outer shell, and a heat removal device exhaust air inlet horn-shaped, exhaust gas post-processor of the air outlet of the exhaust gas after-processor heat removal device exhaust gas inlet; an ammonia storage material is filled in the ammonia storage tank.

    The [...] is cylindrical, has 5L - 40L of the volume, the tank wall thickness is 2 mm - 4 mm, and its material is by ammonia gas corrosion resistance of the aluminum alloy or made of stainless steel, integral full heat SSCR module taking heat from the outer housing of the device can be arranged in 2 - 5 a [...], integral full heat SSCR module from the heat in the outer cover of the size of the plurality of [...] can be equal can also be unequal.

    The integral full heat SSCR module taking heat from the casing of the device is a cuboid structure, its material may be stainless steel or aluminum alloy, with the two sides of the [...] welded together end plate has a thickness of 2.5 mm - 4 mm, the thickness of the shell to the other side of the 1.5 mm - 2.5 mm; integral full heat SSCR module taking heat from the outer housing of the device between the outer wall of the [...] minimum distance is 20 mm - 50 mm.

    The fixed baffle material can be of stainless steel or aluminum alloy, the thickness is 2.5 mm - 3 mm, fixed on the baffle [...] with fixed corresponding to the number of fixing holes, and fixed baffle are evenly distributed on the vent hole, the vent aperture is 5 mm - 10 mm, and fixed baffle upper vent hole for a total area of from the heat of the exhaust gas inlet area 3 - 4 times.

    The heat removal device along the exhaust gas flow direction of the exhaust gas inlet pipe diameter is reduced gradually, large diameter is 140 - 160 mm, the small diameter is 70 - 90 mm, length of 80 - 100 mm; the mounting for the exhaust gas of the exhaust gas after-on the processor after the processor outlet, along the direction of the air flow and the diameter of the exhaust gas is reduced gradually, large diameter for the 138 - 158 mm and, small diameter is 68 - 88 mm and, length is 80 - 100 mm.

    The ammonia gas outlet tube is made of stainless steel, the inner diameter of the tube is 0.5 cm - 1.5 cm, wall thickness is 2 mm - 3 mm.

    The use of an ammonia synthesis material can be strontium chloride or ammonia synthesis of magnesium chloride or calcium chloride or ammonia synthesis with the NH3 chloride to form a complex.

    The positive effects of the utility model is its simple structure, easily assembled and disassembled. The diameter of the pipe is not inserted, the streamlining of the pipeline connecting component, at the same time from the heat of the end plate of the shell as [...] head, the whole device and environment obviously, device to reduce the total weight of 4 kg - 10 kg. The engine tail gas heating ammonia material, makes full use of the engine fuel to generate energy, and improving the thermal efficiency of the engine, saving fuel consumption. And chu ammonia tank is in tail gas full-enclosed heating environment, [...] under low temperature conditions conducive to quickly reach the working pressure. At the same time, in the utility model in the device of the NH3 reducing agent content of the traditional liquid urea reducing agent is several times, therefore, the use of the device of the vehicle continues spreads the mileage can be improved by 5 - 7 times.

    Description of drawings

    Figure 1 is the side chart of of of the present utility model.

    Figure 2 is the positive chart of of of the present utility model.

    Figure 3 is the fixed baffle structure chart of the of the present utility model.

    Figure 4 is the arrangement of the structure chart of the three chu of ammonia pot of the present utility model.

    Figure 5 is the arrangement chart of [...] of four of the present utility model.

    Figure 6 is the arrangement chart of five chu anguan of of of the present utility model.

    Figure 7 is the positive arrangement chart of five chu anguan of of of the present utility model.

    Mode of execution

    The Figure below to further illustrate the utility model as: as shown in Figure 1-3, a multi-tank integral full heat SSCR module and a heat removal device, by the [...] 1, integral full heat SSCR module taking heat from the casing of the device 2, the air inlet of the heating device the exhaust gas 3, heating device exhaust gas outlet 4, the stationary partition 5, the ammonia gas outlet pipe 6, angle valve 7, the exhaust gas post-processor 8, the outlet of the exhaust gas after the processor 9, solid ammonia material 10 a, characterized in that two [...] 1 is arranged in the entire hot -like SSCR module taking heat from the casing of the device 2 in the middle of the, two [...] 1 are arranged up and down, two [...] 1 through the middle position of the fixed baffle 5 support, [...] 1 the two ends of the through an integral full heat SSCR module taking heat from the casing of the device 2 two side end plate sealing, ammonia gas outlet pipe 6 the two [...] 1 connected in parallel, the ammonia gas outlet pipe 6 opening in the outlet end of the whole heating SSCR module taking heat from the casing of the device 2 the top surface, the ammonia gas outlet pipe 6 connected to the canted valve outlet end of 7, from the heat of the exhaust-gas outlet 4 open throughout the heating SSCR module taking heat from the casing of the device 2 of the upper-left, and a heat removal device exhaust air inlet 3 is opened in the full heating SSCR module taking heat from the casing of the device 2 of the lower right corner, and a heat removal device end gas inlet 3 to the trumpet shape, exhaust gas after the processor 8 of the outlet of the exhaust gas after the processor 9 with the heat removal device end gas inlet 3 butt; an ammonia material 10 is filled in the [...] 1 in.

    As shown in Figure 4-7, the [...] 1 is cylindrical, has 5L - 40L of the volume, the tank wall thickness is 2 mm - 4 mm, and its material is by ammonia gas corrosion resistance of the aluminum alloy or made of stainless steel, integral full heat SSCR module taking heat from the casing of the device 2 can be arranged in 2 - 5 a [...] 1, integral full heat SSCR module taking heat from the casing of the device 2 a plurality of inner [...] 1 can be equal to the size of the can also be unequal.

    The integral full heat SSCR module taking heat from the casing of the device 2 is a cuboid structure, its material may be stainless steel or aluminum alloy, with the two sides of the [...] welded together end plate has a thickness of 2.5 mm - 4 mm, the thickness of the shell to the other side of the 1.5 mm - 2.5 mm; integral full heat SSCR module taking heat from the casing of the device 2 with the [...] 1 between the outer wall of the minimum distance is 20 mm - 50 mm.

    The fixed baffle plate 5 can be made of stainless steel or aluminum alloy, the thickness is 2.5 mm - 3 mm, the stationary partition 5 is left on the [...] fixed corresponding to the number of fixing holes 5 - 1, the stationary partition 5 are evenly distributed on the vent hole 5 - 2, the vent hole 5 - 2 with a pore size of 5 mm - 10 mm, the stationary partition 5 upper vent hole for a total area of heating device exhaust air inlet 3 and the area of the 3 - 4 times.

    The heat absorbing device of the exhaust gas inlet 3 along the exhaust direction of the air flow is gradually reduced diameter, large diameter is 140 - 160 mm, the small diameter is 70 - 90 mm, length of 80 - 100 mm; the mounting for the exhaust gas post-processor 8 on the outlet of the exhaust gas after the processor 9, along the diameter of the exhaust gas flow direction is reduced gradually, large diameter for the 138 - 158 mm and, small diameter is 68 - 88 mm and, length is 80 - 100 mm.

    The ammonia gas outlet pipe 6 is made of stainless steel, the inner diameter of the tube is 0.5 cm - 1.5 cm, wall thickness is 2 mm - 3 mm.

    The use of an ammonia synthesis material can be strontium chloride or ammonia synthesis of magnesium chloride or calcium chloride or ammonia synthesis with the NH3 chloride to form a complex.

    According to the needs two [...] 1 is arranged in the entire hot -like SSCR module taking heat from the casing of the device 2 when, two [...] 1 can be the same as the size of the, can also be one large and one small, wheat koji is the volume of the volume of the tentacle and 3 - 4 times. Heating device for the preparation of the whole heating sequence is SSCR module taking heat from the casing of the device 2 at one side of the end plate and the two chu anguan tube body welding together, and then the end plate and the heat removal device casing welding together; and then the fixed partition 5 into the [...] 1, and arranged in the [...] 1 the axial middle part, and it is connected to the entire hot -like SSCR module [...] and taking heat from the casing of the device 2 the contact position of the welding is complete; then install the two [...] ammonia gas outlet pipe 6, the ammonia gas and the air interface are both located on the top side of the [...], the two domestic remittance to the top of the pulled casing and an air outlet pipe, and from the entire hot -like SSCR module taking heat from the casing of the device 2 from the reservation on the hole, and then installed in the pipe angle valve 7, for sealing the ammonia outlet pipe 6 and the whole heating SSCR module taking heat from the casing of the device 2 the contact part of the seal; and then to the [...] 1 cylinder filled with 40% tank volume of ammonia material 10; finally the heat removal device housing at the other side of the end plate and the [...] 1 and full heating SSCR module taking heat from the casing of the device 2 welding together.

    For the convenience of assembly and disassembly, the tail gas post-processor outlet 9 and a heat removal device with the exhaust gas inlet 3 by matching the size of the different diameters of the quick inserting pipe. Heating device installed only by moving the heat removal device, so that the exhaust gas inlet of the heat removal device 3 with the post-processor on the outlet of the exhaust gas after the processor 9 are inserted together, and a heat removal device can be fixed to the bracket on the frame of the vehicle, the process saves the mounting flange.

    The use of engine exhaust gas to [...] 1 to enclosed heating, the exhaust air temperature usually in 150 °C -350 °C. From the exhaust gas after-processor 8 the tail gas discharged via the exhaust gas inlet of the heat removal device 3 into the full heating SSCR module taking heat from the casing of the device 2 in, flows through the [...] 1 and entire hot -like SSCR module taking heat from the casing of the device 2 in the area between, and from the exhaust gas outlet and a heat removal device 4 discharge, thereby realizing the exhaust gas to [...] of enclosed heating, storing the ammonia in the tank when the ammonia desorption temperature of material to reach the, release of ammonia by ammonia gas outlet pipe derived and enter the system of the next unit. Device when in normal use, angle valve is in the open state, when the device needs to be replaced when the ammonia gas in the exhaustion, angle valve closed.

    The structure is suitable for 3 L displacement of light trucks, double-pot entire hot -like SSCR module and a heat removal device is installed on the rear side of the post-processors. According to the NH3 SCR post-processor to set up with demand [...] volume relationship between the mileage. For example, the double-tank total volume of 40 L of the storage tank 100% after sufficient ammonia, for 3 L SCR system of the engine, can be continuous driving 12000 - 15000 km. In the north -20 °C in winter conditions, a vehicle cold start when the normal working pressure conditions ammonia pot only 12 min.

    As shown in Figure 4, according to needs three [...] 1 is arranged in the entire hot -like SSCR module taking heat from the casing of the device 2 into the inside of the, three [...] 1 can be the same as the size of the, can also be a major and two minor, wheat koji is the volume of the volume of the tentacle and 3 - 4 times. Heating device for the preparation of the whole heating sequence is SSCR module taking heat from the casing of the device 2 at one side of the end plate and the three [...] 1 welded to the cylinder body, and then the end plate and welded to the outer shell and a heat removal device;

    As shown in Figure 5, according to need four [...] 1 is arranged in the entire hot -like SSCR module taking heat from the casing of the device 2 when the inside, the size of the four [...] can be the same, can also be a large and three small or two two small, wheat koji is the volume of the volume of the tentacle and 3 - 4 times. Heating device for the preparation of the whole heating sequence is SSCR module taking heat from the casing of the device 2 at one side of the end plate and the four chu anguan tube body welding together, and then the end plate and welded to the outer shell and a heat removal device;

    As shown in Figure 6, 7 is shown, according to the needs five [...] 1 is arranged in the entire hot -like SSCR module taking heat from the casing of the device 2 when the inside, the size of the five [...] can be the same, can also be a large four little or two and three small, wheat koji is the volume of the volume of the tentacle and 3 - 4 times. Heating device for the preparation of the whole heating sequence is SSCR module taking heat from the casing of the device 2 at one side of the end plate and the five chu anguan tube body welding together, and then the end plate and welded to the outer shell and a heat removal device.

    Heat facility of getting of integral hot SSCR module of making perfect of multiple tank
    展开 >
    说明书附图
    >
    交易服务流程
    >

    挑选中意的板块

    ----

    客服确认选择专利的交易信息和价格并支付相应款项

    办理转让材料

    ----

    协助双方准备相应的材料

    签订协议

    ----

    协助卖家签订协议

    办理备案手续

    ----

    买卖双方达成一致后

    交易完成

    ----

    交易完成可投入使用

    过户资料 & 安全保障 & 承诺信息
    >

    过户资料

    买卖双方需提供的资料
    公司 个人
    买家 企业营业执照
    企业组织机构代码证
    身份证
    卖家 企业营业执照
    专利证书原件
    身份证
    专利证书原件
    网站提供 过户后您将获得
    专利代理委托书
    专利权转让协议
    办理文件副本请求书
    发明人变更声明
    专利证书
    手续合格通知书
    专利登记薄副本

    安全保障

    承诺信息

    我方拟转让所持标的项目,通过中国汽车知识产权交易平台公开披露项目信息和组织交易活动,依照公开、公平、公正和诚信的原则作如下承诺:

    1、本次项目交易是我方真实意思表示,项目标的权属清晰,除已披露的事项外,我方对该项目拥有完全的处置权且不存在法律法规禁止或限制交易的情形;
    2、本项目标的中所涉及的处置行为已履行了相应程序,经过有效的内部决策,并获得相应批准;交易标的涉及共有或交易标的上设置有他项权利,已获得相关权利 人同意的有效文件。
    3、我方所提交的信息发布申请及相关材料真实、完整、准确、合法、有效,不存在虚假记载、误导性陈述或重大遗漏;我方同意平台按上述材料内容发布披露信息, 并对披露内容和上述的真实性、完整性、准确性、合法性、有效性承担法律责任;
    4、我方在交易过程中自愿遵守有关法律法规和平台相关交易规则及规定,恪守信息发布公告约定,按照相关要求履行我方义务;
    5、我方已认真考虑本次项目交易行为可能导致的企业经营、行业、市场、政策以及其他不可预计的各项风险因素,愿意自行承担可能存在的一切交易风险;
    6、我方在平台所组织交易期间将不通过其他渠道对标的项目进行交易;
    7、我方将按照平台收费办法及相关交易文件的约定及时、足额支付相关费用,不因与受让方争议或合同解除、终止等原因拒绝、拖延、减少交纳或主张退还相关费用。