当前位置: 首页> 专利交易> 详情页
    待售中

    一种自定心多轴联动式内胀夹紧机构及夹紧方法[ZH]

    专利编号: ZL202603190003

    收藏

    拟转化方式: 转让;普通许可;独占许可;排他许可;开放许可

    交易价格:面议

    专利类型:发明专利

    法律状态:授权

    技术领域:非汽车专利

    发布日期:2026-03-19

    发布有效期: 2026-03-19 至 2041-03-31

    专利顾问 — 王老师

    电话咨询

    咨询电话

    13760886304

    专利基本信息
    >
    申请号 CN202110348951.8 公开号 CN113070698A
    申请日 2021-03-31 公开日 2021-07-06
    申请人 保隆(安徽)汽车配件有限公司 专利授权日期 2022-06-03
    发明人 金陈义;黄纯友;殷克贵;樊健 专利权期限届满日 2041-03-31
    申请人地址 242000 安徽省宣城市宁国经济技术开发区南山园区钓鱼台路15号 最新法律状态 授权
    技术领域 非汽车专利 分类号 B23Q3/00
    技术效果 精确性 有效性 有效(授权、部分无效)
    专利代理机构 上海汉之律师事务所 31378 代理人 冯华
    专利技术详情
    >
    01

    专利摘要

    本发明提出一种自定心多轴联动式内胀夹紧机构及夹紧方法,包括:固定座;中心设置有心轴通孔的心轴,一端固定在固定座上,心轴的外周设置有多个镶块安装槽,镶块安装槽上开设有弹销安装槽;镶块与镶块安装槽可拆卸连接,且其上贯穿开设有弹销活动槽;弹销穿过弹销活动槽设置在弹销安装槽内,弹销靠近心轴通孔一侧设置有弹销斜面;固定块与心轴的另一端可拆卸连接,固定块上开设有一盲孔;弹性件设置在盲孔内,上端与固定块抵接;弹销压块位于心轴通孔内且与弹性件的下端连接;弹销压块的下表面设置有与弹销斜面相匹配的压块斜面。本发明提出的内胀夹紧机构,弹销同时受力,产品内壁胀力均匀,定位准确,产品自身定位尺寸及精度对检测影响很小。
    展开 >
    02

    专利详情

    技术领域

    本发明属于夹紧工装技术领域,特别涉及一种自定心多轴联动式内胀夹紧机构及夹紧方法。

    背景技术

    在制造行业中,经常需要对产品进行固定以便于后续加工。目前常用的各类夹紧或者锁紧机构,有例如手动夹紧工装夹钳、快夹、夹板,再如气动夹紧装置各类气缸、阀门等。由于产品在前道工序中不可避免地会产生的一定的尺寸公差,在利用这些工装固定产品时,往往无法彻底的消除这些尺寸公差带来的间隙误差,造成最终产品精度需取决于产品每道工序的尺寸精度。

    发明内容

    鉴于现有技术的上述缺陷,本发明提出一种自定心多轴联动式内胀夹紧机构,通过在内胀夹紧机构的心轴上设置多个弹销来固定产品。使用时,该内胀夹紧机构的多个弹销同时受力,产品内壁胀力均匀,定位准确。

    为实现上述目的及其他目的,本发明提出一种自定心多轴联动式内胀夹紧机构,包括:

    固定座;

    心轴,其一端固定设置在所述固定座上,所述心轴的中心贯穿设置有心轴通孔,所述心轴的外周向设置有多个镶块安装槽,所述镶块安装槽的内壁上贯穿开设有弹销安装槽;

    多个镶块,其与所述镶块安装槽可拆卸连接,且其上贯穿开设有弹销活动槽;

    多个弹销,其穿过所述弹销活动槽设置在所述弹销安装槽内,所述弹销靠近所述心轴通孔一侧的顶部设置有一弹销斜面;

    固定块,与所述心轴的另一端可拆卸连接,所述固定块的中心位置开设有一盲孔;

    弹性件,设置在所述盲孔内,所述弹性件上端与所述固定块抵接;

    弹销压块,与所述弹性件的下端固定连接,且位于所述心轴通孔内;所述弹销压块的下表面设置有与所述弹销斜面相匹配的压块斜面。

    优选地,所述镶块安装槽为T型槽,所述镶块沿所述T型槽上端滑入,与所述心轴紧配。

    优选地,所述镶块安装槽的个数为3个或以上,所述镶块安装槽沿所述心轴外周等间距分布。

    优选地,所述弹性件为弹簧。

    优选地,所述弹销的弹性端设置有弹性垫圈。

    优选地,所述固定座的中心设置有与所述心轴通孔相匹配的凸台。

    优选地,所述固定座上设置有固定孔,所述固定孔用于固定所述夹紧机构。

    优选地,所述固定块上设置有螺孔,与所述心轴的另一端上设置的螺孔通过螺栓连接。

    优选地,所述心轴通孔为圆角通孔。

    本发明还提出一种应用上述自定心多轴联动式内胀夹紧机构的夹紧方法,包括如下步骤:

    将待压紧固定的产品从所述内胀夹紧机构的上端套入心轴;

    多个弹销受到产品压力向内同时滑动,并通过斜面将弹销压块顶起;

    弹销压块被顶起导致弹性件受力并产生反向压力下压弹销压块,弹销压块通过压块斜面将力传到给弹销;

    多个弹销受力后同时向外扩张,对产品进行内胀压紧并固定产品。

    综上所述,本发明提出一种自定心多轴联动式内胀夹紧机构及夹紧方法,通过在内胀夹紧机构的心轴上设置多个弹销来固定产品,具有如下的有益效果:首先,多个弹销同时受力,使得产品内壁胀力均匀,定位准确,产品自身定位尺寸及精度对产品的后续加工或产品的检测结果的影响很小;其次,使用本发明的内胀夹紧机构对产品内胀固定后不会对产品产生压痕;再次,本发明的内胀夹紧机构,可以根据所需弹力的大小更换弹性件,拓展装置的使用范围;又,本本发明的内胀夹紧机构结构简单、便于加工,可以作为大部分模具、工装、夹检具等设备的辅助内胀夹紧使用,且可用于对各类异形件的固定。

    附图说明

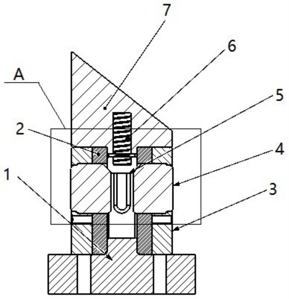
    图1:本发明自定心多轴联动式内胀夹紧机构实施例一的剖视图。

    图2:本发明自定心多轴联动式内胀夹紧机构实施例一的结构示意图。

    图3:本发明自定心多轴联动式内胀夹紧机构实施例一A部分的放大图。

    图4:本发明自定心多轴联动式内胀夹紧机构实施例一心轴的俯视图。

    其中,1-固定座、11-固定座螺孔、12-凸台、13-固定孔、2-心轴、21-心轴通孔、22-镶块安装槽、23-弹销安装槽、24-心轴螺孔、3-镶块、31-弹销活动槽、4-弹销、41-弹销斜面、42-弹性垫圈、5-弹销压块、51-压块斜面、52-凹槽、6-弹性件、7-固定块、71-固定块螺孔、8-弹性件固定件。

    具体实施方式

    以下通过特定的具体实例说明本发明的实施方式,本领域技术人员可由本说明书所揭露的内容轻易地了解本发明的其他优点与功效。本发明还可以通过另外不同的具体实施方式加以实施或应用,本说明书中的各项细节也可以基于不同观点与应用,在没有背离本发明的精神下进行各种修饰或改变。

    需要说明的是,本实施例中所提供的图示仅以示意方式说明本发明的基本构想,遂图式中仅显示与本发明中有关的组件而非按照实际实施时的组件数目、形状及尺寸绘制,其实际实施时各组件的型态、数量及比例可为一种随意的改变,且其组件布局型态也可能更为复杂。

    如图1-图4所示,本发明的实施例一提出一种自定心多轴联动式内胀夹紧机构,该自定心多轴联动式内胀夹紧机构可包括固定座1、心轴2、镶块3、弹销4、弹销压块5、弹性件6以及固定块7。

    如图1所示,图1为本发明自定心多轴联动式内胀夹紧机构实施例一的结构示意图,在本实施例中,心轴2的一端固定设置在固定座1上,心轴2的中心位置贯穿设置有一心轴通孔21,心轴2的外周向设置有多个镶块安装槽22,镶块安装槽22的内壁上贯穿开设有弹销安装槽23。多个镶块3可拆卸地安装在多个镶块安装槽22内,镶块3上与弹销安装槽23相应的位置设置有弹销活动槽31。多个弹销4,穿过弹销活动槽31设置在弹销安装槽内23内,弹销4靠近心轴通孔21一侧的顶部设置有一弹销斜面41。固定块7与心轴2的另一端可拆卸连接,固定块2的中心位置开设有一盲孔,盲孔的开口方向朝向心轴通孔21。弹性件6设置在固定块2的盲孔内,且弹性件6的上端与固定块6抵接。弹销压块5设置在心轴通孔内且与弹性件6的下端固定连接,弹销压块5的下表面设置有与弹销斜面41相匹配的压块斜面51。

    如图2、图4所示,图2为本发明自定心多轴联动式内胀夹紧机构实施例一的爆炸图,图4为本发明自定心多轴联动式内胀夹紧机构实施例一心轴的俯视图,在本发明的实施例一中,心轴2上贯穿地设置有心轴螺孔24,固定座1和固定块7上相应地设置有固定座螺孔11和固定块螺孔71,心轴2的一端通过该心轴螺孔24与固定座1上的固定座螺孔螺纹连接,心轴2的另一端通过该心轴螺孔24与固定块7上的固定块螺孔螺纹连接。当然,在其他的实施例中,连接方式可以是多样的,例如可以是在心轴2的两端非贯穿地分别设置与固定座1和固定块7连接的螺孔;又例如可以将心轴2与固定座1设置成一体结构,而仅心轴2的另一端通过心轴螺孔24与固定块7上的固定块螺孔螺纹连接。

    如图1、图2所示,在本发明的实施例一中,在固定座1的中心位置可以设置例如一凸台12,该凸台12与心轴通孔21相匹配,即心轴通孔21可以套设在凸台12内,凸台12的设置可以方便实现心轴2在固定座1上的定位,将心轴通孔21套设在凸台12内,即可让固定座1上的固定座螺孔11自动与心轴螺孔24位置对齐,方便装配。

    如图2所示,在本发明的实施例一中,在固定座1上还可以设置固定孔13,固定孔13用于将整个装置固定,例如可以通过固定孔13将装置固定在装配操作平台上,避免装置移动、翻到,便于操作。固定孔13可以是例如沿固定座四周均匀分布的多个固定孔。例如可以是图2中所示的沿圆形固定座圆周均匀分布的4个固定孔13,当然也可以其其他数量的固定孔13。当固定座1是其他形状时,固定孔13的分布方式也可以是不同的,例如正方形的固定座1,可以沿其四边上或者相对的两边上设置固定孔13。

    如图2、图4所示,心轴2的外周向设置有多个镶块安装槽22,多个镶块安装槽22可以是沿心轴2的外周等间距地均匀分布的。镶块安装槽22的个数可以是3个或者以上,由于3点可以确定一个圆,从而可以确定唯一的圆心位置,因此可以确保本发明的夹紧机构实现精确定位。例如可以是图中所示的4个镶块安装槽22。

    如图2、图4所示,在本发明的实施例一中,镶块安装槽22例如可以是T型槽,即在槽的两侧延伸出卡接部位,镶块3的两侧相应地延伸出侧边,镶块3从镶块安装槽22的上端滑入,镶块3上的侧边与T型槽两侧延伸出的卡接部位卡接,实现镶块3与心轴2的紧配。

    如图1-图4所示,在心轴2的中心位置贯穿设置有心轴通孔21,心轴2的镶块安装槽22的内壁和镶块3上的相应位置分别设置有弹销安装槽23和弹销活动槽31,多个弹销4分别穿过对应的弹销安装槽23和弹销活动槽31设置,弹销4的弹性端设置在弹销活动槽31内。弹销4、弹销安装槽23和弹销活动槽31靠近弹销安装槽23一侧的高度相同且大于弹销4的弹性端的高度,弹销4的弹性端的高度与弹销活动槽31远离弹销安装槽23一侧的高度相同。

    组装本发明的夹紧机构时,先将弹销4的非弹性端置入弹销安装槽23,并沿弹销安装槽23向心轴通孔21推进,使得弹销4的弹性端的端面不会高出弹销安装槽23内壁的壁面,然后将镶块3沿从镶块安装槽22的上端滑入,使得弹销安装槽23与弹销活动槽31对齐即可。

    如图1-图4所示,在心轴2的中心位置贯穿设置有心轴通孔21,在弹销4靠近心轴通孔21一侧的顶部设置有一弹销斜面41,弹销斜面41的角度例如可以是45°。在心轴通孔21内设置有弹销压块5,在弹销压块5的下端设置有与弹销4的弹销斜面41相匹配的压块斜面51。当弹销压块5受到向下的压力时,压力通过压块斜面51传递给弹销4,使得弹销4受到向外的力而向外周胀开;相反,当弹销4受到向内的压力时,压力通过弹销斜面41传递给弹销压块5,使得弹销压块5受到向上的力而沿心轴通孔向上运动。

    如图1-图3所示,在本发明的实施例一中,在弹销4的弹性端可以设置有弹性垫圈42,弹性垫圈42设置在弹销4的弹性端与镶块3的弹销活动槽31相接触的位置。

    如图1-图3所示,在固定块7的中心位置设置有盲孔,盲孔的开口端设置在靠近弹销压块5的一侧。盲孔内设置有弹性件6,弹性件6的上端与固定块7抵接,弹性件6的下端与弹销压块连接。当产品需要被压紧固定时,将产品从本发明的自定心多轴联动式内胀夹紧机构的上端套入心轴2,此时沿心轴2的外周分布的多个弹销4受到产品向内的压力同时向心轴通孔21内滑动,并通过弹销斜面41将压力传给弹销压块5,从而将弹销压块5顶起,弹销压块5被顶起导致弹性件6收缩受力并产生反向压力,弹性件6上的反向压力下压弹销压块5,弹销压块5再通过弹销斜面51将反向压力传给弹销4,多个弹销4受力同时向外滑出,对产品进行内胀压紧并固定产品。

    如图2所示,在本发明的实施例一中,心轴通孔21可以是正方形的,此时为了便于弹销压块5在心轴通孔21内上下移动,心轴通孔21可以是如图中所示的圆角通孔,弹销压块5可以是与之相匹配的圆角正方形的。在其他的实施例中,心轴通孔21也可以是其他多边形的或者圆形的。

    如图1、图3所示,在本发明的实施例一中,弹销压块5的上表面与弹性件6连接处可以设置一凹槽52,弹性件6的下端设置在凹槽52内。将弹性件6的下端设置在凹槽52内可以防止弹性件6的下端在弹销压块5的上表面发生移动,导致弹性件6上的受力方向发生变化,从而影响装置固定产品的精确性。

    如图3所示,在本发明的实施例一中,在弹销压块5的上方还可以例如设置一弹性件固定件8,弹性件6通过弹性件固定件8固定在弹销压块5上,例如固定在凹槽52内。弹性件固定件8例如可以是一固定销,固定销穿过弹性件6的下端且两端分别固定在弹销压块5的上表面上。在本发明的其他实施例中,弹性件固定件8例如还可以是固定片等。

    如图1-3所示,在本发明的实施例一中,弹性件6可以是弹簧,例如螺旋弹簧、压力弹簧管等,弹性件6还可以是其他弹性件,例如片簧、波纹管等。

    本发明还提出一种应用上述自定心多轴联动式内胀夹紧机构的夹紧方法,包括:

    将待压紧固定的产品从自定心多轴联动式内胀夹紧机构的上端套入心轴;

    多个弹销受到产品内壁的压力同时向内滑动,并通过弹销斜面将压力传递给弹销压块,使弹销压块受到向上的推力,从而将弹销压块顶起;

    弹销压块被顶起导致弹性件受力并产生反向压力下压弹销压块,弹销压块通过压块斜面将力传到给弹销;

    多个弹销受力后同时向外扩张,对产品进行内胀压紧并固定产品。

    综上所述,本发明提出一种自定心多轴联动式内胀夹紧机构及夹紧方法,通过在内胀夹紧机构的心轴上设置多个弹销来固定产品,可以使多个弹销同时受力,使得产品内壁受到的胀力均匀,定位准确,从而使得产品自身定位尺寸及精度对产品的后续加工或产品的检测结果的影响很小;同时,使用本发明的内胀夹紧机构对产品内胀固定后不会对产品产生压痕,不会对产品造成损伤;再次,本发明的内胀夹紧机构,可以根据所需弹力的大小更换弹性件,装置的使用范围广;又,本本发明的内胀夹紧机构结构简单、便于加工,可以作为大部分模具、工装、夹检具等设备的辅助内胀夹紧使用,且可用于对各类异形件的固定。

    以上描述仅为本申请的较佳实施例以及对所运用技术原理的说明,本领域技术人员应当理解,本申请中所涉及的发明范围,并不限于上述技术特征的特定组合而成的技术方案,同时也应涵盖在不脱离所述发明构思的情况下,由上述技术特征或其等同特征进行任意组合而形成的其它技术方案,例如上述特征与本申请中公开的(但不限于)具有类似功能的技术特征进行互相替换而形成的技术方案。

    除说明书所述的技术特征外,其余技术特征为本领域技术人员的已知技术,为突出本发明的创新特点,其余技术特征在此不再赘述。

    一种自定心多轴联动式内胀夹紧机构及夹紧方法

    Technical Field

    The invention belongs to the technical field of clamping tools, and particularly relates to a self-centering multi-shaft linkage type internal expansion clamping mechanism and a clamping method.

    Background Art

    In the manufacturing industry, it is often necessary to fix the product for subsequent processing. At present, various clamping or locking mechanisms commonly used, such as manual clamping tool clamps, are used. The quick clamp, the clamping plate and the pneumatic clamping device are various cylinders, valves and the like. Due to the certain dimensional tolerance inevitably generated in the product forward process, gap errors caused by the dimensional tolerance can not be thoroughly eliminated when products are fixed by the tools, so that the precision of the final product needs to depend on the dimensional accuracy of each process of the product.

    Content of the invention

    In view of the defects of the prior art, the invention provides a self-centering multi-shaft linkage type internal expansion clamping mechanism which is used for fixing products by arranging a plurality of elastic pins on a mandrel of the internal expansion clamping mechanism. When in use, the plurality of elastic pins of the internal expansion clamping mechanism are simultaneously stressed, the inner wall expansion force of the product is uniform, and the positioning is accurate.

    In order to achieve the above objects and other objects, the invention provides a self-centering multi-shaft linkage type internal expansion clamping mechanism.

    Fixing base.

    One end of the mandrel is fixedly arranged on the fixed seat, a mandrel through hole is formed in the center of the mandrel, and a plurality of insert mounting grooves are formed in the periphery of the mandrel.

    A plurality of inserts are detachably connected with the insert mounting groove, and an elastic pin movable groove is formed in the upper part of the insert block.

    The elastic pin is arranged in the pin mounting groove through the spring pin movable groove, and a spring pin inclined plane is arranged on the top of one side of the elastic pin close to the through hole of the mandrel.

    The fixing block is detachably connected with the other end of the mandrel, and a blind hole is formed in the center of the fixing block.

    The elastic part is arranged in the blind hole, and the upper end of the elastic piece is in contact with the fixed block.

    The pin pressing block is fixedly connected with the lower end of the elastic piece and located in the through hole of the mandrel. The lower surface of the pin pressing block is provided with a pressing block inclined plane matched with the inclined plane of the elastic pin.

    , The insert mounting grooves are T-shaped grooves, and the inserts slide into the T-shaped groove upper end and close to the mandrel.

    , The number of the insert mounting grooves is 3 or more, and the insert mounting grooves are equally spaced along the periphery of the mandrel.

    , The elastic member is a spring.

    , The elastic end of the elastic pin is provided with an elastic washer.

    , The center of the fixing seat is provided with a boss matched with the spindle through hole.

    , A fixing hole is arranged on the fixing seat, and the fixing hole is used for fixing the clamping mechanism.

    , The fixed block is provided with a screw hole which is connected with a screw hole arranged on the other end of the mandrel through a bolt.

    , The mandrel through hole is a rounded through hole.

    The invention further provides a clamping method applying the self-centering multi-shaft linkage type internal expansion clamping mechanism.

    A product to be pressed and fixed is sleeved with a mandrel from the upper end of the internal expansion clamping mechanism.

    A plurality of elastic pins are simultaneously sliding inwards by the product pressure, and the spring pin pressing block is jacked up through the inclined plane.

    The spring pin pressing block is jacked up to cause the elastic piece to bear force and generate reverse pressure to press down the spring pin pressing block.

    A plurality of elastic pins expand outwards after being stressed, and the product is internally expanded to press and fix the product.

    In conclusion, the self-centering multi-shaft linkage type internal expansion clamping mechanism and the clamping method have the following beneficial effects: firstly, a plurality of elastic pins are stressed simultaneously, so that the inner wall of the product is uniform in expansion force and accurate in positioning. Secondly, after the internal expansion clamping mechanism of the invention is used for fixing the product, no indentation can be generated to the product. , The internal expansion clamping mechanism can be used for replacing the elastic piece according to the required elastic force and expanding the application range of the device. In addition, the internal expansion clamping mechanism is simple in structure. The device is convenient to process, can be used as auxiliary internal expansion and clamping of equipment such as most dies, tools and clamping tools, and can be used for fixing various special-shaped parts.

    Description of drawings

    1 Is a cross-sectional view of an embodiment of a self-centering multi-shaft linkage type internal expansion clamping mechanism of the present invention.

    2 Is a structural schematic diagram of an embodiment of the self-centering multi-shaft linkage type internal expansion clamping mechanism of the present invention.

    3 Is an enlarged view of a A portion of an embodiment of a self-centering multi-axis linkage type intumescent clamping mechanism of the present invention.

    4 Is a top view of an embodiment of a self-centering multi-axis linkage type internal expansion clamping mechanism according to an embodiment of the present invention.

    The 1 - fixing seat, 11 - fixing seat screw hole, 12 - boss, 13 - fixing hole, 2 - insert mounting groove, 21 - elastic pin inclined plane, 22 - elastic washer, 23 - spring pin inclined plane, 24 - elastic washer, 3 - elastic pin pressing block, 31 - 42 - elastic washer, 5 - 4 - fixing block screw hole 6 - 52 - 51 - and 41 - elastic piece fixing piece. The 7 - utility model is 71 - suitable for use in 8 - the field of bolt holes and screws.

    Mode of execution

    Other advantages and efficiencies of the present invention will become apparent to those skilled in the art from the following detailed description, which, taken in conjunction with the accompanying drawings, illustrate embodiments of the invention. The present invention may be practiced or applied in other different specific embodiments, and the various details of the present specification may be modified or changed without departing from the spirit of the present invention, based on various aspects and applications.

    It should be noted that the illustration provided in this embodiment illustrates only the basic idea of the present invention in a schematic manner, and only the components related to the present invention rather than the number, shape, and size of the components in actual practice are shown.

    As shown 1 - and 4, the self-centering multi-shaft linkage type internal expansion clamping mechanism can comprise a fixed seat 1, a mandrel 2, an insert 3, a spring pin 4, a pin pressing block 5 and an elastic piece 6 and fixing block 7.

    As shown 1. 1 Is a schematic structural view of an embodiment of a self-centering multi-axis linkage type internal expansion clamping mechanism according to the present invention, wherein a central shaft through hole 2 is formed in a central position of the mandrel 1, and a plurality of insert mounting grooves 2 are formed in the outer periphery of the mandrel 21 through a pin mounting groove 2 22 formed in the inner wall of the insert mounting groove 23 22. A plurality of inserts 3 are detachably mounted in a plurality of insert mounting grooves 22, and the insert 3 is provided with a pin moving groove 23 at a position corresponding to the pin mounting groove 31. A plurality of pin pins 4 pass through the pin movable slot 31 and are disposed within the pin mounting slot 23. The spring pin 4 is provided on the top of the side of the mandrel through hole 21 with a pin inclined surface 41. Fixed block 7 is detachably connected with other end of mandrel 2, and fixed block 2's central position is seted up a blind hole, and the opening direction of blind hole is towards the mandrel through-hole 21. The elastic member 6 is provided in the blind hole of the fixing block 2, and the upper end of the elastic member 6 abuts against the fixing block 6. The pin pressing block 5 is disposed in the spindle through hole and fixedly connected to the lower end of the elastic member 6, and the lower surface of the pin pressing block 5 is provided with a pressing block inclined surface 41 matching the pin inclined surface 51.

    As 2, FIG. 4 shows. 2 Is a top view of an embodiment of a self-centering multi-shaft linkage type intumescent clamping mechanism according to the present invention, wherein the mandrel 4 is provided with a fixing base screw hole 2 and a fixing block screw hole 24 through which one end of the mandrel 1 is screwed with a fixing base screw hole on the fixing base 7. The spindle hole 11 is connected with the fixing block 71.2 through the mandrel screw hole 24 and the fixed block screw hole are respectively provided with a mandrel screw hole and a fixing base 1 7 on the fixing block 2 . 24Of course, in other embodiments. The connecting means may be varied, for example, a screw hole connected to the fixing base 2 and the fixing block 1 may be provided at both ends of the spindle 7 in a non-penetrating manner, respectively. For example, the mandrel 2 may be integrally formed with the fixed seat 1, while the other end of the mandrel 2 is screwed to the fixed block screw hole on the stationary block 24 by the spindle screw hole 7.

    As 1. 2 Shows that, in the embodiment of the present invention, a boss 1 may be provided at the center of the holder 12, and the mandrel through hole 12 may be sleeved in the boss 21, and the boss 21 may be provided in the boss 12 to automatically align the spindle through hole 12 with the mandrel screw 2 at the position of the holder 1 such that it is convenient to assemble 1 the spindle 11 21 with the spindle through-hole set 24 screw 12.

    As shown 2, in the embodiment of the present invention, the fixing seat 1 may be provided with a fixing hole 13 for fixing the whole device, for example, the device can be fixed on the assembly operation platform through the fixing hole 13 13, so that the device is prevented from moving, and the operation is convenient. The fixing holes 13 may be, for example, a plurality of fixing holes uniformly distributed around the fixing base. For example, 2 fixing holes 4 uniformly distributed along the circumference of the circular fixing base shown in FIG. 13 may be used, and other numbers of fixing holes 13 may be used. When the fixing base 1 is of another shape, the fixing holes 13 may be distributed in different shapes, such as a square fixing seat 1, and fixing holes 13 may be provided along four sides or opposite sides thereof.

    As 2 and 4, the periphery of the mandrel 2 is provided with a plurality of insert mounting grooves 22, and the plurality of insert mounting grooves 22 may be equally spaced evenly along the outer circumference of the mandrel 2 or the like. The number of the insert mounting grooves 22 may be 3 or more, and 3 点 since @timetime@ can determine a circle, the unique center position can be determined, so that the clamping mechanism of the invention can be ensured to achieve accurate positioning. For example, 4 insert mounting grooves 22 shown in the figures may be used.

    2 And 4, in the embodiment of the present invention, the insert mounting grooves 22 may be T-shaped grooves, i.e. side edges extending from the upper ends of the insert mounting grooves 3 are extended from the upper ends of the insert mounting groove portions 3 and the inserts 22 are engaged with the clamping portions extending from the two sides 3 of the insert mounting grooves to achieve the tightening of the insert T and the mandrel 3 2.

    1 - And 4, the center of the mandrel 2 is provided with a spindle through hole 21, and the inner wall of the insert mounting groove 2 of the mandrel 22 and the corresponding position on the insert 3 are respectively provided with a pin mounting groove 23 and a pin movable groove 31, and elastic ends of the spring pin 31 4 4 are provided in the pin movable 31 groove 23. The spring pin 4, the pin mounting groove 23, and the pin movable groove 31 have the same height as the spring pin mounting groove 23 and larger than that of the spring pin 4, and the elastic end of the pin 4 has the same height as the pin moving groove 31 side away from the pin mounting groove 23.

    When the clamping mechanism of the present invention is assembled, the elastic end of the pin 4 is first inserted into the pin mounting groove 23 and pushed along the pin mounting groove 23 centripetal axis through hole 21, so that the end surface of the spring pin 4 is not higher than the inner wall of the pin mounting groove 23 and then the insert 3 is aligned with the pin moving groove 22 along the pin mounting groove 23 31.

    1 - And 4, the center of the mandrel 2 is provided with a spindle through hole 21, and the pin 4 is provided with a pin ramp 21 at the top of the spindle through hole 41, for example 41 at the lower end of the pin pressing block 45°. to match the pin inclined surface 21 of the pin 5 with the pin pressing block 5 at the lower end of 41 the spring pin press-hole 51 4, for example. When the pin block 5 is subjected to downward pressure, pressure is transmitted to the pin 51 through the compact ramp 4 such that the spring pin 4 is expanded outward by an outward force. , When pin 4 is subjected to an inward pressure, pressure is transmitted to pin block 41 through pin ramp 5 such that spring pin block 5 experiences an upward force and moves upward along the mandrel through hole.

    1 - And 3, in the embodiment of the present invention, the elastic end of the pin 4 may be provided with an elastic washer 42, and the elastic washer 42 is provided at a position where the elastic end of the pin 4 comes into contact with the pin movable groove 3 of the insert 31.

    1 - Is shown 3. The center of the fixing block 7 is provided with a blind hole, and the open end of the blind hole is provided on one side of the lower spring pin pressing block 5. An elastic member 6 is disposed in the blind hole, an upper end of the elastic member 6 abuts against the fixing block 7, and a lower end of the elastic member 6 is connected to the pin pressing block. When the product needs to be compacted and fixed, the upper end of the self-centering multi-axis linkage internal expanding clamping mechanism is sleeved with the mandrel 2, and then the plurality of pin 2 distributed along the periphery of the mandrel 4 are simultaneously slid into the mandrel through hole 21 and ejected through the pin inclined surface 41 to the spring pin pressing block 5 5 to force the elastic member 6 5 to shrink and generate reverse pressure. The elastic member 6 presses the pin pressing block 5 under the reverse pressure, and the pin pressing block 5 transmits the reverse pressure to the pin 51 through the pin inclined surface 4, the plurality of pin 4 are forced to slide outwards, and the product is internally expanded to press and fix the product.

    As shown 2, in the embodiment of the present invention, the mandrel through hole 21 may be square in order to facilitate the up-and-down movement of the pin block 5 within the mandrel through hole 21, the mandrel through hole 21 may be a rounded through hole as shown in the figure, and the pin compact 5 may be a rounded square that matches it. In other embodiments, the mandrel through hole 21 may also be other polygonal or circular.

    As 1. As shown 3, in the embodiment of the present invention, a groove 5 may be provided at the joint between the upper surface of the pin pressing block 6 and the elastic member 52, and the lower end of the elastic member 6 is disposed in the groove 52. Positioning the lower end of the elastic member 6 in the groove 52 prevents the lower end of the elastic member 6 from moving on the upper surface of the pin pressing block 5, resulting in a change in the stress direction on the elastic member 6, thereby affecting the accuracy of the device fixing product.

    As shown 3, in the embodiment of the invention, an elastic member fixing member 5 may be provided above the pin pressing block 8, and the elastic member 6 is fixed to the pin pressing block 8 by the elastic member fixing member 5, for example, within the groove 52. The elastic member fixing member 8 may be, for example, a fixing pin penetrating the lower end of the elastic member 6 and two ends fixed on the upper surface of the pin pressing block 5, respectively. In other embodiments of the present invention, the elastic member fixing member 8 may be, for example, a fixing sheet or the like.

    As shown 1-3, in the embodiment of the present invention, the elastic member 6 may be a spring such as a coil spring, a pressure spring tube, or the like, and the elastic member 6 may be another elastic member such as a leaf spring, a bellows, or the like.

    The invention further provides a clamping method applying the self-centering multi-shaft linkage type internal expansion clamping mechanism.

    A product to be pressed and fixed is sleeved with a mandrel from the upper end of the self-centering multi-shaft linkage type internal expansion clamping mechanism.

    A plurality of elastic pins are pressed inwards by the pressure of the inner wall of the product, and the pressure is transmitted to the spring pin pressing block through the elastic pin inclined plane.

    The spring pin pressing block is jacked up to cause the elastic piece to bear force and generate reverse pressure to press down the spring pin pressing block.

    A plurality of elastic pins expand outwards after being stressed, and the product is internally expanded to press and fix the product.

    To the self-centering multi-shaft linkage type internal expansion clamping mechanism and the clamping method, a plurality of elastic pins are arranged on the mandrel of the internal expansion clamping mechanism to fix the product. , After the internal expansion clamping mechanism is used for fixing the product, no indentation can be generated to the product, and the product cannot be damaged. In addition, the internal expansion clamping mechanism can be used for replacing the elastic piece according to the required elastic force, and the application range of the device is wide. In addition, the internal expansion clamping mechanism is simple in structure. The device is convenient to process, can be used as auxiliary internal expansion and clamping of equipment such as most dies, tools and clamping tools, and can be used for fixing various special-shaped parts.

    It should be understood by those skilled in the art that and the above description is not limited to the specific combinations of technical features described above, but it should be understood by those skilled in the art that other technical solutions formed by any combination of the above-described technical features or equivalent features thereof may be replaced with other technical features disclosed in the present application (but not limited to) having similar functions.

    In addition to the technical features described in the specification, other technical features are known to those skilled in the art, and the other technical features will not be described in detail herein for the purpose of highlighting the innovative features of the present invention.

    Self-centering multi-axis linkage type internal expansion clamping mechanism and clamping method
    展开 >
    说明书附图
    >
    交易服务流程
    >

    挑选中意的板块

    ----

    客服确认选择专利的交易信息和价格并支付相应款项

    办理转让材料

    ----

    协助双方准备相应的材料

    签订协议

    ----

    协助卖家签订协议

    办理备案手续

    ----

    买卖双方达成一致后

    交易完成

    ----

    交易完成可投入使用

    过户资料 & 安全保障 & 承诺信息
    >

    过户资料

    买卖双方需提供的资料
    公司 个人
    买家 企业营业执照
    企业组织机构代码证
    身份证
    卖家 企业营业执照
    专利证书原件
    身份证
    专利证书原件
    网站提供 过户后您将获得
    专利代理委托书
    专利权转让协议
    办理文件副本请求书
    发明人变更声明
    专利证书
    手续合格通知书
    专利登记薄副本

    安全保障

    承诺信息

    我方拟转让所持标的项目,通过中国汽车知识产权交易平台公开披露项目信息和组织交易活动,依照公开、公平、公正和诚信的原则作如下承诺:

    1、本次项目交易是我方真实意思表示,项目标的权属清晰,除已披露的事项外,我方对该项目拥有完全的处置权且不存在法律法规禁止或限制交易的情形;
    2、本项目标的中所涉及的处置行为已履行了相应程序,经过有效的内部决策,并获得相应批准;交易标的涉及共有或交易标的上设置有他项权利,已获得相关权利 人同意的有效文件。
    3、我方所提交的信息发布申请及相关材料真实、完整、准确、合法、有效,不存在虚假记载、误导性陈述或重大遗漏;我方同意平台按上述材料内容发布披露信息, 并对披露内容和上述的真实性、完整性、准确性、合法性、有效性承担法律责任;
    4、我方在交易过程中自愿遵守有关法律法规和平台相关交易规则及规定,恪守信息发布公告约定,按照相关要求履行我方义务;
    5、我方已认真考虑本次项目交易行为可能导致的企业经营、行业、市场、政策以及其他不可预计的各项风险因素,愿意自行承担可能存在的一切交易风险;
    6、我方在平台所组织交易期间将不通过其他渠道对标的项目进行交易;
    7、我方将按照平台收费办法及相关交易文件的约定及时、足额支付相关费用,不因与受让方争议或合同解除、终止等原因拒绝、拖延、减少交纳或主张退还相关费用。