当前位置: 首页> 专利交易> 详情页
    待售中

    一种基于双稳态梁的机翼结构[ZH]

    专利编号: ZL202508120056

    收藏

    拟转化方式: 转让;普通许可;独占许可;排他许可;作价投资;质押融资;开放许可;其他(具体合作形式可协商)

    交易价格:面议

    专利类型:发明专利

    法律状态:授权

    技术领域:非汽车专利

    发布日期:2025-08-12

    发布有效期: 2025-08-12 至 2043-07-19

    专利顾问 — 王老师

    电话咨询

    咨询电话

    13760886304

    专利基本信息
    >
    申请号 CN202310886881.0 公开号 CN116620545A
    申请日 2023-07-19 公开日 2023-08-22
    申请人 哈尔滨工业大学(深圳)(哈尔滨工业大学深圳科技创新研究院);深圳北理莫斯科大学 专利授权日期 2023-09-22
    发明人 沈路;熊晶鸿;易圣辉 专利权期限届满日 2043-07-19
    申请人地址 518055 广东省深圳市南山区桃源街道深圳大学城哈尔滨工业大学校区 最新法律状态 授权
    技术领域 非汽车专利 分类号 B64C3/18
    技术效果 其他技术效果 有效性 有效(授权、部分无效)
    专利代理机构 北京知艺互联知识产权代理有限公司 16137 代理人 孟晨光
    专利技术详情
    >
    01

    专利摘要

    本发明公开了一种基于双稳态梁的机翼结构,涉及机翼技术领域,包括与双稳态梁连接的第一工字梁和第二工字梁,双稳态梁两端设有第一安装部和第二安装部,其中部的双稳态控制点外设有吸盘,第一安装部与第一工字梁连接,第二安装部与第二工字梁连接,第一工字梁和第二工字梁上均连接有若干第一翼肋,双稳态梁与第二翼肋连接,第一翼肋连接有第一翼壳,第二翼肋连接有第二翼壳。本发明采用上述结构的一种基于双稳态梁的机翼结构,被动改变机翼几何外形即可达到抑制颤振的目的,达到临界条件即可立即被动响应,响应迅速,实现方便,且在复杂来流条件下都能达到抑制颤振的目的。
    展开 >
    02

    专利详情

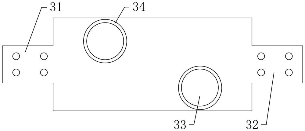
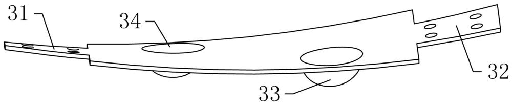
    技术领域 本发明涉及机翼技术领域,特别是涉及一种基于双稳态梁的机翼结构。 背景技术 飞行器的大展弦比机翼及风力发电机的桨叶等在受到气动力、弹性力及惯性力耦合作用时会发生严重的自激振动,这种振动称为颤振现象。一旦发生颤振,剧烈的振动会在短时间内造成结构性的破坏,对其气动性能及结构安全都会带来不利影响,因此要抑制颤振的发生。 目前控制机翼的颤振主要方式是改变机翼结构或者控制机翼表面流场。改变机翼结构方面,通常通过改变翼面的质量分布来改变机翼的固有特性,增加了机翼的刚度,从而提高飞行器的临界颤振速度,使得颤振发生的条件更加严苛。现有改变翼面的质量分布的装置通常是十分笨重且复杂的,在使用过程中会因为改变质量的力不足导致响应速度很慢或者完全无法实现预期的质量分布情况,因此,此类改变质量分布的装置不便于使用且稳定性较差。 在机翼发生颤振时,机翼表面流动总是出现周期性的分离与再附过程,通过翼面吹气装置能够有效控制机翼表面流动分离,使其不再发生周期性的分离与再附过程,从而抑制颤振现象的发生。 现有的翼面吹气装置通过吹气的方式向机翼表面的流场传输能量来控制机翼表面的流动分离,控制流场的收敛时间通常较长,并且吹气所提供的能量及作用范围有限导致控制流动分离的能力有限,因此,此类前缘吹气装置控制具有局限性。 发明内容 本发明的目的是提供一种基于双稳态梁的机翼结构,被动改变机翼几何外形即可达到抑制颤振的目的,构造简单且易实现,无需额外的传感器和控制器。 为实现上述目的,本发明提供了一种基于双稳态梁的机翼结构,包括与双稳态梁连接的第一工字梁和第二工字梁,双稳态梁两端设有第一安装部和第二安装部,其中部的双稳态控制点外设有吸盘,第一安装部与第一工字梁连接,第二安装部与第二工字梁连接,第一工字梁和第二工字梁上均连接有若干第一翼肋,双稳态梁与第二翼肋连接,第一翼肋连接有第一翼壳,第二翼肋连接有第二翼壳。 优选的,双稳态梁上设有两个双稳态控制点,双稳态控制点沿双稳态梁中部的对角线对称设置。 优选的,第一工字梁一端设有与机身连接的安装块,其另一端上下侧分别与第一连接块的一端和第二连接块的一端连接,第一连接块的另一端和第二连接块的另一端之间形成第一连接槽,第一连接槽与第一安装部连接。 优选的,第一翼肋中央的第一安装槽与第一工字梁连接,第一翼肋顶端呈弧形结构,第一翼肋顶端与第一翼壳第一定位部的第一定位槽连接,第一定位部的第一定位块与第一连接部的第二连接槽连接。 优选的,第二翼肋中央的第二安装槽与双稳态梁中部连接,第二翼肋顶端呈弧形结构,第二翼肋顶端与第二翼壳的第二定位槽连接。 优选的,第一翼壳与第二翼壳的长度相同,第一翼肋的长度小于第二翼肋的长度。 优选的,第二安装部通过第三连接块和第四连接块与第二工字梁一端连接,第三连接块和第四连接块分别与第二工字梁上下侧连接。 优选的,第一定位块的高度小于第二连接槽的高度。 因此,本发明采用上述结构的一种基于双稳态梁的机翼结构,其有益效果为:1、在一般载荷时可以保持机翼的稳定几何结构;当机翼发生颤振受到巨大载荷时,双稳态结构被动地其进入另一个稳定的几何结构,从而改变机翼的形状,使之立即脱离颤振的边界; 2、被动改变机翼几何外形即可达到抑制颤振的目的,无需额外传感器和控制器,无需额外的能量注入; 3、达到临界条件即可立即被动响应,响应迅速,实现方便,且在复杂来流条件下都能达到抑制颤振的目的。 下面通过附图和实施例,对本发明的技术方案做进一步的详细描述。 附图说明 图1是本发明一种基于双稳态梁的机翼结构状态a示意图; 图2是本发明一种基于双稳态梁的机翼结构状态a(未画吸盘)仰视图; 图3是本发明一种基于双稳态梁的机翼结构状态a(未画第一翼壳和第二翼壳)示意图; 图4是本发明一种基于双稳态梁的机翼结构的第一翼壳和第一翼肋连接示意图; 图5是本发明一种基于双稳态梁的机翼结构的第二翼壳与第二翼肋连接示意图; 图6是本发明一种基于双稳态梁的机翼结构状态b示意图; 图7是本发明一种基于双稳态梁的机翼结构的双稳态梁状态b的示意图; 图8是本发明一种基于双稳态梁的机翼结构的双稳态梁(未画吸盘)状态a的示意图; 图9是本发明一种基于双稳态梁的机翼结构的双稳态梁状态a仰视剖面图; 图10是本发明一种基于双稳态梁的机翼结构的控制过程示意图。 附图标记 1、第一工字梁;11、安装块;2、第二工字梁;3、双稳态梁;31、第一安装部;32、第二安装部;33、双稳态控制点;34、吸盘;4、第一翼肋;41、第一安装槽;5、第二翼肋;51、第二安装槽;6、第一翼壳;61、第一定位部;62、第一连接部;63、第二连接槽;7、第二翼壳;8、第一连接块;9、第二连接块;10、第三连接块;12、第四连接块。 具体实施方式 以下通过附图和实施例对本发明的技术方案作进一步说明。 除非另外定义,本发明使用的技术术语或者科学术语应当为本发明所属领域内具有一般技能的人士所理解的通常意义。本发明中使用的 " 第一 " 、 " 第二 " 以及类似的词语并不表示任何顺序、数量或者重要性,而只是用来区分不同的组成部分。 " 包括 " 或者 " 包含 " 等类似的词语意指出现该词前面的元件或者物件涵盖出现在该词后面列举的元件或者物件及其等同,而不排除其他元件或者物件。 " 连接 " 或者 " 相连 " 等类似的词语并非限定于物理的或者机械的连接,而是可以包括电性的连接,不管是直接的还是间接的。 " 上 " 、 " 下 " 、 " 左 " 、 " 右 " 等仅用于表示相对位置关系,当被描述对象的绝对位置改变后,则该相对位置关系也可能相应地改变。 实施例1 如图1-10所示,一种基于双稳态梁的机翼结构,包括与双稳态梁3连接的第一工字梁1和第二工字梁2。双稳态梁3两端设有第一安装部31和第二安装部32,其中部的双稳态控制点33外设有吸盘34。第一安装部31与第一工字梁1连接,第二安装部32与第二工字梁2连接。第一工字梁1和第二工字梁2上均连接有若干第一翼肋4,双稳态梁3与第二翼肋5连接,第一翼肋4连接有第一翼壳6,第二翼肋5连接有第二翼壳7。 如图2和图3所示,第一工字梁1上设置有六个第一翼肋4,第二工字梁2上设置有两个第一翼肋4,双稳态梁3上对称设有两个第二翼肋5。第一翼肋4和第二翼肋5的设置,用于确定第一翼壳6和第二翼壳7的位置。第一工字梁1和第二工字梁2采用45号钢以保证整个机翼结构的强度,双稳态梁3由304不锈钢薄板构成。 双稳态梁3上设有两个双稳态控制点33,双稳态控制点33沿双稳态梁3中部的对角线对称设置。双稳态控制点33的截面呈圆形,对双稳态梁3中双稳态控制点33所在的圆形区域进行纳米机械磨损加工。 加工时,通过超声换能器加速多颗直径为2 mm的不锈钢球对该圆形区域进行高速撞击,剧烈冲击引起的塑性变形在未加工区域的约束下拉伸该圆形加工区域使其产生压应力,当来自累积塑性变形的压应力足够大时,该区域会表现出两种双稳态特征。如图7和图8所示,双稳态梁3的两种双稳定特征为状态a和状态b。 如图10所示,未发生颤振时机翼结构处于状态a(如图1所示)。发生颤振后,机翼结构收到气动载荷、惯性力及弹性力迫使机翼结构改变几何结构转变为状态b(如图6所示),从而脱离颤振工况。待机翼结构稳定后,启动吸盘34将双稳态梁3由b状态转变回状态a。 第一工字梁1一端设有与机身连接的安装块11,其另一端上下侧分别与第一连接块8的一端和第二连接块9的一端连接。第一连接块8的另一端和第二连接块9的另一端之间形成第一连接槽,第一连接槽与第一安装部31连接。 第一工字梁1上下侧的凹槽分别与第一连接块8和第二连接块9的形状相匹配,第一连接块8和第二连接块9结构相同,均设置有对应连接的八个安装孔。凹槽设有四个螺纹孔,四个螺纹孔与第一连接块8和第二连接块9一侧的四个安装孔对应连接,从而将第一连接块8和第二连接块9与第一工字梁1连接。 第一安装部31设有四个安装孔,将第一安装部31的四个安装孔与第一连接块8和第二连接块9剩余的四个安装孔对应连接,从而通过第一连接块8和第二连接块9将双稳态梁3与第一工字梁1连接。 如图3和图4所示,第一翼肋4中央的第一安装槽41与第一工字梁1连接,第一翼肋4顶端呈弧形结构。第一翼肋4顶端与第一翼壳6第一定位部61的第一定位槽连接,第一定位部61的第一定位块与第一连接部62的第二连接槽63连接。第一安装槽41的形状与第一工字梁1的形状相匹配,第一定位部61呈弧形结构,通过第一翼肋4将第一翼壳6在第一工字梁1上的位置进行定位。 如图3和图5所示,第二翼肋5中央的第二安装槽51与双稳态梁3中部连接,第二翼肋5顶端呈弧形结构,第二翼肋5顶端与第二翼壳7的第二定位槽连接。第二安装槽51与双稳态梁3中部形状相匹配,通过第二翼肋5定位第二翼壳7在双稳态梁3上的位置。 第一翼壳6与第二翼壳7的长度相同,第一翼肋4的长度小于第二翼肋5的长度。第一翼肋4和第二翼肋5大小不一致,第一翼肋4与第一翼壳6、第二翼肋5与第二翼壳7相配合后得到两个配合件,保证两个配合件的质心位于机翼的气动中心来防止扭转时产生偏心力矩。 第二安装部32通过第三连接块10和第四连接块12与第二工字梁2连接,第三连接块10和第四连接块12分别与第二工字梁2上下侧连接。第三连接块10和第四连接块12与第二工字梁2上下侧形状相匹配,第二工字梁2通过四个安装孔与第三连接块10和第四连接块12一侧的四个安装孔连接,从而将第三连接块10和第四连接块12与第二工字梁2连接。第二安装部32与第三连接块10和第四连接块12另一侧的四个安装孔连接,从而通过第三连接块10和第四连接块12将双稳态梁3与第二工字梁2连接。 第一定位块的高度小于第二连接槽63的高度。 最后应说明的是:以上实施例仅用以说明本发明的技术方案而非对其进行限制,尽管参照较佳实施例对本发明进行了详细的说明,本领域的普通技术人员应当理解:其依然可以对本发明的技术方案进行修改或者等同替换,而这些修改或者等同替换亦不能使修改后的技术方案脱离本发明技术方案的精神和范围。 一种基于双稳态梁的机翼结构
    展开 >
    交易服务流程
    >

    挑选中意的板块

    ----

    客服确认选择专利的交易信息和价格并支付相应款项

    办理转让材料

    ----

    协助双方准备相应的材料

    签订协议

    ----

    协助卖家签订协议

    办理备案手续

    ----

    买卖双方达成一致后

    交易完成

    ----

    交易完成可投入使用

    过户资料 & 安全保障 & 承诺信息
    >

    过户资料

    买卖双方需提供的资料
    公司 个人
    买家 企业营业执照
    企业组织机构代码证
    身份证
    卖家 企业营业执照
    专利证书原件
    身份证
    专利证书原件
    网站提供 过户后您将获得
    专利代理委托书
    专利权转让协议
    办理文件副本请求书
    发明人变更声明
    专利证书
    手续合格通知书
    专利登记薄副本

    安全保障

    承诺信息

    我方拟转让所持标的项目,通过中国汽车知识产权交易平台公开披露项目信息和组织交易活动,依照公开、公平、公正和诚信的原则作如下承诺:

    1、本次项目交易是我方真实意思表示,项目标的权属清晰,除已披露的事项外,我方对该项目拥有完全的处置权且不存在法律法规禁止或限制交易的情形;
    2、本项目标的中所涉及的处置行为已履行了相应程序,经过有效的内部决策,并获得相应批准;交易标的涉及共有或交易标的上设置有他项权利,已获得相关权利 人同意的有效文件。
    3、我方所提交的信息发布申请及相关材料真实、完整、准确、合法、有效,不存在虚假记载、误导性陈述或重大遗漏;我方同意平台按上述材料内容发布披露信息, 并对披露内容和上述的真实性、完整性、准确性、合法性、有效性承担法律责任;
    4、我方在交易过程中自愿遵守有关法律法规和平台相关交易规则及规定,恪守信息发布公告约定,按照相关要求履行我方义务;
    5、我方已认真考虑本次项目交易行为可能导致的企业经营、行业、市场、政策以及其他不可预计的各项风险因素,愿意自行承担可能存在的一切交易风险;
    6、我方在平台所组织交易期间将不通过其他渠道对标的项目进行交易;
    7、我方将按照平台收费办法及相关交易文件的约定及时、足额支付相关费用,不因与受让方争议或合同解除、终止等原因拒绝、拖延、减少交纳或主张退还相关费用。