当前位置: 首页> 专利交易> 详情页
    待售中

    一种多罐全热式SSCR模块的取热装置[ZH]

    专利编号: ZL202602121425

    收藏

    拟转化方式: 转让

    交易价格:面议

    专利类型:实用新型专利

    法律状态:授权

    技术领域:发动机

    发布日期:2026-02-12

    发布有效期: 2026-02-12 至 2027-06-27

    专利顾问 — 王老师

    电话咨询

    咨询电话

    13760886304

    专利基本信息
    >
    申请号 CN201720758461.4 公开号 CN207018063U
    申请日 2017-06-27 公开日 2018-02-16
    申请人 中国第一汽车股份有限公司 专利授权日期 2018-02-16
    发明人 崔龙;张克金;韩建;闫晓东;边海东;于力娜;苏中辉 专利权期限届满日 2027-06-27
    申请人地址 130011 吉林省长春市西新经济技术开发区东风大街2259号 最新法律状态 授权
    技术领域 发动机 分类号 F01N 3/20
    技术效果 高效率 有效性 有效(授权、部分无效)
    专利代理机构 王薇 代理人 王薇
    专利技术详情
    >
    01

    专利摘要

    本实用新型涉及一种多罐全热式SSCR模块的取热装置,其特征在于:两个储氨罐布置在全热式SSCR模块取热装置的外壳内的中部,两个储氨罐上下排列,通过两个固定隔板支撑,氨气出气管将两个储氨罐并联,氨气出气管的出口端开在全热式SSCR模块取热装置的外壳顶面,氨气出气管的出口端连接有角阀,取热装置的尾气出气口开在全热式SSCR模块取热装置的外壳的左上角,快速接口母端即是尾气进气口开在全热式SSCR模块取热装置的外壳的右下角,快速接口母端呈喇叭形,尾气后处理器的快速接口公端与快速接口母端对接;储氨材料填充在储氨罐中。其能解决传统液体SCR系统续驰里程少,车辆出勤率低的问题,同时降低装置总重,简化拆装。
    展开 >
    02

    专利详情

    技术领域

    本实用新型涉及一种多罐全热式SSCR模块的取热装置,主要应用于汽车尾气的
    SCR后处理行业。

    背景技术

    汽车尾气排放能引起严重的大气污染,其主要污染物有碳氢化合物(HC)、一氧化
    碳(CO)、氮氧化物(NOx)和颗粒物(PM)。自20世纪70年代人们开始努力控制汽车尾气排放以
    来,制定了越来越严格的排放法规。为贯彻《中华人民共和国大气污染防治法》,严格控制机
    动车污染,全面实施《轻型汽车污染物排放限值及测量方法(中国五阶段)》(GB18352.5-
    2013)和《车用压燃式、气体燃料点燃式发动机与汽车排气污染物排放限值及测量方法(中
    国Ⅲ、Ⅳ、Ⅴ阶段)》(GB17691-2005)中第五阶段排放标准要求,全国自2017年1月1日起,所
    有制造、进口、销售和注册登记的轻型汽油车、重型柴油车(客车和公交、环卫、邮政用途),
    须符合国五标准要求。因此,汽车对尾气净化技术提出了更大的挑战,更高的要求。

    SCR(Selective Catalytic Reduction)催化转化还原技术是传统的后处理技术。
    这种采用液体尿素的传统的SCR技术本质是利用尿素在高温下分解出氨,作为还原剂的氨
    与发动机排气中的NOx在催化剂和温度的综合作用下进行反应,理想工况下生成无毒的N2
    和H2O,从而达到净化的目的。然而,传统的SCR系统所用的液体尿素还原剂面临冬季结冰和
    保温解冻的问题,以及尿素排气温度较高的条件下,易形成难分解的缩合物,进而堵塞尿素
    还原剂喷嘴或堆积于排气管内,造成发动机排气背压升高,降低车辆燃油经济性。

    因此,如何获得低成本和高性能的NH3还原剂供给装置尤为重要。利用金属氯化物
    与氨气形成配位化合物这一特性,氨气被固定下来,使用的金属氯化物主要为碱土金属氯
    化物,氯化锶、氯化钙、氯化镁,以及必须的辅助添加组分。形成的氨合化合物储氨材料作为
    车载还原剂氨源,在使用的时候通过加热实现氨气的解吸释放,氨气与金属氯化物的吸附
    和解吸是一个可逆的过程。

    由于氨气的解吸附是吸热过程,因此在储氨装置中需要增加热源,在专利号为CN
    102733913 B(双级余热方式储氨供氨的系统)中公布了一种采用发动机的回流冷却液的余
    热来加热活性的储氨化合物,释放出氨的后处理系统。专利号为CN 103470347 A(用于产生
    氨的设备)介绍了一种氨发生设备,其中第一加热装置和第二加热装置分别安装在主存储
    器和副存储器内部并且独立操作。专利号为US2012/0045379 A1(一种利用真空泵从固体储
    氨材料中储存和供给氨气的方法),介绍了存储和输送氨的方法,储氨材料的加热方式为内
    置电加热或外置微波加热或红外加热。专利号为CN 104234796 A(尤其用于机动车辆排气
    系统的具有优化的填充时间的氨存储筒)介绍了一种具有氨气导出通道的内置加热式或外
    包式加热的氨存储筒。

    发明内容

    本实用新型的目的是提供一种多罐全热式SSCR模块的取热装置,其能解决传统液
    体SCR系统续驰里程少,车辆出勤率低的问题,同时降低装置总重,简化拆装。

    本实用新型的技术方案是这样实现的:一种多罐全热式SSCR模块的取热装置,由
    储氨罐、全热式SSCR模块取热装置的外壳、快速接口母端、取热装置尾气出气口、固定隔板、
    氨气出气管、角阀、尾气后处理器、快速接口公端组成,其特征在于:两个储氨罐布置在全热
    式SSCR模块取热装置的外壳内的中部,两个储氨罐上下排列,通过两个固定隔板支撑,氨气
    出气管将两个储氨罐并联,氨气出气管的出口端开在全热式SSCR模块取热装置的外壳顶
    面,氨气出气管的出口端连接有角阀,取热装置的尾气出气口开在全热式SSCR模块取热装
    置的外壳的左上角,快速接口母端即是尾气进气口开在全热式SSCR模块取热装置的外壳的
    右下角,快速接口母端呈喇叭形,尾气后处理器的快速接口公端与快速接口母端对接;储氨
    材料填充在储氨罐中。

    所述的储氨罐为圆柱形,两端为椭球型封头,可以具有5L~20L的容积,罐壁厚度为
    2mm~4mm,其壳体材料由耐氨气腐蚀的铝合金或不锈钢制成, 全热式SSCR模块取热装置的
    外壳内可布置2-5个储氨罐,储氨罐的尺寸可以相等也可以不等。

    所述的全热式SSCR模块取热装置的外壳为长方体结构,材质可以是不锈钢或铝合
    金,厚度为1.5mm~2.5mm,储氨罐的外壁与全热式SSCR模块取热装置的外壳之间的最小距离
    为20mm~50mm。

    所述的固定隔板,其材质可以是不锈钢或铝合金,厚度为2.5mm~3mm,固定隔板上
    留有固定相应数量储氨罐的固定孔,固定隔板上均布有通气孔,通气孔孔径为5mm~10mm,每
    个固定隔板上通气孔的总面积为取热装置尾气进气口面积的3~4倍。

    所述的快速接口母端沿尾气气流方向管径逐渐减小,大径为140~160mm,小径为70
    ~90mm,长度为80~100mm;安装于尾气后处理器上的快速接口公端,沿尾气气流方向管径逐
    渐减小,大径为138~158mm,小径为68~88mm,长度为80~100mm。

    所述的氨气出气管的管内径为0.5cm~1.5cm,管壁厚为2mm~3mm。

    所述的储氨材料可以是氨合氯化锶或氨合氯化钙或氨合氯化镁或能够与NH3形成
    络合物的氯化物。

    本实用新型的积极效果是其结构简单、拆装简易。采用不等径插接管,精简了管路
    连接部件,降低了装置总重2kg~5kg。采用发动机尾气加热储氨材料,充分利用了发动机燃
    料产生的能量,提高了发动机的热效率,节省了燃油消耗。同时,本实用新型中所述的装置
    中NH3还原剂的含量是传统液体尿素还原剂的数倍,因此,使用本装置的车辆续驰里程可以
    提高5~7倍。

    附图说明

    图1 为本实用新型的侧面结构图。

    图2 为本实用新型的正面结构图。

    图3 为本实用新型的固定隔板结构图。

    图4 为本实用新型的三储氨罐的侧面示意图。

    图5为本实用新型的四储氨罐的侧面示意图。

    图6为本实用新型的五储氨罐的侧面示意图。

    图7为本实用新型的五储氨罐的正面示意图。

    具体实施方式

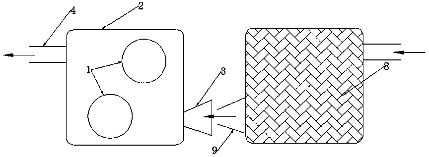
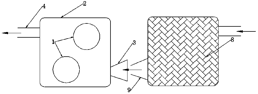
    下面结合附图对本实用新型做进一步说明:如图1-3所示,一种多罐全热式SSCR模
    块的取热装置,由储氨罐1、全热式SSCR模块取热装置的外壳2、快速接口母端3、取热装置尾
    气出气口4、固定隔板5、氨气出气管6、角阀7、尾气后处理器8、快速接口公端9组成,其特征
    在于:两个储氨罐1布置在全热式SSCR模块取热装置的外壳2内的中部,两个储氨罐1上下排
    列,通过两个固定隔板5支撑,氨气出气管6将两个储氨罐1并联,氨气出气管6的出口端开在
    全热式SSCR模块取热装置的外壳2顶面,氨气出气管6的出口端连接有角阀7,取热装置的尾
    气出气口4开在全热式SSCR模块取热装置的外壳2的左上角,快速接口母端3即是尾气进气
    口开在全热式SSCR模块取热装置的外壳2的右下角,快速接口母端3呈喇叭形,尾气后处理
    器8的快速接口公端9与快速接口母端3对接;储氨材料10填充在储氨罐1中。

    如图4-7所示,所述的储氨罐1为圆柱形,两端为椭球型封头,可以具有5L~20L的容
    积,罐壁厚度为2mm~4mm,其壳体材料由耐氨气腐蚀的铝合金或不锈钢制成, 全热式SSCR模
    块取热装置的外壳2内可布置2-5个储氨罐1,储氨罐的尺寸可以相等也可以不等。

    所述的全热式SSCR模块取热装置的外壳2为长方体结构,材质可以是不锈钢或铝
    合金,厚度为1.5mm~2.5mm,储氨罐1的外壁与全热式SSCR模块取热装置的外壳2之间的最小
    距离为20mm~50mm。

    所述的固定隔板5,其材质可以是不锈钢或铝合金,厚度为2.5mm~3mm,固定隔板5
    上留有固定相应数量储氨罐1的固定孔5-1,固定隔板5上均布有通气孔5-2,通气孔5-2孔径
    为5mm~10mm,每个固定隔板5上通气孔的总面积为取热装置尾气进气口面积的3~4倍。

    所述的快速接口母端3沿尾气气流方向管径逐渐减小,大径为140~160mm,小径为
    70~90mm,长度为80~100mm;安装于尾气后处理器8上的快速接口公端9,沿尾气气流方向管
    径逐渐减小,大径为138~158mm,小径为68~88mm,长度为80~100mm。

    所述的氨气出气管6的管内径为0.5cm~1.5cm,管壁厚为2mm~3mm。

    所述的储氨材料10可以是氨合氯化锶或氨合氯化钙或氨合氯化镁或能够与NH3形
    成络合物的氯化物。

    一种双罐全热式SSCR释氨模块的取热装置,适用于3L排量的轻型卡车,安装于尾
    气后处理器的后端;为了保证全热式SSCR释氨模块取热装置的安全性,储氨罐1是不锈钢或
    铝合金材质的耐压罐体,罐体的壁厚为2~3mm,圆柱形,两端为椭球型封头。两个储氨罐的尺
    寸可以相同,也可以一大一小,大罐的体积为小罐的体积3~4倍,储氨罐1通过固定隔板5固
    定于取热装置内部。取热装置的制做流程是将40%储氨罐体积的储氨材料10灌入事先已焊
    好一端封头的储氨罐内,接下来焊接储氨罐的另一端封头;随后将两个储氨罐插入固定隔
    板5的预留孔内,两块隔板分别位于储氨罐轴向长度的1/4和3/4处,接着焊接储氨罐罐壁与
    固定隔板5接触的部位;接下来将储氨罐和固定隔板的组合体放入全热式SSCR模块取热装
    置的外壳2内,随后焊接固定隔板与取热装置外壳的接触部位;然后,安装两个储氨罐的氨
    气出气管6,氨气出气管得接口均位于储氨罐的顶侧,将两根管于外壳内汇为一根出气管,
    并从全热式SSCR模块取热装置的外壳2上的预留孔引出,再在出气管上安装好角阀7,用密
    封胶将氨气出气管6与全热式SSCR模块取热装置的外壳2的接触部位密封;最后,将取热装
    置外壳两侧的端板焊接完备。

    为方便拆装,尾气后处理器的快速接口公端9与取热装置的快速接口母端3采用尺
    寸相匹配的不等径快速插接管。取热装置安装时只需移动取热装置,使其快速接口母端3与
    后处理器上的快速接口公端9插接在一起,即可固定取热装置的托架于车辆的大架上,省去
    了安装法兰的工序。

    使用发动机尾气对储氨罐1进行全包式加热,尾气排气温度通常在150℃~350℃。
    从尾气后处理器8排出的尾气经由取热装置的快速接口母端3进入全热式SSCR模块取热装
    置的外壳2内,流经储氨罐1和全热式SSCR模块取热装置的外壳2之间的区域,并从尾气出气
    口4排出,进而实现尾气对储氨罐的全包式加热,当储氨罐中的储氨材料达到解吸温度时,
    释放出的氨气由氨气出气管导出并进入系统的下一单元。装置正常使用时,角阀处于开启
    状态,当装置中氨气用尽需要更换时,角阀关闭。

    活性气体氨气的通入和吸附的完成是通过氨气出气管6进行的。可以采用高纯工
    业氨瓶,在自然阴凉通风的环境下,通过减压阀和干燥系统,在0.2~0.4MPa的出口压力范围
    内缓慢进行充氨,充氨时间为2~3h;在进行充氨前后称重取氨装置,确认充入氨的净质量在
    预定范围内,完成充氨后,整个系统的阀门关闭,确保不泄露。

    此装置适用于发动机排量为3L的轻型卡车,双罐全热式SSCR模块的取热装置安装
    于SCR后处理器的后侧。根据SCR后处理器对NH3需求量设置储氨罐容积与续驶里程之间的
    关系。例如,双罐总容积为40L的储罐100%充氨后,对于3L发动机的SCR系统,可以续驶
    12000-15000km。

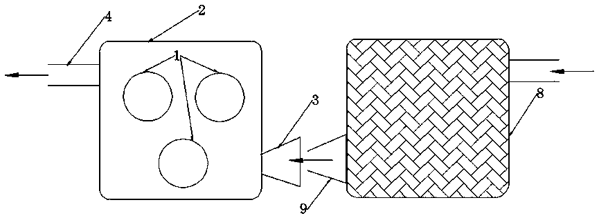
    如图4所示,根据需要在全热式SSCR模块取热装置的外壳2内布置三个储氨罐1时,
    三个储氨罐1的尺寸可以相同,也可以一大二小,大罐的体积为小罐的体积3~4倍,储氨罐1
    通过固定隔板5固定于取热装置内部。

    如图5所示,根据需要在全热式SSCR模块取热装置的外壳2内布置四个储氨罐1时,
    四个储氨罐1的尺寸可以相同,也可以一大二小,两大两小,大罐的体积为小罐的体积3~4
    倍,储氨罐1通过固定隔板5固定于取热装置内部。

    如图6、7所示,根据需要在全热式SSCR模块取热装置的外壳2内布置五个储氨罐1
    时,五个储氨罐1的尺寸可以相同,也可以一大四小,两大三小,大罐的体积为小罐的体积3~
    4倍,储氨罐1通过固定隔板5固定于取热装置内部。

    一种多罐全热式SSCR模块的取热装置

    Technical Field

    The utility model relates to a multi-pot entire hot -like SSCR module and a heat removal device, is mainly applied to the SCR of the car exhaust gas post-processing industry.

    Background Art

    The automobile exhaust emissions can cause serious pollution of the atmosphere, the main pollutants of hydrocarbons (HC), carbon monoxide (CO), nitrogen oxides (NOx) and particulate matter (PM). Since the 20 century 70 age people began efforts to control automobile exhaust emissions since, has developed increasingly stringent emission regulations. For the implementation of the "people's Republic of China of atmospheric pollution", strict control on motor vehicle pollution, the full implementation of the "light automobile emission limit value and the measurement method (China's five stage)" (GB18352.5 - 2013) and "vehicle compression ignition, gas fuel spark-ignition engine and automobile exhaust pollutant emission limits and measuring method (China III, IV, V phase)" (GB17691 - 2005) in the standard requirements of the 5th stage discharge, from National self-1 January 2017, all manufacturing, import, sales and registration of the light petrol vehicles, heavy-duty diesel vehicles (passenger car and bus, sanitation, postal use), shall be conforms to the five standard requirements. Therefore, the automobile exhaust gas purifying technology provides greater challenges, higher requirements.

    SCR (Selective Catalytic Reduction) catalytic reduction technology is the traditional post-processing technology. By adopting the liquid urea of the traditional SCR technology is essentially utilize urea decomposes under the high temperature ammonia, the ammonia as a reducing agent of NOx in the engine exhaust gas in the catalyst and the temperature of the integrated under the action of the reaction, under the conditions of an ideal to produce non-toxic N2 and H2O, thereby achieving the purpose of purification. However, the traditional SCR system for liquid urea reducing agent facing the freezing in winter and heat insulation thawing problems, urea and the exhaust gas temperature under the condition of relatively high, it is easy to form a condensate of hard, further stopping urea reducing agent nozzle or piled in the exhaust pipe, cause the engine exhaust back pressure rises, to reduce the vehicle fuel economy.

    Therefore, how to obtain low cost and high performance of the NH3 reducing agent supply device is particularly important. The use of metal chloride with ammonia to form coordination compounds of this characteristic, the ammonia gas is fixed down, use of the metal chloride is mainly alkaline earth metal chloride, strontium chloride, calcium chloride, magnesium chloride, and must be auxiliary additive component. Ammonia synthesis of compound material formed as a vehicle-mounted reducing agent ammonia an ammonia, when in use by heating to achieve desorption release the ammonia gas, the ammonia gas with the metal chloride to adsorb and desorb a is a reversible process.

    Because the ammonia desorption of heat absorption process is, therefore a need to increase the ammonia storage device in the heat source, in the Patent number CN 102733913 B (double-stage waste heat mode [...] ammonia system) in discloses a backflow of the coolant of the engine waste heat to heat the active chu anhua compound, release leaves the ammonia of the after-treatment system. The Patent number CN 103470347 A (used for producing the ammonia of the equipment) with the introduction of the ammonia generating device, wherein the 2nd 1st heating device and heating device are respectively installed in the main memory and the secondary memory internal and independent operation. The Patent number US2012/0045379 A1 (a uses the vacuum pump from the solid ammonia in the material storage and supply ammonia gas), introduced the method of storing and delivering ammonia, ammonia material for the heating means of the built-in electric heating or external microwave heating or infrared heating. The Patent number CN 104234796 A (in particular for a motor vehicle exhaust system with optimized filling time of ammonia saves the tube) introduced with ammonia derives the channel built-in heating or enclosed heating of the ammonia storage tube.

    Content of the invention

    The purpose of the utility model is to provide a multi-pot entire hot -like SSCR module and a heat removal device, it can solve the traditional liquid SCR system continues spreads less mileage, vehicle attendance is low, at the same time the total weight of the device is reduced, simplifying the assembly and disassembly.

    The technical proposal of the utility model is realized in the way: a multi-pot entire hot -like SSCR module and a heat removal device, by the [...], full heating SSCR module taking heat from the casing of the device, quick interface female end, heating device the exhaust gas outlet, the stationary partition plate, the ammonia gas outlet pipe, angle valve, the exhaust gas post-processor, a fast interface male end, characterized in that two [...] arranged in the entire hot -like SSCR module taking heat from the casing of the device in the middle of the, two [...] are arranged up and down, through the two fixed partition, ammonia gas outlet pipe in parallel the two [...], ammonia gas and a gas outlet opening in the outlet end of the full heating SSCR module taking heat from the top surface of the outer housing of the device, the outlet end of the ammonia gas outlet pipe is connected with the angle valve, from the heat of the exhaust gas outlet opening throughout the heating SSCR module from the heat of the housing of the top-left, fast interface the female end is the exhaust-air inlet opening in the whole heating SSCR module from the heat of the lower right corner of the housing, the venturi fast interface female end, the exhaust gas post-processor fast interface the male end and the female end butt fast interface; ammonia material is filled in the ammonia storage tank.

    The [...] is cylindrical, both ends of the ellipsoidal-shaped head, can have 5L - 20L of the volume, the tank wall thickness is 2 mm - 4 mm, its shell material by ammonia corrosion resistant aluminum alloy or made of stainless steel, the whole heating SSCR module taking heat from the outer housing of the device can be arranged in 2 - 5 a [...], the size of the [...] can be equal can also be unequal.

    The SSCR module states entire hot -like taking heat from the casing of the device is a cuboid structure, can be made of stainless steel or aluminum alloy, the thickness is 1.5 mm - 2.5 mm, and the outer wall of the whole heating [...] SSCR module taking heat from the outer housing of the device is a minimum distance between the 20 mm - 50 mm.

    The fixed baffle, its material may be stainless steel or aluminum alloy, the thickness is 2.5 mm - 3 mm, and fixed baffle with fixed on a corresponding number of the fixing holes of the [...], fixed baffle are uniformly distributed on the vent hole, the vent aperture is 5 mm - 10 mm, each fixed baffle upper vent hole for a total area of from the heat of the exhaust gas inlet area 3 - 4 times.

    The quick interface female end along the exhaust direction of the air flow is gradually reduced diameter, large diameter is 140 - 160 mm, the small diameter is 70 - 90 mm, length of 80 - 100 mm; mounted in the exhaust gas after the fast interface on the processor of the male end, along the direction of the air flow and the diameter of the exhaust gas is reduced gradually, large diameter for the 138 - 158 mm and, small diameter is 68 - 88 mm and, length is 80 - 100 mm.

    The ammonia gas outlet pipe of the internal diameter of the tube is 0.5 cm - 1.5 cm, wall thickness is 2 mm - 3 mm.

    The use of an ammonia synthesis material can be strontium chloride or ammonia synthesis of magnesium chloride or calcium chloride or ammonia synthesis with the NH3 chloride to form a complex.

    The positive effects of the utility model is its simple structure, easily assembled and disassembled. The diameter of the pipe is not inserted, the streamlining of the pipeline connecting component, the total weight of the device is reduced 2 kg - 5 kg. The engine tail gas heating ammonia material, makes full use of the engine fuel to generate energy, and improving the thermal efficiency of the engine, saving fuel consumption. At the same time, in the utility model in the device of the NH3 reducing agent content of the traditional liquid urea reducing agent is several times, therefore, the use of the device of the vehicle continues spreads the mileage can be improved by 5 - 7 times.

    Description of drawings

    Figure 1 is the side chart of of of the present utility model.

    Figure 2 is the positive chart of of of the present utility model.

    Figure 3 is the fixed baffle structure chart of the of the present utility model.

    Figure 4 is the side schematic view of three chu of of ammonia pot of the present utility model.

    Figure 5 is the side schematic view of four of the [...] of the present utility model.

    Figure 6 is the side schematic view of the of the five chu anguan of the present utility model.

    Figure 7 is the schematic front view of the of the five chu anguan of the present utility model.

    Mode of execution

    The Figure below to further illustrate the utility model as: as shown in Figure 1-3, a multi-pot entire hot -like SSCR module and a heat removal device, by the [...] 1, entire hot -like SSCR module taking heat from the casing of the device 2, fast interface of the female end 3, heating device exhaust gas outlet 4, the stationary partition 5, the ammonia gas outlet pipe 6, angle valve 7, the exhaust gas post-processor 8, fast interface male end 9 composition, characterized in that two [...] 1 is arranged in the entire hot -like SSCR module taking heat from the casing of the device 2 in the middle of the, two [...] 1 are arranged up and down, through two fixed baffle 5 support, ammonia gas outlet pipe 6 the two [...] 1 connected in parallel, the ammonia gas outlet pipe 6 opening in the outlet end of the whole heating SSCR module taking heat from the casing of the device 2 the top surface, the ammonia gas outlet pipe 6 connected to the canted valve outlet end of 7, from the heat of the exhaust-gas outlet 4 open throughout the heating SSCR module taking heat from the casing of the device 2 of the upper-left, fast interface of the female end 3 is the exhaust-air inlet opening in the whole heating SSCR module taking heat from the casing of the device 2 of the lower right corner, fast interface of the female end 3 to the trumpet shape, the exhaust gas post-processor 8 fast interface male end 9 and fast interface female 3 butt; an ammonia material 10 is filled in the [...] 1 in.

    As shown in Figure 4-7, the [...] 1 is cylindrical, both ends of the ellipsoidal-shaped head, can have 5L - 20L of the volume, the tank wall thickness is 2 mm - 4 mm, its shell material by ammonia corrosion resistant aluminum alloy or made of stainless steel, the whole heating SSCR module taking heat from the casing of the device 2 can be arranged in 2 - 5 a [...] 1, the size of the [...] can be equal can also be unequal.

    The SSCR module states entire hot -like taking heat from the casing of the device 2 is a cuboid structure, can be made of stainless steel or aluminum alloy, the thickness is 1.5 mm - 2.5 mm, [...] 1 with the outer wall of the whole heating SSCR module taking heat from the casing of the device 2 is a minimum distance between the 20 mm - 50 mm.

    The fixed baffle 5, its material can be of stainless steel or aluminum alloy, the thickness is 2.5 mm - 3 mm, the stationary partition 5 [...] with fixed on a corresponding number of 1 of the fixing hole 5 - 1, the stationary partition 5 are uniformly distributed on the vent hole 5 - 2, the vent hole 5 - 2 with a pore size of 5 mm - 10 mm, each fixed baffle 5 upper vent hole for a total area of from the heat of the exhaust gas inlet area 3 - 4 times.

    The quick interface of the female end 3 along the exhaust direction of the air flow is gradually reduced diameter, large diameter is 140 - 160 mm, the small diameter is 70 - 90 mm, length of 80 - 100 mm; the mounting for the exhaust gas post-processor 8 fast interface on the male end 9, along the diameter of the exhaust gas flow direction is reduced gradually, large diameter for the 138 - 158 mm and, small diameter is 68 - 88 mm and, length is 80 - 100 mm.

    The ammonia gas outlet pipe 6 of the internal diameter of the tube is 0.5 cm - 1.5 cm, wall thickness is 2 mm - 3 mm.

    The use of an material 10 can be ammonia or ammonia synthesis of strontium calcium chloride or magnesium chloride or ammonia synthesis with the NH3 chloride to form a complex.

    A double-pot entire hot -like SSCR [...] module and a heat removal device, suitable for 3 L displacement of light trucks, is installed in the exhaust gas after the rear end of the processor; in order to ensure the full heating SSCR [...] module taking heat from the safety of the device, [...] 1 is stainless steel or aluminum alloy material of the pressure tank, and the wall thickness of the tank body 2 - 3 mm, cylindrical, and both ends of the ellipsoidal-shaped head. The size of the two [...] can be the same, can also be one large and one small, wheat koji is the volume of the volume of the tentacle and 3 - 4 times, [...] 1 through the fixed baffle plate 5 is fixed to the inside of the heat removal device. Heating device for making flow is to 40% ammonia tank volume of ammonia material 10 prior has already welded into one end of the ammonia in the tank head, and then welding the other end of the [...] head; then the two [...] is inserted into the fixing plate 5 of the prepared hole, the two partitions are respectively positioned at the chu anguan axis to the length of the 1/4 and 3/4 at, then welding ammonia tank wall and the stationary partition 5 the contact part of the; next the [...] and fixed baffle assembly is put in the whole heating SSCR module taking heat from the casing of the device 2 in, subsequently welded and fixed baffle plate and the contact part of the casing and a heat removal device; then, install the two [...] ammonia gas outlet pipe 6, the ammonia gas outlet pipe shall interface are both located on the top side of the [...], the two domestic remittance to the top of the pulled casing and an air outlet pipe, and from the entire hot -like SSCR module taking heat from the casing of the device 2 from the reservation on the hole, and then installed in the pipe angle valve 7, for sealing the ammonia outlet pipe 6 and the whole heating SSCR module taking heat from the casing of the device 2 the contact portions of the sealing; finally, the two sides of the shell and a heat removal device in the end of the welding is complete.

    For the convenience of assembly and disassembly, the exhaust gas post-processor fast interface male end 9 and a heat removal device with fast interface of the female end 3 by matching the size of the different diameters of the quick inserting pipe. Heating device installed only by moving the heat removal device, so that the fast interface female 3 fast with the post-processor on the interface of the male end 9 are inserted together, and a heat removal device can be fixed to the bracket on the frame of the vehicle, the process saves the mounting flange.

    The use of engine exhaust gas to [...] 1 to enclosed heating, the exhaust air temperature usually in 150 °C -350 °C. From the exhaust gas after the processor 8 of the exhaust gas discharged by the heat removal device fast interface of the female end 3 into the full heating SSCR module taking heat from the casing of the device 2 in, flows through the [...] 1 and entire hot -like SSCR module taking heat from the casing of the device 2 in the area between, and from the exhaust-gas outlet 4 discharge, thereby realizing the exhaust gas to [...] of enclosed heating, storing the ammonia in the tank when the ammonia desorption temperature of material to reach the, release of ammonia by ammonia gas outlet pipe derived and enter the system of the next unit. Device when in normal use, angle valve is in the open state, when the device needs to be replaced when the ammonia gas in the exhaustion, angle valve closed.

    The active gas of ammonia gas access and adsorption is achieved by ammonia gas outlet pipe 6 of the. Can adopt the high-purity industrial ammonia bottle, in ventilation under the environment of natural well-ventilated, through the pressure reducing valve and drying system, in the 0.2 - 0.4 mpa pressure within the outlet of the slow pace of sufficient ammonia, sufficient ammonia time is 2 - 3 H-; sufficient ammonia takes the ammonia in the front and the rear of the weighing device, recognizing the ammonia into the net quality within a predetermined range, after the completion of sufficient ammonia, the closing of the valve of the whole system, to ensure that the leakage does not occur.

    This device is suitable for the displacement of the engine 3 L of light trucks, double-pot entire hot -like SSCR module and a heat removal device is mounted on the rear side of the processor after the SCR. According to the NH3 SCR post-processor to set up with demand [...] volume relationship between the mileage. For example, the double-tank total volume of 40 L of the storage tank 100% after sufficient ammonia, for 3 L SCR system of the engine, can be continuous driving 12000 - 15000 km.

    As shown in Figure 4, according to need in the whole heating SSCR module taking heat from the casing of the device 2 is arranged in the three [...] 1 when, three [...] 1 can be the same as the size of the, can also be a major and two minor, wheat koji is the volume of the volume of the tentacle and 3 - 4 times, [...] 1 through the fixed baffle plate 5 is fixed to the inside of the heat removal device.

    As shown in Figure 5, according to the needs of the SSCR throughout the heating module taking heat from the casing of the device 2 are arranged in the four [...] 1 when, four [...] 1 can be the same as the size of the, can also be a major and two minor, two major two small, wheat koji is the volume of the volume of the tentacle and 3 - 4 times, [...] 1 through the fixed baffle plate 5 is fixed to the inside of the heat removal device.

    As shown in Figure 6, 7 is shown, according to the needs of the SSCR throughout the heating module taking heat from the casing of the device 2 is arranged in the five [...] 1 when, five [...] 1 can be the same as the size of the, can also be a large four small, two large and three small, wheat koji is the volume of the volume of the tentacle and 3 - 4 times, [...] 1 through the fixed baffle plate 5 is fixed to the inside of the heat removal device.

    Full hot type SSCR module of multiple tank get heat facility
    展开 >
    说明书附图
    >
    交易服务流程
    >

    挑选中意的板块

    ----

    客服确认选择专利的交易信息和价格并支付相应款项

    办理转让材料

    ----

    协助双方准备相应的材料

    签订协议

    ----

    协助卖家签订协议

    办理备案手续

    ----

    买卖双方达成一致后

    交易完成

    ----

    交易完成可投入使用

    过户资料 & 安全保障 & 承诺信息
    >

    过户资料

    买卖双方需提供的资料
    公司 个人
    买家 企业营业执照
    企业组织机构代码证
    身份证
    卖家 企业营业执照
    专利证书原件
    身份证
    专利证书原件
    网站提供 过户后您将获得
    专利代理委托书
    专利权转让协议
    办理文件副本请求书
    发明人变更声明
    专利证书
    手续合格通知书
    专利登记薄副本

    安全保障

    承诺信息

    我方拟转让所持标的项目,通过中国汽车知识产权交易平台公开披露项目信息和组织交易活动,依照公开、公平、公正和诚信的原则作如下承诺:

    1、本次项目交易是我方真实意思表示,项目标的权属清晰,除已披露的事项外,我方对该项目拥有完全的处置权且不存在法律法规禁止或限制交易的情形;
    2、本项目标的中所涉及的处置行为已履行了相应程序,经过有效的内部决策,并获得相应批准;交易标的涉及共有或交易标的上设置有他项权利,已获得相关权利 人同意的有效文件。
    3、我方所提交的信息发布申请及相关材料真实、完整、准确、合法、有效,不存在虚假记载、误导性陈述或重大遗漏;我方同意平台按上述材料内容发布披露信息, 并对披露内容和上述的真实性、完整性、准确性、合法性、有效性承担法律责任;
    4、我方在交易过程中自愿遵守有关法律法规和平台相关交易规则及规定,恪守信息发布公告约定,按照相关要求履行我方义务;
    5、我方已认真考虑本次项目交易行为可能导致的企业经营、行业、市场、政策以及其他不可预计的各项风险因素,愿意自行承担可能存在的一切交易风险;
    6、我方在平台所组织交易期间将不通过其他渠道对标的项目进行交易;
    7、我方将按照平台收费办法及相关交易文件的约定及时、足额支付相关费用,不因与受让方争议或合同解除、终止等原因拒绝、拖延、减少交纳或主张退还相关费用。