当前位置: 首页> 专利交易> 详情页
    待售中

    用于汽车方向盘上的浮动式喇叭机构[ZH]

    专利编号: ZL202508282343

    收藏

    拟转化方式: 转让;普通许可;独占许可;排他许可;作价投资;开放许可;其他(面议)

    交易价格:面议

    专利类型:实用新型专利

    法律状态:授权

    技术领域:电子电器

    发布日期:2025-08-28

    发布有效期: 2025-08-28 至 2027-01-18

    专利顾问 — 王老师

    电话咨询

    咨询电话

    13760886304

    专利基本信息
    >
    申请号 CN201720057598.7 公开号 CN206436907U
    申请日 2017-01-18 公开日 2017-08-25
    申请人 重庆长安汽车股份有限公司 专利授权日期 2017-08-25
    发明人 罗培春 专利权期限届满日 2027-01-18
    申请人地址 400023 重庆市江北区建新东路260号;400023, No. 260, Jianxin East Road, Jiangbei District, Chongqing Municipal District Chongqing City CN 400023 最新法律状态 授权
    技术领域 电子电器 分类号 B60Q5/00(2006.01)I
    技术效果 其他技术效果 有效性 有效(授权、部分无效)
    专利代理机构 重庆华科专利事务所 50123 代理人 夏洪
    专利技术详情
    >
    01

    专利摘要

    本实用新型公开了一种用于汽车方向盘上的浮动式喇叭机构,包括方向盘本体、限位钢丝、骨架、浮动式喇叭机构和安全气囊模块,浮动式喇叭机构的上、下卡扣分别包裹在上、下导电钢丝上,回位弹簧的两头分别卡接在上、下卡扣上,下卡扣卡接在骨架的安装点上。限位钢丝上设置有包覆层,通过包覆层卡入骨架的卡接口内。安全气囊模块的壳体扣在方向盘本体上,壳体的下表面抵压在上卡扣上表面,导向卡钩伸入骨架内与限位钢丝的包覆层卡接,使包覆层限位在导向卡钩下端的钩状结构内。本实用新型避免了回位弹簧在被压缩与复位过程中产生噪声。
    展开 >
    02

    专利详情

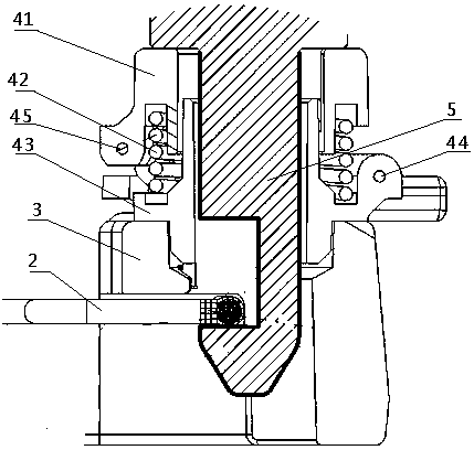
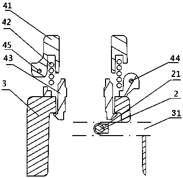
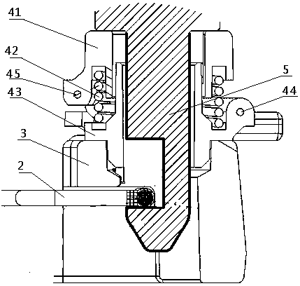
    用于汽车方向盘上的浮动式喇叭机构技术领域本实用新型涉及汽车的部件,更具体地说涉及一种用于汽车方向盘上的浮动式喇叭机构。背景技术浮动式喇叭机构是汽车喇叭机构的主要形式之一。该结构形式不仅能实现喇叭按响功能,同时将方向盘与安全气囊模块有效地配合在一起实现对驾驶员被动安全保护的重要作用。浮动式喇叭机构,包括回位弹簧,当按压安全气囊模块时回位弹簧被压缩,触点上导电钢丝与下导电钢丝接触,喇叭回路导通,实现按响功能,当松开安全气囊模块时回位弹簧复位,触点处的上、下导电钢丝都分离,喇叭回路断开,按响停止。回位弹簧复位过程中导向卡钩与限位钢丝发生碰撞进而产生刺耳的金属撞击声,回位弹簧被压缩与复位过程中导向卡钩与导向孔发生摩擦进而产生 " 沙沙 " 的摩擦声。金属撞击声和摩擦声增加了驾驶仓内噪声水平,降低了乘坐舒适性。发明内容本实用新型的目的是提供一种用于汽车方向盘上的浮动式喇叭机构,以避免回位弹簧在被压缩与复位过程中产生噪声。本实用新型所述用于汽车方向盘上的浮动式喇叭机构,包括方向盘本体、限位钢丝、骨架、浮动式喇叭机构和设置在方向盘上的安全气囊模块,方向盘本体包裹在骨架上,安全气囊模块包括壳体和设置在壳体下表面的导向卡钩。所述浮动式喇叭机构包括上卡扣、回位弹簧、下卡扣、下导电钢丝和上导电钢丝,上卡扣注塑成型,并包裹在上导电钢丝上,下卡扣注塑成型,并包裹在下导电钢丝上;回位弹簧的一头卡接在上卡扣上,另一头卡接在下卡扣上,下卡扣卡接在骨架的安装点上。所述限位钢丝上设置有包覆层,限位钢丝通过包覆层卡入骨架的卡接口内。所述安全气囊模块的壳体扣在方向盘本体上,壳体的下表面抵压在上卡扣上表面,壳体上的导向卡钩伸入骨架内与限位钢丝的包覆层卡接,使包覆层限位在导向卡钩下端的钩状结构内。进一步,所述包覆层采用聚甲醛制成。聚甲醛具有很好的综合性能,是塑料材料中力学性能最接近金属的品种之一,其抗张强度、弯曲强度、耐疲劳强度和耐摩性十分优良,能在-40℃—100℃环境中长期使用。本实用新型所述用于汽车方向盘上的浮动式喇叭机构,由于具有上述结构,在回位弹簧在被压缩与复位过程中导向卡钩与包覆层发生碰撞,减小撞击部位和导向部位的摩擦而产生的噪声,提高了乘坐舒适性。附图说明图1为本实用新型的结构示意图;图2为本实用新型未安装安全气囊模块时的结构示意图;图3为本实用新型中骨架的结构示意图;图4为本实用新型中限位钢丝的结构示意图;图5为图4中沿NN线的剖面图;图6为本实用新型中浮动式喇叭机构的结构示意图;图7为本实用新型中浮动式喇叭机构另一角度的结构示意图;图8为本实用新型中安全气囊模块壳体的结构示意图;图9为图2中沿KK线的剖面图(未安装安全气囊模块);图10为图2中沿KK线的剖面图(已安装安全气囊模块)。具体实施方式为了进一步解释本实用新型的技术方案,下面结合附图来对本实用新型进行详细阐述。参见图1至图10所示,该用于汽车方向盘上的浮动式喇叭机构,包括方向盘本体1、限位钢丝2、骨架3、浮动式喇叭机构4和设置在方向盘上的安全气囊模块。方向盘本体1包裹在骨架3上。所述浮动式喇叭机构4包括上卡扣41、回位弹簧42、下卡扣43、下导电钢丝44和上导电钢丝45,上卡扣41注塑成型,并包裹在上导电钢丝45上,下卡扣43注塑成型,并包裹在下导电钢丝44上。回位弹簧的一头卡接在上卡扣41上,另一头卡接在下卡扣43上,下卡扣43卡接在骨架的安装点32上。所述限位钢丝2上设置有包覆层,包覆层采用聚甲醛制成。限位钢丝2通过包覆层卡入骨架3的卡接口31内。安全气囊模块包括壳体6和设置在壳体6下端的导向卡钩5。安全气囊模块的壳体6扣在方向盘本体1上,壳体6的下表面抵压在上卡扣41上表面,壳体上的导向卡钩5伸入骨架内与限位钢丝2的包覆层卡接,使包覆层限位在导向卡钩5下端的限位槽内。
    展开 >
    交易服务流程
    >

    挑选中意的板块

    ----

    客服确认选择专利的交易信息和价格并支付相应款项

    办理转让材料

    ----

    协助双方准备相应的材料

    签订协议

    ----

    协助卖家签订协议

    办理备案手续

    ----

    买卖双方达成一致后

    交易完成

    ----

    交易完成可投入使用

    过户资料 & 安全保障 & 承诺信息
    >

    过户资料

    买卖双方需提供的资料
    公司 个人
    买家 企业营业执照
    企业组织机构代码证
    身份证
    卖家 企业营业执照
    专利证书原件
    身份证
    专利证书原件
    网站提供 过户后您将获得
    专利代理委托书
    专利权转让协议
    办理文件副本请求书
    发明人变更声明
    专利证书
    手续合格通知书
    专利登记薄副本

    安全保障

    承诺信息

    我方拟转让所持标的项目,通过中国汽车知识产权交易平台公开披露项目信息和组织交易活动,依照公开、公平、公正和诚信的原则作如下承诺:

    1、本次项目交易是我方真实意思表示,项目标的权属清晰,除已披露的事项外,我方对该项目拥有完全的处置权且不存在法律法规禁止或限制交易的情形;
    2、本项目标的中所涉及的处置行为已履行了相应程序,经过有效的内部决策,并获得相应批准;交易标的涉及共有或交易标的上设置有他项权利,已获得相关权利 人同意的有效文件。
    3、我方所提交的信息发布申请及相关材料真实、完整、准确、合法、有效,不存在虚假记载、误导性陈述或重大遗漏;我方同意平台按上述材料内容发布披露信息, 并对披露内容和上述的真实性、完整性、准确性、合法性、有效性承担法律责任;
    4、我方在交易过程中自愿遵守有关法律法规和平台相关交易规则及规定,恪守信息发布公告约定,按照相关要求履行我方义务;
    5、我方已认真考虑本次项目交易行为可能导致的企业经营、行业、市场、政策以及其他不可预计的各项风险因素,愿意自行承担可能存在的一切交易风险;
    6、我方在平台所组织交易期间将不通过其他渠道对标的项目进行交易;
    7、我方将按照平台收费办法及相关交易文件的约定及时、足额支付相关费用,不因与受让方争议或合同解除、终止等原因拒绝、拖延、减少交纳或主张退还相关费用。