当前位置: 首页> 专利交易> 详情页
    待售中

    一种驾驶室线束集中接地组件[ZH]

    专利编号: ZL202602121428

    收藏

    拟转化方式: 转让

    交易价格:面议

    专利类型:实用新型专利

    法律状态:授权

    技术领域:电子电器

    发布日期:2026-02-12

    发布有效期: 2026-02-12 至 2027-06-23

    专利顾问 — 王老师

    电话咨询

    咨询电话

    13760886304

    专利基本信息
    >
    申请号 CN201720738925.5 公开号 CN206806528U
    申请日 2017-06-23 公开日 2017-12-26
    申请人 中国第一汽车股份有限公司 专利授权日期 2017-12-26
    发明人 卢晶;赵帅;李国辉;赵岩;宋为民;管靖 专利权期限届满日 2027-06-23
    申请人地址 130011 吉林省长春市西新经济技术开发区东风大街2259号 最新法律状态 授权
    技术领域 电子电器 分类号 H01R 4/66
    技术效果 便捷性 有效性 有效(授权、部分无效)
    专利代理机构 郑青松 代理人 郑青松
    专利技术详情
    >
    01

    专利摘要

    本实用新型提供了一种驾驶室线束集中接地组件,包括:公端插接器、母端端子、母端插接器和接地端子,所述母端端子布置在所述公端插接器中,所述母端插接器的上端和下端开放,所述公端插接器从所述母端插接器的上端插入,所述接地端子从所述母端插接器的下端插入,以与所述母端端子对接,所述接地端子与所述母端插接器通过卡接结构而固定在一起,所述接地端子通过螺栓结构而固定于车身钣金。本实用新型的驾驶室线束集中接地组件在整车线束出现搭铁线故障时,能够准确确定故障回路及故障点,并且不需要专有模具压接端子。
    展开 >
    02

    专利详情

    技术领域

    本实用新型涉及接地插接结构,具体涉及一种驾驶室线束集中接地组件。

    背景技术

    车用搭铁作为线束回路的重要组成部件,在车辆线束设计中必不可少,且随着整
    车电子电气部件比重的不断加大,以及电子电气系统性能需求的不断提高,对车辆线束搭
    铁的数量、可靠性及维修方便性提出了更高的要求。

    在传统的线束设计中,车辆线束搭铁采用以下两种方式:

    第一种方式:将需要搭铁的导线通过套筒焊接至指定导线,指定导线压接至接地
    端子后,通过螺接与车架/车身固定,实现搭铁功能;第二种方式:需要接地的多根导线直接
    压接在接地端子上,接地端子通过螺接与车架/车身固定,实现搭铁功能。

    然而,对于上述第一种方式,由于多个用电设备共同使用接地点,并且连接位置均
    隐藏于线束中,在出现接地短路、断路或干扰后,进行检查时,无法准确确定故障回路及故
    障点;此外,上述两种方式在线束生产时都需要专用端子压接模具,使得成本提高和过程复
    杂化。

    实用新型内容

    本实用新型的实例要解决的技术问题是提供一种驾驶室线束集中接地组件,在整
    车线束出现搭铁线故障时,能够准确确定故障回路及故障点,并且不需要专有模具压接端
    子。

    本实用新型采用的技术方案为:

    本实用新型实施例提供一种驾驶室线束集中接地组件,包括:公端插接器、母端端
    子、母端插接器和接地端子,所述母端端子布置在所述公端插接器中,所述母端插接器的上
    端和下端开放,所述公端插接器从所述母端插接器的上端插入,所述接地端子从所述母端
    插接器的下端插入,以与所述母端端子对接,其中,所述接地端子与所述母端插接器通过卡
    接结构而固定在一起,所述接地端子包括插接部和接地部,所述插接部包括间隔配置的两
    个插接端和连接两个插接端的连接端,所述插接端自所述连接端向上延伸形成,所述插接
    端包括与所述连接端连接的基体和自所述基体向上延伸形成的多个条形体,所述多个条形
    体之间间隔配置;所述接地部自所述插接端向下弯折形成,并在端部形成有通孔。

    可选地,所述卡接结构包括形成在所述基体的侧部的长条形凹槽和形成在所述插
    接器下端内侧与所述凹槽相配合的突出部。

    可选地,所述条形体的高度相同。

    可选地,所述两个插接端包括第一插接端和第二插接端,其中,所述第一插接端上
    形成有以预定间隔配置的多个条形体,所述第二插接端上形成有间隔配置的两个阵列组,
    每个阵列组包括以预定间隔配置的多个条形体。

    可选地,所述接地部自所述两个阵列组之间的区域延伸并向下弯折形成。

    可选地,所述插接部和所述接地部一体形成。

    可选地,所述母端插接器的下端形成有与所述插接部截面形状相对应的凹孔,所
    述凹孔的两侧形成有所述突出部。

    可选地,所述接地部与车身钣金连接。

    与现有技术相比,本实用新型的驾驶室线束集中接地组件,在整车线束出现搭铁
    线故障时,可以通过断开插接器连接的方式判断具体断路位置;同时,可以通过将接地端子
    退出与之对接的母端端子后重新插接的方法,判断短路位置。并且,由于采用插接器形式实
    现搭铁,端子压接结构一致,从而减少了专用模具的种类。

    附图说明

    图1为本实用新型的驾驶室线束集中接地组件的结构示意图;

    图2为本实用新型的接地端子和母端插接器处于分离状态的结构示意图;

    图3为本实用新型的接地端子的主视图;

    图4为本实用新型的接地端子的侧视图;

    图5为图4中的圈形区域的放大图;

    图6为本实用新型的接地端子和母端插接器处于结合状态的结构示意图。

    具体实施方式

    为使本实用新型要解决的技术问题、技术方案和优点更加清楚,下面将结合附图
    及具体实施例进行详细描述。

    图1为本实用新型的驾驶室线束集中接地组件的结构示意图;图2为本实用新型的
    接地端子和母端插接器处于分离状态的结构示意图;图3为本实用新型的接地端子的主视
    图;图4为本实用新型的接地端子的侧视图;图5为图4中的圈形区域的放大图;图6为本实用
    新型的接地端子和母端插接器处于结合状态的结构示意图。

    如图1和图2所示,本实用新型实施例提供的一种驾驶室线束集中接地组件,包括:
    公端插接器1、母端端子、母端插接器2和接地端子3,所述母端端子布置在所述公端插接器1
    中,所述母端插接器2的上端和下端开放,所述公端插接器1从所述母端插接器2的上端插
    入,所述接地端子3从所述母端插接器2的下端插入,以与所述母端端子对接,所述接地端子
    3和所述母端插接器2通过卡接结构而固定在一起。

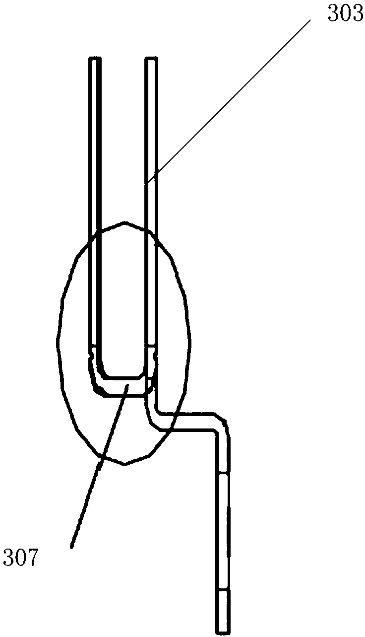
    如图3和图4所示,所述接地端子3包括插接部302和接地部301,插接部302用于与
    母端端子插接,接地部301用于连接至车身钣金上。所述插接部302形成为侧面为U型的形状
    (如图4所示)。具体地,所述插接部302包括间隔配置的两个插接端303和连接两个插接端的
    连接端307,两个插接端303和连接端307配合形成为U型的形状。每个插接端303自所述连接
    端307向上延伸形成,具体垂直向上延伸形成,所述插接端303包括与所述连接端307连接的
    基体和自所述基体向上延伸形成的多个条形体304,所述多个条形体304之间间隔配置。在
    一个示例中,所有的条形体304的高度相同,用于与母端端子对接,此外,可在条形体周面形
    成有倒角。

    所述接地部301自所述插接端303向下弯折形成,并在端部形成有通孔306,所述接
    地部301通过该通孔306,通过螺栓而固定于车身钣金上。具体地,接地部301自一个接地端
    303向下弯折形成,如图4所示,可先向下延伸至一定位置,然后弯折以在水平方向延伸,水
    平方向延伸预定距离后,向下延伸预定距离,从而形成弯折的接地部301,在实际生产中,接
    地部301可为形成与之连接的插接端303的材料向下弯折形成。

    更详细地,将两个插接端303中的一个插接端称作第一插接端,另一个称作第二插
    接端,其中,所述第一插接端上形成有以预定间隔配置的多个条形体,例如,以预定间隔形
    成8个条形体,所述第二插接端上形成有间隔配置的两个阵列组,每个阵列组包括以预定间
    隔配置的多个条形体,例如,每个阵列组可包括以预定间隔形成的3个条形体,这3个条形体
    之间的间隔可与第一插接端上的条形体之间的间隔相同,所述接地部301自所述两个阵列
    组之间的区域延伸并向下弯折形成。这样,在使用板状材料形成接地端子时,在将该材料成
    型为U型形状后,在第一插接端以预定间隔进行切割形成多个条形体,在第二插接端以预定
    间隔分别在左右端切割形成两个阵列组,将位于两个阵列组之间的材料向下按照预定方式
    弯折形成接地部301。也就是说,接地部301与插接部302可通过一块材料一体形成,没有通
    过分开形成之后连接在一起,例如通过焊接或螺接连接在一起,因此能够极大地减少接地
    端子的电阻,导电性能好。

    进一步地,如图5和图6所示,所述卡接结构包括沿所述基体的侧部的长度方向形
    成的长条形凹槽305和形成在母端插接器2的下端内侧与所述凹槽305相配合的突出部202,
    这样,当接地端子3从母端插接器2的下端插入时,接地端子3上的凹槽会卡在突出部202,从
    而将接地端子3卡接安装在母端插接器2上。在本实用新型的另一个实施例中,在母端插接
    器2的下端形成有与所述插接部截面形状相对应的凹孔201,所述凹孔201的两侧形成有所
    述突出部202,这样能够方便接地端子3的插入和退出。需要注意的是,本实用新型的卡接结
    构也可以采用其他形式的结构,只要能够实现母端插接器2和接地端子3之间的连接即可。

    在使用本实用新型的接地组件在时,将所有需要接地的导线,压接在公端插接器
    的母端端子后插入母端插接器,与插入在母端插接器中的接地端子进行对接,然后将使用
    螺栓将接地端子的接地部与车身钣金螺接在一起,所有需接地线束通过接地端子3与车身
    钣金连接,实现接地功能,进而实现母端端子-接地端子-车身钣金-蓄电池负极回路,完成
    搭铁功能。

    需要注意的是,本实用新型的公端插接器和母端端子可采用现有的插接器结构,
    公端插接器上可形成有预留孔位,以提升变型车线束设计及改装方便性。

    以上所述是本实用新型的优选实施方式,应当指出,对于本技术领域的普通技术
    人员来说,在不脱离本实用新型所述原理的前提下,还可以做出若干改进和润饰,这些改进
    和润饰也应视为本实用新型的保护范围。

    一种驾驶室线束集中接地组件

    Technical Field

    The utility model relates to ground connection structure, and in particular relates to a cab harness centralized grounding assembly.

    Background Art

    Vehicle ground as a harness loop of the important component, essential for the vehicle wiring harness in the design, and with the electronic and electric components of the whole of the continuous increase in the proportion of, and electronic and electrical system to continuously improve the performance requirements of the, to the number of the ground of the vehicle wire harness, reliability and maintenance convenience to a higher demand.

    In the wire harness in the traditional design, the vehicle wiring harness ground adopts the following two ways:

    1st way: will require the ground wire through the sleeve is welded to the designated wire, designated a conductor is connected to the grounding terminal post, through the screw connection/fixed to the vehicle body frame, to realize the ground function; 2nd way: needed to a plurality of leads connected to the direct pressure on a ground terminal, the ground terminal through the screw connection/fixed to the vehicle body frame, to realize the ground function.

    However, for the above-mentioned 1st way, because a plurality of electric equipment point of common use, and the connection position is hidden in the wire harness, in the event of a short to ground, after an open or interference, when examining, cannot accurately determine the fault loop and fault point; in addition, the two methods mentioned above in the harness production when the need for a special terminal crimping die, so that the increased cost and complicate the process.

    Content of the utility model

    Embodiment of the utility model technical problem to be solved is to provide a driver's cab harness centralized grounding assembly, the vehicle harness fault when put up the iron wire, can accurately determine the fault loop and fault point, and does not require the special die press-fit terminal.

    The utility model adopts the technical scheme is as follows:

    Embodiment of the utility model provides a cab harness centralized grounding assembly, comprising: a male connector, the female end terminal, the female end connector and the ground terminal, the [...][...] terminal is disposed in the connector, the connector [...] upper and lower end of the opening, the connector [...][...] connector from the upper end of the insert, the ground terminal from the [...] inserted into the lower end of the connector, with the [...] terminal butt joint, wherein the grounding terminal with the [...] connector are fixed through a clamping structure, the grounding terminal comprises the insertion part and the grounding part, the insertion part comprising the spacing configuration of the two inserting and connecting two of the end part of the connecting end, the connecting end of the self-[...] formed extending over, the [...] including said connecting end connected with the basal body and since the base body is extended upwards to form a plurality of strip-shaped body, the plurality of strip body are arranged at intervals between; the grounding part is formed the [...] is bent downwards to form, and in the end of the through hole is formed.

    Optionally, [...] structure includes forming the base body in the side part of the strip-shaped groove and formed on the inner side of the lower end of the plug-in connector with the matched with the grooves of the projecting part.

    Optionally, the strip-shaped body of the same height.

    Optionally, the two plugging end of the 1st and 2nd a plugging end of the inserted end, wherein said 1st is connected with the end of the plug is formed with a predetermined interval a plurality of strip-shaped configuration, the 2nd is inserted is formed on the end of the interval of the two array configuration, each of the array of the sets includes a predetermined interval a plurality of linearity body configuration.

    Optionally, the ground [...] two array group that extends between and is bent downwards to form.

    Alternatively, the inserting part and the ground part are integrally formed.

    Alternatively, the lower end of the [...] connector formed with the states peg grafting department section corresponding to the shape of the recess, of said concave hole formed at both sides of the lug to some extent.

    Alternatively, the grounding part connected with the vehicle body sheet metal.

    Compared with the prior art, cab of the utility model harness centralized grounding assembly, the vehicle harness fault when put up the iron wire, can be by disconnecting the connector connected to the mode judgment specific open-circuit position; at the same time, can be through the ground terminal withdrawal and the abutment of the female end terminal re-plugged after the method, to judge the short circuit position. And, due to the connector implemented in the form of earth, terminal crimping structure consistent, thereby reducing the special die types.

    Description of drawings

    Figure 1 is the structure diagram of the driving cab of the harness centralized grounding assembly of the present utility model;

    Figure 2 is the structure diagram of the ground terminal and the female end of the connector in a state of separation of the present utility model;

    Figure 3 is the front view of the ground terminal of the present utility model;

    Figure 4 is the side view of the grounding terminal of the present utility model;

    Figure 5 is the enlarged view of the region of the ring in Figure 4;

    Figure 6 is the structure diagram of the ground terminal and the female connector in the state of combination of the present utility model.

    Mode of execution

    In order to make the utility model to solve the technical problems, the technical scheme and the advantages more clearly, the lower portion of the Figure and a detailed description of the specific embodiment.

    Figure 1 is the structure diagram of the driving cab of the harness centralized grounding assembly of the present utility model; Figure 2 is the structure diagram of the ground terminal and the female end of the connector in a state of separation of the present utility model; Figure 3 is the front view of the ground terminal of the present utility model; Figure 4 is the side view of the grounding terminal of the present utility model; Figure 5 is the enlarged view of the region of the ring in Figure 4; Figure 6 is the structure diagram of the ground terminal and the female connector in the state of combination of the present utility model.

    As shown in Figure 1 and Figure 2, embodiment of the utility model to provide a driving cab harness centralized grounding assembly, including: the male end connector 1, the female end terminal, the female end connector 2 and ground terminal 3, the terminal arrangement in the [...][...] connector 1 in, the [...] connector 2 and the lower end of the upper end of the opening, the connector [...] 1 from the [...] connector 2 is inserted into the upper end of, the ground terminal 3 from the [...] connector 2 is inserted into the lower end of the, to the terminal butting [...] with, the grounding terminal 3 and the [...] connector 2 are fixed through a clamping structure.

    As shown in Figure 3 and Figure 4, the ground terminal 3 including the insertion part 302 and the grounding part 301, the inserting part 302 for and female terminal insertion, the grounding part 301 for connected to the car body on the sheet. The states peg grafting department 302 is formed to the shape of the side of the U-shaped (as shown in Figure 4). In particular, the insertion part 302 includes a spacing configuration of the two inserting end 303 and connecting two of the end connecting end 307, two inserting end 303 and a connecting end 307 with the U-shaped shape is formed. Each plugging end of the 303 since the connecting end 307 extends upwards to form a, in particular perpendicular to the formed extending over, the [...] 303 includes a connecting end 307 connected with the basal body and since the base body is extended upwards to form a plurality of linearity body 304, a plurality of linearity body 304 is spaced between the configuration. In one example, all of the linearity body 304 of the same height, and is used with the female terminal butt, in addition, can be in the strip-shaped body is formed with the peripheral surface of the chamfer.

    The ground part 301 since the splicing end 303 is bent downwards to form, and in the end part is formed with a through hole 306, the grounding part 301 through the through hole 306, by the bolt fixed on the vehicle body sheet metal. Specifically, the grounding part 301 from a ground terminal 303 is bent downwards to form, as shown in Figure 4, can be first extends downward to a certain position, then bent to extend in the horizontal direction, the horizontal direction after the extend a predetermined distance, extend a predetermined distance downward, thus forms the bending the grounding part of the 301, in actual production, the grounding part 301 can be formed connected with the inserting end of the 303 of the material is bent downwards to form.

    In more detail, the two plugging end of the 303 in the inserting end of the inserting end called a 1st, another known as the 2nd inserted end, wherein said 1st is connected with the end of the plug is formed with a predetermined interval a plurality of strip-shaped configuration, for example, formed at predetermined intervals 8 a strip body, the 2nd is inserted and formed at the interval of the two array configuration, each of the array of the sets includes a predetermined interval a plurality of strip-shaped configuration, for example, each array group can include formed at predetermined intervals 3 a strip body, this 3 a strip body with the spacing between the plugging end of the 1st on the same to the space between the strip-shaped body, the grounding part 301 since the two array group that extends between and is bent downwards to form. In this way, in the use of the plate-shaped material to form a grounding terminal of the, in the material forming the U shape at the rear, in the plugging end of the 1st cutting at predetermined intervals to form a plurality of strip body is, in the 2nd inserted end respectively at predetermined intervals in the left and right ends of the two array formed by cutting, will lie between the two array group in accordance with a predetermined pattern of material downward bent to form a grounding part 301. In other words, the grounding part 301 and the insertion part 302 can be integrally formed of one piece of material, not through the separated after the formation of the connected together, for example by welding or bolt-connected together, therefore can greatly reduce the ground terminal of the resistance, good conductivity.

    Further, as shown in Figure 5 and Figure 6, [...] structure comprises a along the length of the side of the substrate form in the direction of the strip-shaped groove 305 and is formed in the female connector 2 with the lower end of the inner side of the groove 305 is matched with the projecting part 202, in this way, when the ground terminal 3 from the parent end connector 2 is inserted into the lower end of the, ground terminal 3 will be card in the groove on the lug 202, so that the grounding terminal 3 is installed in the female end of the connector is clamped 2 on. In the utility model in another embodiment, the female connector 2 is formed at the lower end of the states peg grafting department corresponding to the shape of the cross section of the concave hole 201, said concave hole 201 formed at both sides of the said lug of the 202, such can be conveniently ground terminal 3 of the insertion and withdrawal. It must be noted that, the clamping structure of the utility model can also be other forms of structure, so long as they can realize the female connector 2 and ground terminals 3 can be connected between the.

    In the use of the utility model when the grounding component in, all the wire which is needed, press-fit in the female end terminal of the male connector is inserted into the female connector after, and is inserted into the female connector in the butt of the grounding terminal, then the grounding terminal using the bolt of the grounding part and the vehicle body sheet metal are screwed together, all need to ground the wire harness through the ground terminal 3 is connected with the vehicle body sheet metal, to realize the grounding function, thereby realizing the end terminal and the ground terminal - - the car body sheet metal - the battery negative loop, the completion of the ground function.

    It must be noted that, the utility model of the male connector and the female terminal can adopt a prior connector structure, the male connector can be formed in a preformed hole, in order to promote the variable vehicle harness design and retrofit convenience.

    The foregoing the preferred embodiment of the utility model, it should be noted that, for the technical field for the ordinary technical personnel, in the utility model does not break away from the premise of the principle, can also be made a number of improvements and polished, these improvements and polished should also be considered the utility model the scope of protection.

    Antenna grounding assembly is concentrated to driver's cabin pencil
    展开 >
    说明书附图
    >
    交易服务流程
    >

    挑选中意的板块

    ----

    客服确认选择专利的交易信息和价格并支付相应款项

    办理转让材料

    ----

    协助双方准备相应的材料

    签订协议

    ----

    协助卖家签订协议

    办理备案手续

    ----

    买卖双方达成一致后

    交易完成

    ----

    交易完成可投入使用

    过户资料 & 安全保障 & 承诺信息
    >

    过户资料

    买卖双方需提供的资料
    公司 个人
    买家 企业营业执照
    企业组织机构代码证
    身份证
    卖家 企业营业执照
    专利证书原件
    身份证
    专利证书原件
    网站提供 过户后您将获得
    专利代理委托书
    专利权转让协议
    办理文件副本请求书
    发明人变更声明
    专利证书
    手续合格通知书
    专利登记薄副本

    安全保障

    承诺信息

    我方拟转让所持标的项目,通过中国汽车知识产权交易平台公开披露项目信息和组织交易活动,依照公开、公平、公正和诚信的原则作如下承诺:

    1、本次项目交易是我方真实意思表示,项目标的权属清晰,除已披露的事项外,我方对该项目拥有完全的处置权且不存在法律法规禁止或限制交易的情形;
    2、本项目标的中所涉及的处置行为已履行了相应程序,经过有效的内部决策,并获得相应批准;交易标的涉及共有或交易标的上设置有他项权利,已获得相关权利 人同意的有效文件。
    3、我方所提交的信息发布申请及相关材料真实、完整、准确、合法、有效,不存在虚假记载、误导性陈述或重大遗漏;我方同意平台按上述材料内容发布披露信息, 并对披露内容和上述的真实性、完整性、准确性、合法性、有效性承担法律责任;
    4、我方在交易过程中自愿遵守有关法律法规和平台相关交易规则及规定,恪守信息发布公告约定,按照相关要求履行我方义务;
    5、我方已认真考虑本次项目交易行为可能导致的企业经营、行业、市场、政策以及其他不可预计的各项风险因素,愿意自行承担可能存在的一切交易风险;
    6、我方在平台所组织交易期间将不通过其他渠道对标的项目进行交易;
    7、我方将按照平台收费办法及相关交易文件的约定及时、足额支付相关费用,不因与受让方争议或合同解除、终止等原因拒绝、拖延、减少交纳或主张退还相关费用。