当前位置: 首页> 专利交易> 详情页
    待售中

    用于SSCR容器的电加热装置[ZH]

    专利编号: ZL202602121424

    收藏

    拟转化方式: 转让

    交易价格:面议

    专利类型:实用新型专利

    法律状态:授权

    技术领域:发动机

    发布日期:2026-02-12

    发布有效期: 2026-02-12 至 2027-06-27

    专利顾问 — 王老师

    电话咨询

    咨询电话

    13760886304

    专利基本信息
    >
    申请号 CN201720757785.6 公开号 CN207018061U
    申请日 2017-06-27 公开日 2018-02-16
    申请人 中国第一汽车股份有限公司 专利授权日期 2018-02-16
    发明人 崔龙;韩建;张克金 专利权期限届满日 2027-06-27
    申请人地址 130011 吉林省长春市西新经济技术开发区东风大街2259号 最新法律状态 授权
    技术领域 发动机 分类号 F01N 3/20
    技术效果 高效率 有效性 有效(授权、部分无效)
    专利代理机构 王薇 代理人 王薇
    专利技术详情
    >
    01

    专利摘要

    本实用新型涉及一种用于SSCR容器的电加热装置,其特征在于:电加热器竖直布置在储氨罐内部中心位置,导热翅片套在电加热器上,导热翅片为圆盘形,导热翅片数量跟储氨罐长度相关,50~150mm放置一片导热翅片,导热翅片上均匀分布有圆形的通孔;电加热器顶端的电源线与储氨罐外部的控制器连接,储氨罐内部电加热器顶端的旁边布置有压力传感器和温度传感器,压力传感器和温度传感器通过信号线与控制器的信号接收端连接,储氨罐面连接有氨气出气管路,氨气出气管路上布置有电磁阀。其能够有效地提高加热效率,改善加热性能,实现SSCR系统容器内的储氨材料能够快速的释放氨气,尽快在容器内部建立满足SCR系统工作的氨气压力,实现氨气的喷射计量。
    展开 >
    02

    专利详情

    技术领域

    本实用新型涉及一种用于SSCR容器的电加热装置,该装置应用于采用固体还原剂
    材料的选择性催化还原SCR的尾气后处理系统,实现氮氧化物NOx的有效降低,满足整车排
    放标准要求。

    背景技术

    在柴油车和柴油发动机排放法规逐步升级的背景下,采用SCR技术路线的车辆与
    整机数量逐步增长。固体形式的车载氨源材料已经得到进一步的应用,基于固体形式的还
    原剂材料的SCR系统(简称SSCR系统),已经开始在整车上匹配应用。

    固体形式的车载氨源材料在工作过程中,需要对材料进行加热,固体形式材料达
    到一定的温度实现氨气的释放。常用的材料有铵盐、尿素和氨与金属盐形成的配位化合物。
    铵盐类的化合物只要有氨基甲酸铵、碳酸铵和碳酸氢铵材料,材料加热到分解温度点以上,
    铵盐会分解生成氨气、二氧化碳和水等化合物。尿素的热分解为合成氨的逆反应。氨与金属
    盐形成的配位化合物加热过程中氨气从中心粒子上脱附。铵盐的加热温度从室温~100℃,
    尿素的分解温度在132℃以上,氨与金属盐形成的配位化合物氨气脱附温度从室温~300℃
    之间。

    目前车辆上的可以提供的加热方式主要有三种,一是利用发动机排气尾气进行加
    热,一是使用发动机冷却液进行加热,还有就是使用电加热方式。根据车辆的实际使用环境
    和整车情况选择合适的加热方式对固体储氨材料进行加热实现氨气的释放。

    为了实现固体传材料的加热,材料加热方式均成为了研究方向,专利
    CN201410328612.3,在固体氨储存体系中相连的热传导结构介绍了一种采用柔性材料对氨
    饱和的材料进行包裹,该柔性材料有较好的导热率,但是对氨饱和的材料进行包裹工艺复
    杂,成本较高。

    专利文献1(CN201410328612.3),在固体氨储存体系中相连的热传导结构介绍了
    一种采用柔性材料对氨饱和的材料进行包裹,该柔性材料有较好的导热率,但是对氨饱和
    的材料进行包裹工艺复杂,成本较高。

    专利文献2(CN200880010377.8),用于将氨存储在存储材料中并从存储材料释放
    氨的系统以及用于存储和释放氨的方法介绍了一种带有控制器的热源实现氨气的释放方
    法。此方法对于加热装置控制要求较高,系统复杂程度大,包括气流结构、换热结构,不便于
    实施。

    专利文献3(CN201180014352.7),用于控制固体气体存储系统中的有效热传递的
    方法和装置,侧重于导热方面。

    专利文献4(CN201210220148.7),排气管余热方式的活性物储氨供氨后处理控制
    单元,介绍了一种采用尾气对固体储氨材料的加热的方式,此方案不便于储氨容器的更换
    和维护,存在较大的技术难题。

    专利文献5(CN201420419405.4),一种固体储氨装置供热装置,采用尾气或发动机
    冷却水加热,造成储氨材料容器体积大,重量大,结构复杂。

    发明内容

    本实用新型的目的是提供一种用于SSCR容器的电加热装置,其能够有效地提高加
    热效率,改善加热性能,实现SSCR系统容器内的储氨材料能够快速的释放氨气,尽快在容器
    内部建立满足SCR系统工作的氨气压力,实现氨气的喷射计量。

    本实用新型的技术方案是这样实现的:用于SSCR容器的电加热装置,加热装置包
    括控制器、压力传感器、温度传感器、电加热器,导热翅片、电磁阀、氨气出气管路组成,其特
    征在于:电加热器竖直布置在储氨罐内部中心位置,导热翅片套在电加热器上,导热翅片为
    圆盘形,导热翅片数量跟储氨罐长度相关,50~150mm放置一片导热翅片,导热翅片上均匀分
    布有圆形的通孔;电加热器顶端的电源线与储氨罐外部的控制器连接,储氨罐内部电加热
    器顶端的旁边布置有压力传感器和温度传感器,压力传感器和温度传感器通过信号线与控
    制器的信号接收端连接,储氨罐面连接有氨气出气管路,氨气出气管路上布置有电磁阀。

    所述的电加热器为圆柱形或圆锥形,布置在储氨罐中的电加热器的数量为1-5根,
    电加热器为多根时,可不添加导热翅片。

    所述的导热翅片可由圆盘形替换为螺旋形、波浪形或网格状结构,导热翅片替换
    为螺旋形时,整体为螺旋形的导热翅片沿电加热器由上到下布置;导热翅片替换为波浪形
    时,四个波浪形的导热翅片竖直布置在储氨罐内并与电加热器连接;导热翅片替换为网格
    状结构时,导热翅片将储氨罐内部分割成等份小格,导热翅片中心部分与电加热器连接;导
    热翅片的厚度为0.5mm~1.0mm,导热翅片最外沿直径小于储氨罐直径2~3mm。

    本实用新型的积极效果是其提高了加热器与储氨材料的接触面积,采用翅片或是
    网格状的加热器,能够实现均匀的较热,翅片作为导热材料可以使用导热系数高的材料,如
    铝合金等材料;采用外部包覆电加热器,以12升的容器为例,直径200mm,加热到满足工作需
    要的状态,需要时间20min~40min。内部电加热方式可以将加热时间缩短30%以上,实现容器
    内的氨气压力满足SSCR系统的工作要求;使用电加热方案系统结构简单,对于整车的结构
    改变较小。只需要提供合适的加热电源。整车布置比较方便,对于未来满足国六,对于排气
    背压有较高要求的车辆设计方便实现。

    附图说明

    图1 为本实用新型的结构图。

    图2为本实用新型的导热翅片的局部结构图。

    图3 为本实用新型的电加热器的圆锥形结构图。

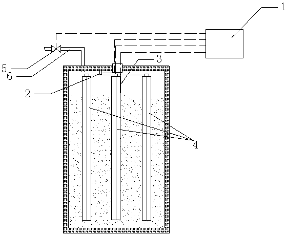
    图4 为本实用新型的多根电加热棒结构图。

    图5 为本实用新型的导热翅片的螺旋结构图。

    图6为本实用新型的波浪形导热翅片结构图。

    图7为本实用新型的导热翅片网格状结构图。

    具体实施方式

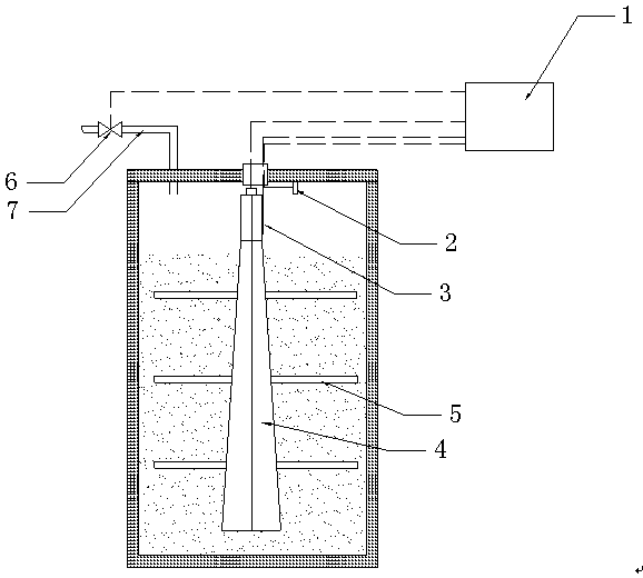
    下面结合附图对本实用新型做进一步说明:如图1-7所示,用于SSCR容器的电加热
    装置,加热装置包括控制器1、压力传感器2、温度传感器3、电加热器4,导热翅片5、电磁阀6、
    氨气出气管路7组成,其特征在于:电加热器4竖直布置在储氨罐内部中心位置,导热翅片5
    套在电加热器4上,导热翅片5为圆盘形,导热翅片5数量跟储氨罐长度相关,50~150mm放置
    一片导热翅片5,导热翅片5上均匀分布有圆形的通孔5-1;电加热器4顶端的电源线与储氨
    罐外部的控制器1连接,储氨罐内部电加热器4顶端的旁边布置有压力传感器2和温度传感
    器3,压力传感器2和温度传感器3通过信号线与控制器1的信号接收端连接,储氨罐面连接
    有氨气出气管路7,氨气出气管路7上布置有电磁阀6。

    所述的电加热器4为圆柱形或圆锥形,布置在储氨罐中的电加热器4的数量为1-5
    根,电加热器4为多根时,可不添加导热翅片5。

    所述的导热翅片5可由圆盘形替换为螺旋形、波浪形或网格状结构,导热翅片5替
    换为螺旋形时,整体为螺旋形的导热翅片5沿电加热器4由上到下布置;导热翅片5替换为波
    浪形时,四个波浪形的导热翅片5竖直布置在储氨罐内并与电加热器4连接;导热翅片5替换
    为网格状结构时,导热翅片5将储氨罐内部分割成等份小格,导热翅片5中心部分与电加热
    器4连接;导热翅片的厚度为0.5mm~1.0mm,导热翅片最外沿直径小于储氨罐直径2~3mm。

    储氨材料容器采用耐腐蚀不锈钢或是铝合金材料制备,容器直径在150mm~350mm,
    长度350mm~800mm,不锈钢棒状电加热器(电加热棒)4直径10mm~25mm,电加热棒固定在容器
    的中心线,长度与容器等长,无电源线的一端插入容器底部的定位装置内,加热棒另一端头
    采用螺纹与容器连接,确保密封性能无氨气泄漏。电加热棒棒体上嵌入有贴片式温度传感
    器3,电源线和温度传感器导线连接在控制器1,通过控制器控制电加热棒加热功能,并根据
    温度传感器测量3的温度值和容器内压力传感器2监测的氨气压力值,控制电加热棒的工作
    和停止,如图1所示。

    为了进一步的提高加热效率,柱状的加热棒从上至下可以等间距的安装有导热翅
    片5,导热翅片直径与容器直径相匹配,直径小于容器直径2~3mm,为了便于安装固定,可以
    在加热棒上等间距设置限位固定结构。导热片之间装填储氨材料,加热器工作时热量通过
    导热片在储氨材料之间进行传递,导热片的数量与容器的长度相关,50~150mm放置一片导
    热翅片。导热翅片使用耐氨气腐蚀的金属材料,导热片厚度0.5mm~1.0mm。

    为了降低整体的质量和提高气体的吸附和脱附性能,导热翅片5可以进行开孔处
    理,孔径3mm~10mm之间,带孔的导热翅片5结构如图2所示,安装的导热翅片数量在1~50之
    间。

    电加热棒也可以设计成圆锥台型,如图3所示,导热用翅片中心孔孔径与圆锥台等
    间距直径相一致,导热片外径与容器直径相匹配,直径小于容器直径2~3mm,方便材料的装
    填和导热片的安装。

    电加热棒可以使用一根,并不限于一根,可以使用如图4所示的多根电加热棒结
    构,在使用多根电加热棒的情况下,同样可以使用导热翅片,此时导热翅片具有传道热量的
    功能之外,还对电加热棒起到固定和加固的作用。

    导热翅片的形状可以是图5、图6、图7所示,可以是波浪形,网格状,可以与容器端
    面平行放置,也可以将加热材料制成与导热翅片一样的形状,相比电加热棒具有更大的加
    热面积。导热翅片的形状。

    用于SSCR容器的电加热装置

    Technical Field

    The utility model relates to a container for the SSCR of the electric heating device, the device is applied to the material of the solid reducing agent for selective catalytic reduction of the SCR exhaust gas after-treatment system, to achieve the effective reducing nitrogen oxides NOx, to meet the requirements of the whole vehicle emissions standards.

    Background Art

    In diesel and diesel engine emission regulations of the escalation of the background, the SCR technology of vehicles with the whole machine to gradually increase the number. Solid forms of vehicle-mounted ammonia material has been further application, based on the form of a solid reducing agent material of the SCR system (hereinafter referred to as the SSCR system), has already begun on the overall match application.

    Solid forms of vehicle-mounted source for material in the course of work, the need for heating the material, solid form material reaches a certain temperature to achieve the release of the ammonia. The commonly used material is ammonium salt, urea and ammonia and the metal salt of the complex compound. The compounds of the ammonium salt class as long as ammonium carbamate, ammonium carbonate and ammonium bicarbonate material, material is heated to above the decomposition temperature point, ammonium salt is decomposed to generate ammonia, carbon dioxide and water compound. Thermal decomposition of urea to ammonia synthesis reactions. Ammonia and the metal salt of the complex compound formed during the heating process on comes off the ammonia gas from the center of the particle. The heating temperature of the ammonium salt -100 °C from room temperature, the decomposition temperature of the urea in the 132 °C above, ammonia and metal-salt forming the coordination compound of ammonia desorption temperature from the room temperature -300 °C between.

    The present vehicle can be provided on the heating mode there are three main types, one is to utilize the engine exhaust gas is heated, a is the use of the engine coolant is heated, there is also the use of the electric heating mode. According to the actual use environment of the vehicle and the vehicle situation to choose the appropriate heating mode solid ammonia is heated to realize the release of the ammonia gas.

    In order to achieve solid-borne material is heated, the material is heated in the way to become the direction of research, Patent CN201410328612.3, in solid ammonia storage system connected in a heat conducting structure on a flexible material to wrap the ammonia saturated material, the flexible material with good thermal conductivity, but to ammonia saturated material wrapped by the process is complicated, and the cost is high.

    Patent document 1 (C N201410328612.3), in solid ammonia storage system connected in a heat conducting structure on a flexible material to wrap the ammonia saturated material, the flexible material with good thermal conductivity, but to ammonia saturated material wrapped by the process is complicated, and the cost is high.

    Patent document 2 (C N200880010377.8), used for the ammonia stored in the storage in and from the storage material to release the ammonia system and used for storing and release of ammonia introduced a method with a controller of the heat source to realize the ammonia release method. The method for heating the device control requirements are relatively high, system complexity is large, including air flow structure, the heat exchange structure, inconvenient to implement.

    Patent document 3 (C N201180014352.7), is used to control the solid gas storage system in the effective heat transfer of the method and device, focused on the heat conducting connection.

    Patent document 4 (C N201210220148.7), the residual heat of the exhaust pipe by way of the active use of an [...] after-treatment control unit, with the introduction of the tail gas to solid ammonia material heating mode, this scheme does not convenient replacement and maintenance of the ammonia container, there is a rather large technical problem.

    Patent document 5 (C N201420419405.4), a solid ammonia storage device heating device, tail gas or engine-coolant-water heating, ammonia caused by the material container of large volume, heavy weight, complicated structure.

    Content of the invention

    The purpose of the utility model is to provide a container for the SSCR of the electric heating device, which can effectively improve the heating efficiency, improve heating performance, realize the SSCR system ammonia in the container material can be quickly releases ammonia, in the container as soon as possible to set up the operation of the system to meet the SCR ammonia gas pressure, realize the injection metering of ammonia gas.

    The technical proposal of the utility model is realized in the way: SSCR container for the electric heating device, the heating device includes a controller, a pressure sensor, temperature sensor, electric heater, heat conducting fins, electromagnetic valve, ammonia and a connector, characterized in that the electric heater and are arranged vertically in the central position of the ammonia tank interior, thermally conductive fins set on the electric heater, heat conducting fins is disk-shaped, the number of heat conducting fins associated with the length of the [...], 50 - 150 mm is placed a piece of thermally conductive fins, heat conducting fins are evenly distributed on the circular through hole chu anguan surface; the top end of the power cord of the electric heater with the [...] external controller is connected, an ammonia tank internal electric heater arranged chu anguan surface side of the top end of the pressure sensor and the temperature sensor, the pressure sensor and the temperature sensor through the signal line of the controller with the signal receiving end is connected, is connected to the outlet pipeline [...] chu anguan surface ammonia gas, the ammonia gas outlet pipeline chu anguan surface are arranged on the solenoid valve.

    The electric heater is cylindrical or conical, are arranged in the ammonia tank of the electric heater are in the number of 1 - 5 which, when the electric heater is a plurality, can be used for the thermally conductive fins.

    The heat conducting fins can be by the disk-shaped replacement is a spiral, wave-shaped or mesh-like structure, the heat conducting fins when replacement is a spiral, the overall is a spiral heat conducting fins along electricity to the heater consists of are arranged up and down; the heat conductive fin is replaced when the wave, four wave-shaped heat conducting fins arranged vertically in the ammonia storage tank and connected with the electric heater; the heat conductive fin is replaced when the grid-shaped structure, the heat conducting fins inside of the ammonia tank is divided into equal parts and a small, central portion of the heat conducting fins connected with the electric heater; thermally conductive fins has a thickness of 0.5 mm - 1.0 mm, heat conducting fins is less than the diameter of the most outer edge [...] diameter 2 - 3 mm.

    The positive effects of the utility model is improved and the heater with the use of an the contact area of the material, using fin or grid-shaped heater, can realize even more heat, the fins can be used as the heat conducting material of high heat conductivity material, such as aluminum alloy or other material; employing an external coated electric heater, in order to 12 liter container for example, diameter 200 mm, heating to the needs of the state, need time 20 min - 40 min. The internal electric heating mode the heating time can be 30% or more, the realization of the ammonia gas in the container pressure to meet the requirements of the work of the SSCR system; the use of electric heating scheme system of simple structure, the structure of the entire car change is relatively small. Only required to provide the appropriate heating power supply. Arrangement of the whole car is more convenient, for the future to meet the country six, for exhaust back pressure with relatively high requirements of the vehicle design is easy to achieve.

    Description of drawings

    Figure 1 is the chart of the of the present utility model.

    Figure 2 is the partial chart of heat conduction of the fins of the present utility model.

    Figure 3 is the conical chart of an electric heater of the present utility model.

    Figure 4 is the [...] heating bar chart of of of the present utility model.

    Figure 5 is the spiral structure chart of heat conduction of the fins of the present utility model.

    Figure 6 is the wave-shaped heat conductive fin chart of of of the present utility model.

    Figure 7 is the heat conducting fin grid chart of of of the present utility model.

    Mode of execution

    The Figure below to further illustrate the utility model as: as shown in Figure 1-7, SSCR container for the electric heating device, the heating device comprises a controller 1, the pressure sensor 2, temperature sensor 3, the electric heater 4, the heat conducting fin 5, solenoid valve 6, the ammonia gas air outlet pipeline 7 composition, characterized in that the electric heater 4 and are arranged vertically in the central position of the ammonia tank interior, thermally conductive fins 5 is sleeved on the electric heater 4 on, the heat conducting fin 5 is disk-shaped, the heat conducting fin 5 with the length of the number of related [...], 50 - 150 mm is placed a piece of heat conducting fin 5, thermally conductive fins 5 are evenly distributed on the circular through hole chu anguan surface 5 - 1; electric heater 4 at the top end of the power cord and the [...] external controller 1 is connected, an ammonia tank internal electric heater 4 arranged chu anguan surface side of the top end of the pressure sensor 2 and temperature sensor 3, the pressure sensor 2 and temperature sensor 3 through the signal line and the controller 1 is connected to the receiving end of the signal, is connected to the ammonia [...] chu anguan surface air outlet pipeline 7, ammonia air outlet pipeline 7 chu anguan surface are arranged on the solenoid valve 6.

    The electric heater 4 is cylindrical or conical, are arranged in the use of an electric heater in the tank 4 is the number of 1 - 5 root, electric heater 4 when for a plurality, can be used for the heat conducting fin 5.

    The heat conducting fin 5 by the disk-shaped replacement is a spiral, wave-shaped or mesh-like structure, the heat conducting fin 5 when replacement is a spiral, the spiral of the whole body of the heat conducting fin 5 along electricity heater 4 arranged from top to bottom; the heat conducting fin 5 when replacement is wave-shaped, four wave-shaped heat conducting fin 5 are arranged vertically in the ammonia storage tank and with the electric heater 4 is connected; the heat conducting fin 5 is replaced with a grid-shaped structure, the heat conducting fin 5 will be ammonia tank interior is divided into equal parts and a small, thermally conductive fins 5 with the central portion of the electric heater 4 is connected; thermally conductive fins has a thickness of 0.5 mm - 1.0 mm, the heat conductive fin is smaller than the diameter of the diameter of the most outer edge [...] 2 - 3 mm.

    An ammonia storage material container adopts the corrosion-resistant stainless steel or aluminum alloy material preparation, container diameter of 150 mm - 350 mm, length 350 mm - 800 mm, stainless steel rod-type electric heater (electric heating rod) 4 diameter 10 mm - 25 mm, the electric heating rod is fixed on the center line of the container, with the same length and the length of the container, without power line inserted into the one end of the positioning device in the bottom of the container, the heating rod and the other end of the screw thread is connected to container, to ensure that the sealing performance is no ammonia leakage. Electric heating stick is embedded with the chip temperature sensor 3, the power cord and the temperature sensor wire is connected to the controller 1, the controller control an electric heating rod heating function, and according to the temperature measured by the sensor 3 of the temperature value and the pressure in the container sensor 2 monitoring the ammonia pressure value, control of the electric heating work and stop, as shown in Figure 1.

    In order to further improve the heating efficiency, the columnar heating rod from top to bottom can be equidistantly installed with heat conducting fin 5, heat conducting fins matching with the diameter of the diameter of the container, the container diameter smaller than the diameter of 2 - 3 mm, in order to facilitate the mounting and fixing, can be in the heating bars and on the distance between the is provided with a limiting fixing structure. The heat conducting layer filled between the ammonia storage material, when the heater is working in an ammonia heat through the heat conducting material between the transfer, heat conducting with the length of the number of related, 50 - 150 mm is placed a piece of thermally conductive fins. The heat conducting fins of the ammonia gas corrosion resistance to the metal material, the heat conducting layer thickness 0.5 mm - 1.0 mm.

    In order to reduce the overall quality and improving the gas adsorption and desorption performance, thermally conductive fins 5 can be perforated and processing, aperture 3 mm - 10 mm between, the hole of the heat conducting fin 5 structure arranged as shown in Figure 2, the heat conductive fin in the number of 1 - 50 between.

    The electric heating rod can also be designed into [...], as shown in Figure 3, heat conducting fin for the aperture of the central truncated cone to conform with the diameter of the spacing, the outer diameter of the heat conducting container is matched with the diameter, smaller than the diameter of the diameter of the container 2 - 3 mm, convenient filling and heat conducting material of the mounting.

    The electric heating rod can use a, not limited to one, can be used as shown in Figure 4 of the [...] heating bar structure, in the case of the use of [...] heating, can also use the heat conductive fin, at this moment the heat conducting fin has evangelist heat outside the function, also the electric heating rod and reinforcing the role of fixing.

    The heat conductive fin may take the form of Figure 5, Figure 6, Figure 7 shown, can be wave-shaped, grid-shaped, can be arranged in parallel with the end face of the container, heating of the material can also be made of the same shape with the heat conducting fins, compared with the electric heating rod has greater heating area. The shape of the heat conducting fins.

    A electric heater unit for SSCR container

    Technical Field

    The utility model relates to a container for the SSCR of the electric heating device, the device is applied to the material of the solid reducing agent for selective catalytic reduction of the SCR exhaust gas after-treatment system, to achieve the effective reducing nitrogen oxides NOx, to meet the requirements of the whole vehicle emissions standards.

    Background Art

    In diesel and diesel engine emission regulations of the escalation of the background, the SCR technology of vehicles with the whole machine to gradually increase the number. Solid forms of vehicle-mounted ammonia material has been further application, based on the form of a solid reducing agent material of the SCR system (hereinafter referred to as the SSCR system), has already begun on the overall match application.

    Solid forms of vehicle-mounted source for material in the course of work, the need for heating the material, solid form material reaches a certain temperature to achieve the release of the ammonia. The commonly used material is ammonium salt, urea and ammonia and the metal salt of the complex compound. The compounds of the ammonium salt class as long as ammonium carbamate, ammonium carbonate and ammonium bicarbonate material, material is heated to above the decomposition temperature point, ammonium salt is decomposed to generate ammonia, carbon dioxide and water compound. Thermal decomposition of urea to ammonia synthesis reactions. Ammonia and the metal salt of the complex compound formed during the heating process on comes off the ammonia gas from the center of the particle. The heating temperature of the ammonium salt -100 °C from room temperature, the decomposition temperature of the urea in the 132 °C above, ammonia and metal-salt forming the coordination compound of ammonia desorption temperature from the room temperature -300 °C between.

    The present vehicle can be provided on the heating mode there are three main types, one is to utilize the engine exhaust gas is heated, a is the use of the engine coolant is heated, there is also the use of the electric heating mode. According to the actual use environment of the vehicle and the vehicle situation to choose the appropriate heating mode solid ammonia is heated to realize the release of the ammonia gas.

    In order to achieve solid-borne material is heated, the material is heated in the way to become the direction of research, Patent CN201410328612.3, in solid ammonia storage system connected in a heat conducting structure on a flexible material to wrap the ammonia saturated material, the flexible material with good thermal conductivity, but to ammonia saturated material wrapped by the process is complicated, and the cost is high.

    Patent document 1 (C N201410328612.3), in solid ammonia storage system connected in a heat conducting structure on a flexible material to wrap the ammonia saturated material, the flexible material with good thermal conductivity, but to ammonia saturated material wrapped by the process is complicated, and the cost is high.

    Patent document 2 (C N200880010377.8), used for the ammonia stored in the storage in and from the storage material to release the ammonia system and used for storing and release of ammonia introduced a method with a controller of the heat source to realize the ammonia release method. The method for heating the device control requirements are relatively high, system complexity is large, including air flow structure, the heat exchange structure, inconvenient to implement.

    Patent document 3 (C N201180014352.7), is used to control the solid gas storage system in the effective heat transfer of the method and device, focused on the heat conducting connection.

    Patent document 4 (C N201210220148.7), the residual heat of the exhaust pipe by way of the active use of an [...] after-treatment control unit, with the introduction of the tail gas to solid ammonia material heating mode, this scheme does not convenient replacement and maintenance of the ammonia container, there is a rather large technical problem.

    Patent document 5 (C N201420419405.4), a solid ammonia storage device heating device, tail gas or engine-coolant-water heating, ammonia caused by the material container of large volume, heavy weight, complicated structure.

    Content of the invention

    The purpose of the utility model is to provide a container for the SSCR of the electric heating device, which can effectively improve the heating efficiency, improve heating performance, realize the SSCR system ammonia in the container material can be quickly releases ammonia, in the container as soon as possible to set up the operation of the system to meet the SCR ammonia gas pressure, realize the injection metering of ammonia gas.

    The technical proposal of the utility model is realized in the way: SSCR container for the electric heating device, the heating device includes a controller, a pressure sensor, temperature sensor, electric heater, heat conducting fins, electromagnetic valve, ammonia and a connector, characterized in that the electric heater and are arranged vertically in the central position of the ammonia tank interior, thermally conductive fins set on the electric heater, heat conducting fins is disk-shaped, the number of heat conducting fins associated with the length of the [...], 50 - 150 mm is placed a piece of thermally conductive fins, heat conducting fins are evenly distributed on the circular through hole chu anguan surface; the top end of the power cord of the electric heater with the [...] external controller is connected, an ammonia tank internal electric heater arranged chu anguan surface side of the top end of the pressure sensor and the temperature sensor, the pressure sensor and the temperature sensor through the signal line of the controller with the signal receiving end is connected, is connected to the outlet pipeline [...] chu anguan surface ammonia gas, the ammonia gas outlet pipeline chu anguan surface are arranged on the solenoid valve.

    The electric heater is cylindrical or conical, are arranged in the ammonia tank of the electric heater are in the number of 1 - 5 which, when the electric heater is a plurality, can be used for the thermally conductive fins.

    The heat conducting fins can be by the disk-shaped replacement is a spiral, wave-shaped or mesh-like structure, the heat conducting fins when replacement is a spiral, the overall is a spiral heat conducting fins along electricity to the heater consists of are arranged up and down; the heat conductive fin is replaced when the wave, four wave-shaped heat conducting fins arranged vertically in the ammonia storage tank and connected with the electric heater; the heat conductive fin is replaced when the grid-shaped structure, the heat conducting fins inside of the ammonia tank is divided into equal parts and a small, central portion of the heat conducting fins connected with the electric heater; thermally conductive fins has a thickness of 0.5 mm - 1.0 mm, heat conducting fins is less than the diameter of the most outer edge [...] diameter 2 - 3 mm.

    The positive effects of the utility model is improved and the heater with the use of an the contact area of the material, using fin or grid-shaped heater, can realize even more heat, the fins can be used as the heat conducting material of high heat conductivity material, such as aluminum alloy or other material; employing an external coated electric heater, in order to 12 liter container for example, diameter 200 mm, heating to the needs of the state, need time 20 min - 40 min. The internal electric heating mode the heating time can be 30% or more, the realization of the ammonia gas in the container pressure to meet the requirements of the work of the SSCR system; the use of electric heating scheme system of simple structure, the structure of the entire car change is relatively small. Only required to provide the appropriate heating power supply. Arrangement of the whole car is more convenient, for the future to meet the country six, for exhaust back pressure with relatively high requirements of the vehicle design is easy to achieve.

    Description of drawings

    Figure 1 is the chart of the of the present utility model.

    Figure 2 is the partial chart of heat conduction of the fins of the present utility model.

    Figure 3 is the conical chart of an electric heater of the present utility model.

    Figure 4 is the [...] heating bar chart of of of the present utility model.

    Figure 5 is the spiral structure chart of heat conduction of the fins of the present utility model.

    Figure 6 is the wave-shaped heat conductive fin chart of of of the present utility model.

    Figure 7 is the heat conducting fin grid chart of of of the present utility model.

    Mode of execution

    The Figure below to further illustrate the utility model as: as shown in Figure 1-7, SSCR container for the electric heating device, the heating device comprises a controller 1, the pressure sensor 2, temperature sensor 3, the electric heater 4, the heat conducting fin 5, solenoid valve 6, the ammonia gas air outlet pipeline 7 composition, characterized in that the electric heater 4 and are arranged vertically in the central position of the ammonia tank interior, thermally conductive fins 5 is sleeved on the electric heater 4 on, the heat conducting fin 5 is disk-shaped, the heat conducting fin 5 with the length of the number of related [...], 50 - 150 mm is placed a piece of heat conducting fin 5, thermally conductive fins 5 are evenly distributed on the circular through hole chu anguan surface 5 - 1; electric heater 4 at the top end of the power cord and the [...] external controller 1 is connected, an ammonia tank internal electric heater 4 arranged chu anguan surface side of the top end of the pressure sensor 2 and temperature sensor 3, the pressure sensor 2 and temperature sensor 3 through the signal line and the controller 1 is connected to the receiving end of the signal, is connected to the ammonia [...] chu anguan surface air outlet pipeline 7, ammonia air outlet pipeline 7 chu anguan surface are arranged on the solenoid valve 6.

    The electric heater 4 is cylindrical or conical, are arranged in the use of an electric heater in the tank 4 is the number of 1 - 5 root, electric heater 4 when for a plurality, can be used for the heat conducting fin 5.

    The heat conducting fin 5 by the disk-shaped replacement is a spiral, wave-shaped or mesh-like structure, the heat conducting fin 5 when replacement is a spiral, the spiral of the whole body of the heat conducting fin 5 along electricity heater 4 arranged from top to bottom; the heat conducting fin 5 when replacement is wave-shaped, four wave-shaped heat conducting fin 5 are arranged vertically in the ammonia storage tank and with the electric heater 4 is connected; the heat conducting fin 5 is replaced with a grid-shaped structure, the heat conducting fin 5 will be ammonia tank interior is divided into equal parts and a small, thermally conductive fins 5 with the central portion of the electric heater 4 is connected; thermally conductive fins has a thickness of 0.5 mm - 1.0 mm, the heat conductive fin is smaller than the diameter of the diameter of the most outer edge [...] 2 - 3 mm.

    An ammonia storage material container adopts the corrosion-resistant stainless steel or aluminum alloy material preparation, container diameter of 150 mm - 350 mm, length 350 mm - 800 mm, stainless steel rod-type electric heater (electric heating rod) 4 diameter 10 mm - 25 mm, the electric heating rod is fixed on the center line of the container, with the same length and the length of the container, without power line inserted into the one end of the positioning device in the bottom of the container, the heating rod and the other end of the screw thread is connected to container, to ensure that the sealing performance is no ammonia leakage. Electric heating stick is embedded with the chip temperature sensor 3, the power cord and the temperature sensor wire is connected to the controller 1, the controller control an electric heating rod heating function, and according to the temperature measured by the sensor 3 of the temperature value and the pressure in the container sensor 2 monitoring the ammonia pressure value, control of the electric heating work and stop, as shown in Figure 1.

    In order to further improve the heating efficiency, the columnar heating rod from top to bottom can be equidistantly installed with heat conducting fin 5, heat conducting fins matching with the diameter of the diameter of the container, the container diameter smaller than the diameter of 2 - 3 mm, in order to facilitate the mounting and fixing, can be in the heating bars and on the distance between the is provided with a limiting fixing structure. The heat conducting layer filled between the ammonia storage material, when the heater is working in an ammonia heat through the heat conducting material between the transfer, heat conducting with the length of the number of related, 50 - 150 mm is placed a piece of thermally conductive fins. The heat conducting fins of the ammonia gas corrosion resistance to the metal material, the heat conducting layer thickness 0.5 mm - 1.0 mm.

    In order to reduce the overall quality and improving the gas adsorption and desorption performance, thermally conductive fins 5 can be perforated and processing, aperture 3 mm - 10 mm between, the hole of the heat conducting fin 5 structure arranged as shown in Figure 2, the heat conductive fin in the number of 1 - 50 between.

    The electric heating rod can also be designed into [...], as shown in Figure 3, heat conducting fin for the aperture of the central truncated cone to conform with the diameter of the spacing, the outer diameter of the heat conducting container is matched with the diameter, smaller than the diameter of the diameter of the container 2 - 3 mm, convenient filling and heat conducting material of the mounting.

    The electric heating rod can use a, not limited to one, can be used as shown in Figure 4 of the [...] heating bar structure, in the case of the use of [...] heating, can also use the heat conductive fin, at this moment the heat conducting fin has evangelist heat outside the function, also the electric heating rod and reinforcing the role of fixing.

    The heat conductive fin may take the form of Figure 5, Figure 6, Figure 7 shown, can be wave-shaped, grid-shaped, can be arranged in parallel with the end face of the container, heating of the material can also be made of the same shape with the heat conducting fins, compared with the electric heating rod has greater heating area. The shape of the heat conducting fins.

    展开 >
    说明书附图
    >
    交易服务流程
    >

    挑选中意的板块

    ----

    客服确认选择专利的交易信息和价格并支付相应款项

    办理转让材料

    ----

    协助双方准备相应的材料

    签订协议

    ----

    协助卖家签订协议

    办理备案手续

    ----

    买卖双方达成一致后

    交易完成

    ----

    交易完成可投入使用

    过户资料 & 安全保障 & 承诺信息
    >

    过户资料

    买卖双方需提供的资料
    公司 个人
    买家 企业营业执照
    企业组织机构代码证
    身份证
    卖家 企业营业执照
    专利证书原件
    身份证
    专利证书原件
    网站提供 过户后您将获得
    专利代理委托书
    专利权转让协议
    办理文件副本请求书
    发明人变更声明
    专利证书
    手续合格通知书
    专利登记薄副本

    安全保障

    承诺信息

    我方拟转让所持标的项目,通过中国汽车知识产权交易平台公开披露项目信息和组织交易活动,依照公开、公平、公正和诚信的原则作如下承诺:

    1、本次项目交易是我方真实意思表示,项目标的权属清晰,除已披露的事项外,我方对该项目拥有完全的处置权且不存在法律法规禁止或限制交易的情形;
    2、本项目标的中所涉及的处置行为已履行了相应程序,经过有效的内部决策,并获得相应批准;交易标的涉及共有或交易标的上设置有他项权利,已获得相关权利 人同意的有效文件。
    3、我方所提交的信息发布申请及相关材料真实、完整、准确、合法、有效,不存在虚假记载、误导性陈述或重大遗漏;我方同意平台按上述材料内容发布披露信息, 并对披露内容和上述的真实性、完整性、准确性、合法性、有效性承担法律责任;
    4、我方在交易过程中自愿遵守有关法律法规和平台相关交易规则及规定,恪守信息发布公告约定,按照相关要求履行我方义务;
    5、我方已认真考虑本次项目交易行为可能导致的企业经营、行业、市场、政策以及其他不可预计的各项风险因素,愿意自行承担可能存在的一切交易风险;
    6、我方在平台所组织交易期间将不通过其他渠道对标的项目进行交易;
    7、我方将按照平台收费办法及相关交易文件的约定及时、足额支付相关费用,不因与受让方争议或合同解除、终止等原因拒绝、拖延、减少交纳或主张退还相关费用。