当前位置: 首页> 专利交易> 详情页
    待售中

    一种汽车安全气囊控制器安装结构[ZH]

    专利编号: ZL202508282297

    收藏

    拟转化方式: 转让;普通许可;独占许可;排他许可;作价投资;开放许可;其他(面议)

    交易价格:面议

    专利类型:发明专利

    法律状态:授权

    技术领域:车身及车身附件

    发布日期:2025-08-28

    发布有效期: 2025-08-28 至 2032-07-26

    专利顾问 — 王老师

    电话咨询

    咨询电话

    13760886304

    专利基本信息
    >
    申请号 CN201210260998.X 公开号 CN103569018A
    申请日 2012-07-26 公开日 2014-02-12
    申请人 重庆长安汽车股份有限公司 专利授权日期 2016-08-03
    发明人 李鹏 专利权期限届满日 2032-07-26
    申请人地址 400023 重庆市江北区建新东路260号 最新法律状态 授权
    技术领域 车身及车身附件 分类号 B60R 21/16
    技术效果 安全性 有效性 有效(授权、部分无效)
    专利代理机构 重庆华科专利事务所 50123 代理人 徐先禄
    专利技术详情
    >
    01

    专利摘要

    本发明涉及一种汽车安全气囊控制器安装结构,包括定位连接在前地板中央通道中段下面的加强件和定位连接在前地板中央通道中段上面的安装支架,安装支架与加强件相对应,其特征是:汽车安全气囊控制器安装在所述安装支架上。本发明能使汽车安全气囊控制器在复杂路面及各种工况下行驶时准确采集信号,提高可靠性,保证乘客安全;还能优化汽车前部布置空间,使驾驶舱空间更通畅,维修方便。
    展开 >
    02

    专利详情

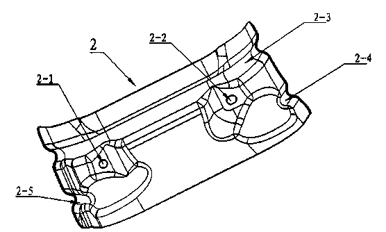
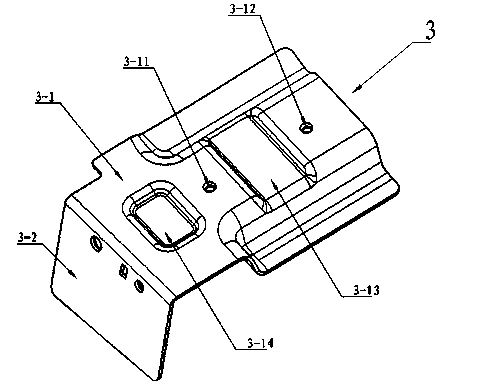
    技术领域 本发明涉及汽车车身安全领域,具体涉及一种汽车安全气囊控制器安装结构。 背景技术 目前,有的车型配置有安全气囊,其安全气囊控制器(ECU)一般都安装于前壁板上或其他强度较好、振动较弱位置。该结构需要在前壁板上焊接一个支架,用于安全气囊控制器的安装。此种安装方式一般支架结构较复杂,制作难度较大,且局限于汽车驾驶室的布置空间,装配不便,在维修车辆过程拆装仪表台板时容易导致安全气囊失效,严重影响其可靠性能,直接影响驾驶员及乘员安全。因此,需要寻求另外的安全气囊控制器安装途径。汽车前地板中央通道是一个可选择的部位。而现有的汽车前地板中央通道结构一般是由两根分段式或贯通式横梁与地板搭接,再与车架纵梁相连接进行加强。汽车行驶过程中,地面作用于车辆的力通过轮胎、车架纵梁、地板横梁会传递到地板中央通道,在颠簸路面,地板中央通道处振动较强,若安全气囊控制器直接安装于中央通道上方,会导致振动较强,安全气囊控制器采集信号受到干扰而不准确,影响安全气囊正常的使用功能,并且可能造成安全事故。因此,还需要进一步对安装结构提出优选的技术方案。 发明内容 本发明的目的是提供一种汽车安全气囊控制器安装结构,其能使汽车安全气囊控制器在复杂路面及各种工况下行驶时准确采集信号,提高可靠性,保证乘客安全;还能优化汽车前部布置空间,使驾驶舱空间更通畅,维修方便。 本发明所述的一种汽车安全气囊控制器安装结构,包括定位连接在前地板中央通道中段下面的加强件和定位连接在前地板中央通道中段上面的安装支架,安装支架与加强件相对应,其特征是:汽车安全气囊控制器安装在所述安装支架上。 所述的一种汽车安全气囊控制器安装结构,其所述加强件为冲压成型的钣金件,其上设有一个圆形焊接定位孔、一个条形焊接定位孔、一贯通加强筋和两小段加强筋;所述加强件焊接在前地板中央通道中段的下面。 所述的一种汽车安全气囊控制器安装结构,其所述安装支架为冲压成型的钣金件,由一安装面和连接在该安装面的一侧边并向下弯折地搭接边构成;在所述安装面上设有两安装孔,在所述安装面焊接有两个分别与两个安装孔对应的凸焊螺母,两个凸焊螺母用于安装汽车安全气囊控制器。 进一步,在所述安装面上还设有一条下凹加强筋和一沉台。下凹加强筋和沉台均起增加强度作用。 本发明的有益效果:本方案对地板中央通道结构进行了加强,在地板中央通道下部增加一加强件,在前地板中部上方增加一安全气囊控制器安装支架,汽车安全气囊ECU控制器安装于地板中通道上方,经过CAE模拟分析及安装气囊控制器信号采集试验验证,该方案能够有效提升地板中央通道局部模态,减小前地板中通道的振幅及振动频率,试验表明在0-500Hz(汽车正常使用一般低于500Hz)范围内,作用于安装气囊控制器上X方向、Y方向振幅均处于可接受范围内。这样,在复杂路面及各种工况行驶时,控制器均能够准确采集信号。该方案优化了汽车前部布置空间,驾驶舱空间更通畅,且安装可靠、维修方便,极大加强了安全气囊可靠性能,保证乘客被动安全。 附图说明 图1 是本发明的加强件的结构示意图; 图2 是本发明的安装支架的结构示意图; 图3是本发明的加强件焊接在前地板中央通道上的示意图; 图4 是本发明的安装支架焊接在前地板中央通道上的示意图。 具体实施方式 下面结合附图对本发明作进一步的说明。 参见图1、图2、图3和图4, 本发明所述的一种汽车安全气囊控制器安装结构,包括定位连接在前地板中央通道1中段下面的加强件2和定位连接在前地板中央通道1中段上面的安装支架3,安装支架3与加强件2相对应,汽车安全气囊控制器安装在所述安装支架3上。 进一步,所述加强件2为冲压成型的钣金件,其上设有一个圆形焊接定位孔2-1、一个条形焊接定位孔2-2、一贯通加强筋2-3和两小段加强筋2-4、2-5;所述加强件2焊接在前地板中央通道1中段的下面。 进一步,所述安装支架3为冲压成型的钣金件,由一安装面3-1和连接在该安装面的一侧边并向下弯折的搭接边3-2构成;在所述安装面3-1上设有两安装孔3-11、3-12,在所述安装面3-1焊接有两个分别与两个安装孔对应的凸焊螺母,两个凸焊螺母用于安装汽车安全气囊控制器。 进一步,在所述安装面3-1上还设有一条下凹加强筋3-13和一沉台3-14。下凹加强筋和沉台均起增加强度作用。 本发明将汽车安全气囊控制器安装于汽车的前地板中央通道上,对前地板中央通道的结构进行了加强。为解决前地板中央通道偏软,振动强烈问题,在前地板中央通道的下面增加一加强件,采用焊接方式与前地板中央通道的中段相连,从而提高了前地板中央通道的强度。 在前地板中央通道的中段上面焊接一安全安装支架,用以安装汽车安全气囊控制器。经过CAE模拟分析及抠样验证,有效地提升了前地板中央通道的局部模态,减小了前地板中通道的振幅及频率,汽车安全气囊控制器在复杂路面及各种工况行驶,均能够准确采集信号,该方案优化了汽车前部布置空间,驾驶舱空间更通畅,且安装可靠、维修方便,极大加强了安全气囊可靠性能,保证乘客安全。 一种汽车安全气囊控制器安装结构
    展开 >
    说明书附图
    >
    交易服务流程
    >

    挑选中意的板块

    ----

    客服确认选择专利的交易信息和价格并支付相应款项

    办理转让材料

    ----

    协助双方准备相应的材料

    签订协议

    ----

    协助卖家签订协议

    办理备案手续

    ----

    买卖双方达成一致后

    交易完成

    ----

    交易完成可投入使用

    过户资料 & 安全保障 & 承诺信息
    >

    过户资料

    买卖双方需提供的资料
    公司 个人
    买家 企业营业执照
    企业组织机构代码证
    身份证
    卖家 企业营业执照
    专利证书原件
    身份证
    专利证书原件
    网站提供 过户后您将获得
    专利代理委托书
    专利权转让协议
    办理文件副本请求书
    发明人变更声明
    专利证书
    手续合格通知书
    专利登记薄副本

    安全保障

    承诺信息

    我方拟转让所持标的项目,通过中国汽车知识产权交易平台公开披露项目信息和组织交易活动,依照公开、公平、公正和诚信的原则作如下承诺:

    1、本次项目交易是我方真实意思表示,项目标的权属清晰,除已披露的事项外,我方对该项目拥有完全的处置权且不存在法律法规禁止或限制交易的情形;
    2、本项目标的中所涉及的处置行为已履行了相应程序,经过有效的内部决策,并获得相应批准;交易标的涉及共有或交易标的上设置有他项权利,已获得相关权利 人同意的有效文件。
    3、我方所提交的信息发布申请及相关材料真实、完整、准确、合法、有效,不存在虚假记载、误导性陈述或重大遗漏;我方同意平台按上述材料内容发布披露信息, 并对披露内容和上述的真实性、完整性、准确性、合法性、有效性承担法律责任;
    4、我方在交易过程中自愿遵守有关法律法规和平台相关交易规则及规定,恪守信息发布公告约定,按照相关要求履行我方义务;
    5、我方已认真考虑本次项目交易行为可能导致的企业经营、行业、市场、政策以及其他不可预计的各项风险因素,愿意自行承担可能存在的一切交易风险;
    6、我方在平台所组织交易期间将不通过其他渠道对标的项目进行交易;
    7、我方将按照平台收费办法及相关交易文件的约定及时、足额支付相关费用,不因与受让方争议或合同解除、终止等原因拒绝、拖延、减少交纳或主张退还相关费用。