当前位置: 首页> 专利交易> 详情页
    待售中

    一种变速器助力挂挡限位装置[ZH]

    专利编号: ZL202511240001

    收藏

    拟转化方式: 转让;普通许可;排他许可;作价投资;质押融资;开放许可

    交易价格:面议

    专利类型:发明专利

    法律状态:授权

    技术领域:变速器

    发布日期:2025-11-24

    发布有效期: 2025-11-24 至 2037-06-21

    专利顾问 — 王老师

    电话咨询

    咨询电话

    13760886304

    专利基本信息
    >
    申请号 CN201710476852.1 公开号 CN107202162A
    申请日 2017-06-21 公开日 2017-09-26
    申请人 陕西法士特齿轮有限责任公司 专利授权日期 2023-08-08
    发明人 李玲丽;章刚 专利权期限届满日 2037-06-21
    申请人地址 710119 陕西省西安市高新区长安产业园西部大道129号 最新法律状态 授权
    技术领域 变速器 分类号 F16H61/18
    技术效果 其他技术效果 有效性 有效(授权、部分无效)
    专利代理机构 徐文权 代理人 徐文权
    专利技术详情
    >
    01

    专利摘要

    本发明公开了一种变速器助力挂挡限位装置,通过在操纵装置壳体一侧的挡块安装孔和手感柱销,操纵装置壳体内的助力器内轴拨头一侧开设有限位凹槽,变速器换挡时助力器内轴拨头旋转到凹槽侧面与手感柱销接触时,助力器内轴拨头不能继续旋转,换挡助力器输入轴停止移动,换挡助力器输出轴在助力器气缸内气压及变速器内自锁弹簧惯性力的作用下继续移动推动换挡拨头完成同步器换挡动作,换挡助力器输出轴位移达到与助力器输入轴位移相等,本发明结构简单,挂挡限位可靠,通用性强,可适用所有带换挡助力器的变速器,本发明不但充分利用了助力器的助力效果,也不影响主机厂的操纵杆系布置,可以不做任何改变地与操纵杆系匹配。
    展开 >
    02

    专利详情

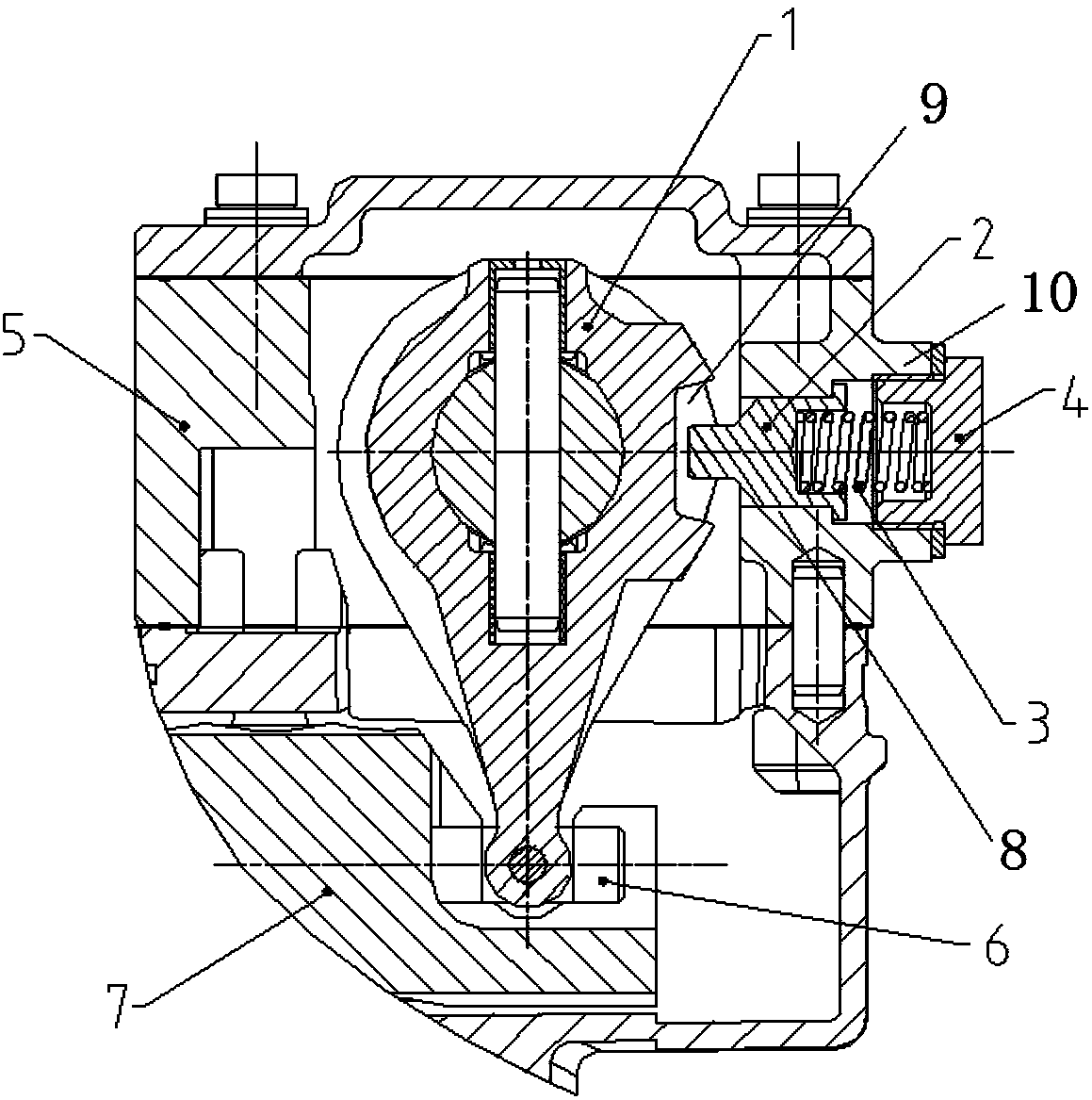
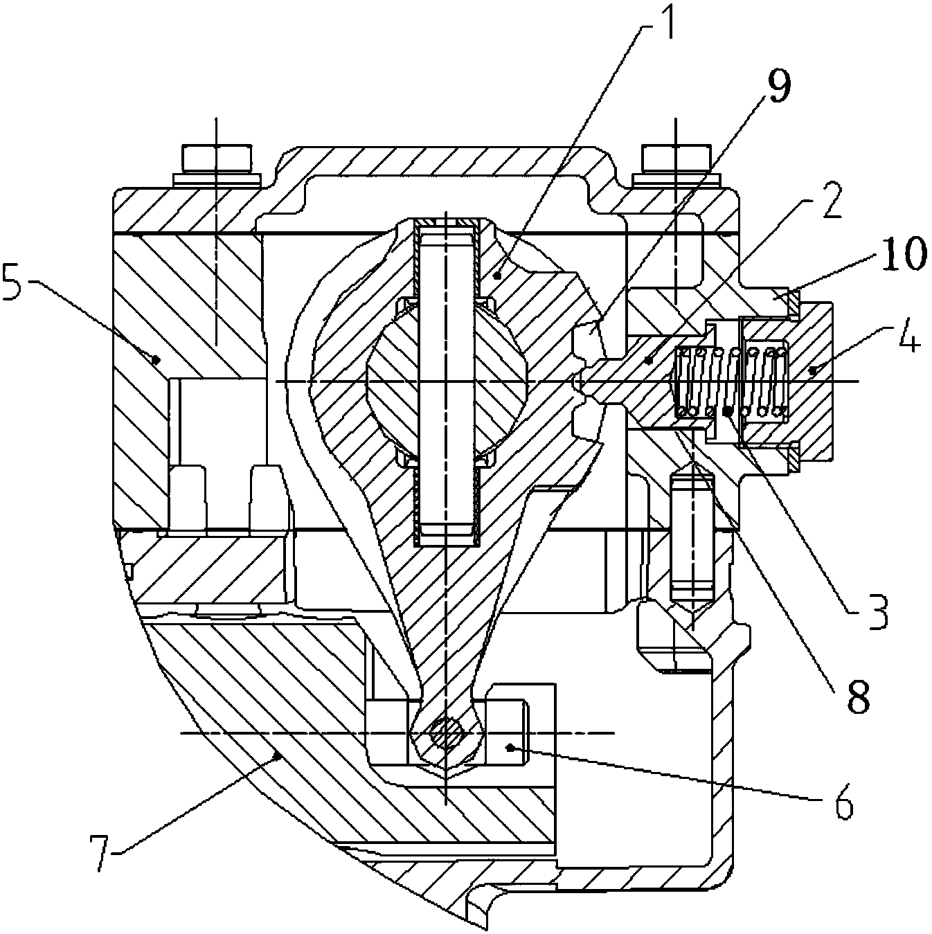
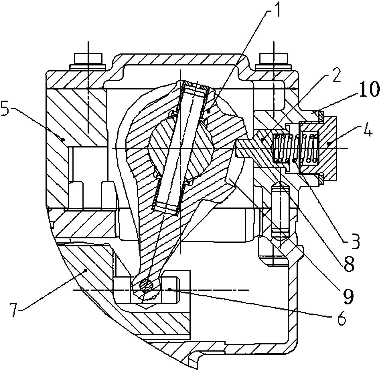
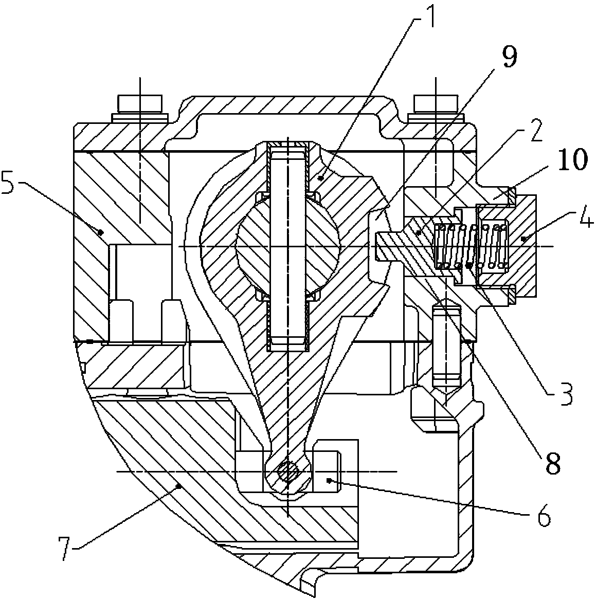
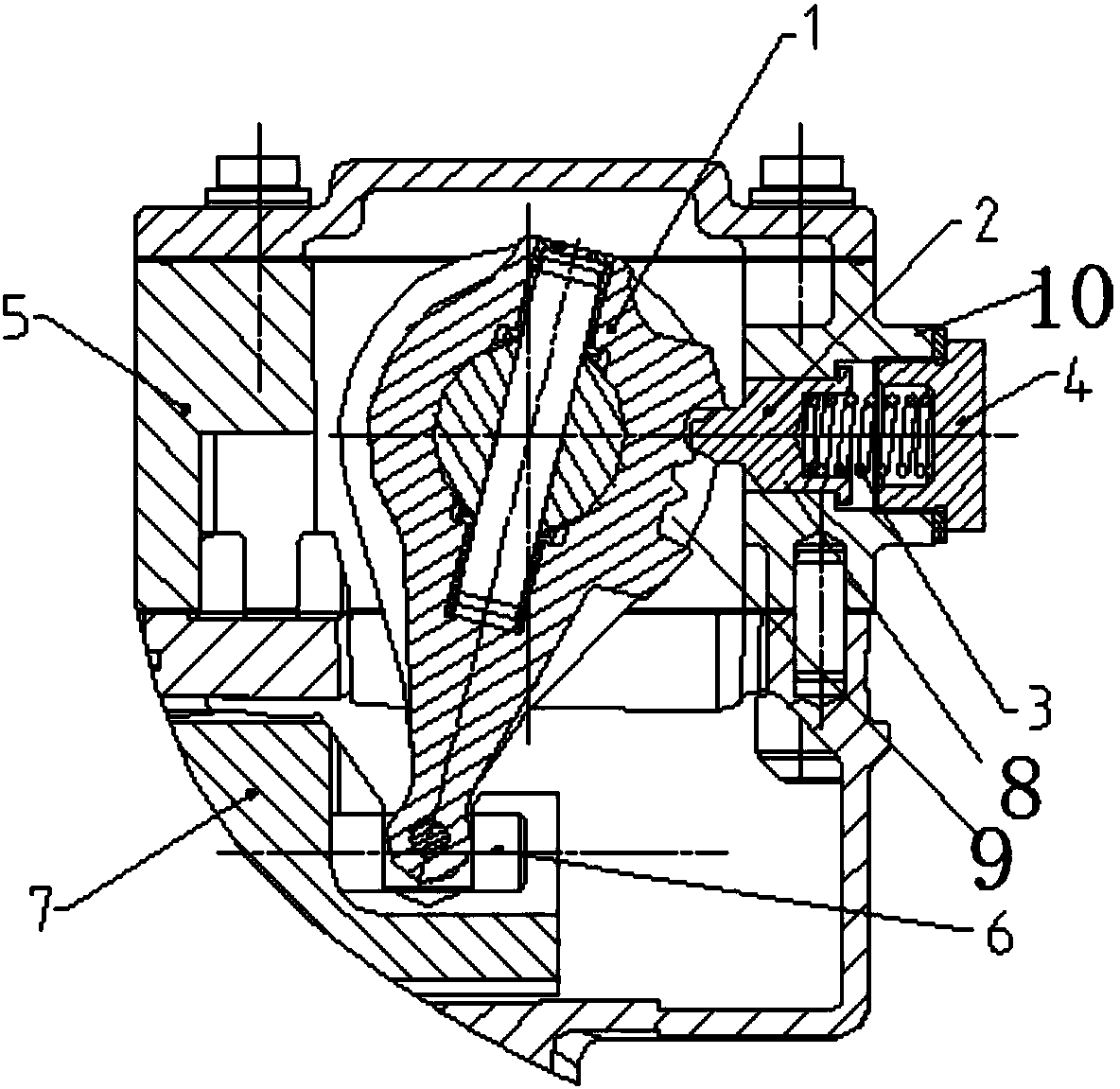
    技术领域 本发明属于带助力器变速器领域,具体涉及一种变速器助力挂挡限位装置。 背景技术 变速器加换挡助力器后由于助力器阀芯开启行程的影响,使变速器换挡角度增 大,换挡角度增加是主机厂不能接受的,为了保证换挡角度就需要牺牲一部分的助力效果, 目前国内外的匹配模式就是加助力器后缩小操纵杆系的杠杆比,但杠杆比的变化可能与驾 驶室人机工效学的设计相悖,主机厂往往不同意,本发明通过在与助力器输入轴连接的内 轴拨头处增加挂挡限位机构确保变速器最终的换挡角度为限位结构所设计的角度,消除了 助力器阀芯开启行程的影响,不但充分利用了助力器的助力效果,也不影响主机厂的操纵 杆系布置,可以不做任何改变地与操纵杆系匹配,迅速地为主机厂接受并推广。 手动变速器由于成本低,驾驶娱乐性高在汽车市场一直占据着很高的市场份额, 但普通手动变速箱换挡力大,换挡行程长增加了驾驶人员的劳动强度,随着以人为中心的 现代汽车设计理念的发展,舒适性已成为评价汽车的一项重要指标,换挡力小、换挡舒适成 为整车销售的卖点也成为变速器厂家竞争的关键点,最近几年各大主机厂都提出了对换挡 力的要求,为了降低换挡力开始在变速器上增加换挡助力器,换档助力器可以通过减小换 档力增加操纵舒适性,而且因其响应时间快、随动性好得到了用户的青睐,手动变速器加装 换档助力器是大势所趋,但换挡助力器因阀芯开启行程的影响会增加换挡行程,为了保证 换挡行程,就需要牺牲一部分的助力效果,目前国内外的匹配模式就是加助力器后缩小操 纵杆系的杠杆比,但杠杆比的变化可能与驾驶室人机工效学的设计相悖,主机厂往往不同 意,这严重制约了换挡助力器在变速器上的推广,换挡助力器经过十多年的发展一直没有 大批量使用这也是其中的原因之一。 发明内容 本发明的目的在于提供一种变速器助力挂挡限位装置,以克服现有技术的不足。 为达到上述目的,本发明采用如下技术方案: 一种变速器助力挂挡限位装置,包括开设在操纵装置壳体一侧的挡块安装孔,挡 块安装孔内设置有手感柱销,操纵装置壳体内的助力器内轴拨头一侧开设有限位凹槽,操 纵装置壳体的挡块安装孔与助力器内轴拨头的限位凹槽开设于同一侧,手感柱销头部位于 助力器内轴拨头的限位凹槽内,手感柱销后端通过定位装置固定定位。 进一步的,手感柱销后端与操纵装置壳体之间设有弹簧。 进一步的,操纵装置壳体的挡块安装孔为通孔,挡块安装孔外侧设有通孔凸台,通 孔凸台内孔设有螺纹,通孔凸台内通过螺纹安装有手感螺塞。 进一步的,手感螺塞与通孔凸台端部之间设有密封垫。 进一步的,手感柱销与手感螺塞之间设有弹簧,弹簧两端分别置于手感柱销尾部 的凹孔和手感螺塞内部凹孔内。 进一步的,助力器内轴拨头的限位凹槽内设有空挡定位凹槽。 进一步的,空挡定位凹槽为V型凹槽。 进一步的,换挡助力器输入轴上开设有开口槽,助力器内轴拨头下端置于换挡助 力器输入轴的开口槽内,换挡助力器输入轴置于换挡助力器输出轴的滑槽内。 与现有技术相比,本发明具有以下有益的技术效果: 本发明一种变速器助力挂挡限位装置,通过在操纵装置壳体一侧开设挡块安装 孔,在挡块安装孔内设置有手感柱销,操纵装置壳体内的助力器内轴拨头一侧开设有限位 凹槽,操纵装置壳体的挡块安装孔与助力器内轴拨头的限位凹槽开设于同一侧,在工作过 程中,变速器换挡时助力器内轴拨头旋转,当助力器内轴拨头旋转到凹槽侧面与手感柱销 接触时,由于手感柱销的阻挡,助力器内轴拨头不能继续旋转,换挡助力器输入轴停止移 动,变速器的挂挡角度就是挂挡限位机构所设计的角度,同时换挡助力器输出轴在助力器 气缸内气压及变速器内自锁弹簧惯性力的作用下继续移动推动换挡拨头完成同步器换挡 动作,换挡助力器输出轴位移达到与助力器输入轴位移相等,从而达到了助力换挡的目的, 本发明结构简单,挂挡限位可靠,通用性强,可适用所有带换挡助力器的变速器,本发明不 但充分利用了助力器的助力效果,也不影响主机厂的操纵杆系布置,可以不做任何改变地 与操纵杆系匹配。 附图说明 图1为本发明空挡位置时挂挡限位结构示意图。 图2位本发明挂挡限位工作状态结构示意图。 图3为本发明空挡定位凹槽结构示意图。 图4为本发明空挡定位凹槽工作状态结构示意图。 其中,1、助力器内轴拨头;2、手感柱销;3、弹簧;4、手感螺塞;5、操纵装置壳体;6、 换挡助力器输入轴;7、换挡助力器输出轴;8、挡块安装孔;9、限位凹槽;10、通孔凸台。 具体实施方式 下面结合附图对本发明做进一步详细描述: 如图1、图2所示,一种变速器助力挂挡限位装置,包括开设在操纵装置壳体5一侧 的挡块安装孔8,挡块安装孔8内设置有手感柱销2,操纵装置壳体5内的助力器内轴拨头1一 侧开设有限位凹槽9,操纵装置壳体5的挡块安装孔8与助力器内轴拨头1的限位凹槽9开设 于同一侧,手感柱销2头部位于助力器内轴拨头1的限位凹槽9内,手感柱销2后端通过定位 装置固定定位; 手感柱销2后端与操纵装置壳体5之间设有弹簧3; 操纵装置壳体5的挡块安装孔8为通孔,挡块安装孔8外侧设有通孔凸台10,通孔凸 台10内孔设有螺纹,通孔凸台10内通过螺纹安装有手感螺塞4,手感螺塞4与通孔凸台10端 部之间设有密封垫,手感柱销2和手感螺塞4之间设有弹簧3,弹簧3两端分别置于手感柱销2 尾部的凹孔和手感螺塞4内部凹孔内; 如图3、图4所示,助力器内轴拨头1的限位凹槽内设有空挡定位凹槽,空挡定位凹 槽为V型凹槽。 换挡助力器输入轴6上开设有开口槽,助力器内轴拨头1下端置于换挡助力器输入 轴6的开口槽内,换挡助力器输入轴6置于换挡助力器输出轴7的滑槽内,助力器内轴拨头1 转动时带动换挡助力器输入轴6在换挡助力器输出轴7的滑槽内水平滑动,助力器内轴拨头 1相对换挡助力器输入轴6转动的同时上下滑动。 下面结合附图对本发明的结构原理和使用步骤作进一步说明: 如图1至图4所示,当变速器在空挡状态时,手感柱销2在限位凹槽的中间,不影响 助力器内轴拨头的旋转;变速器换挡时助力器内轴拨头旋转,当助力器内轴拨头旋转到凹 槽侧面与手感柱销接触时,由于手感柱销的阻挡,助力器内轴拨头不能继续旋转,换挡助力 器输入轴停止移动,变速器的挂挡角度就是挂挡限位机构所设计的角度,同时换挡助力器 输出轴在助力器气缸内气压及自锁弹簧惯性力的作用下继续移动推动拨头完成同步器换 挡动作,换挡助力器输出轴位移达到与助力器输入轴位移相等; 通过在手感柱销2与操纵装置壳体5之间设置弹簧3,在助力器内轴拨头1的限位凹 槽内设置空挡定位凹槽,在空挡状态时,手感柱销2头部在弹簧3的作用下抵入空挡定位凹 槽内,防止空挡时挡杆晃动。本发明结构简单,挂挡限位可靠,通用性强,可适用所有带换挡 助力器的变速器,本发明不但充分利用了助力器的助力效果,也不影响主机厂的操纵杆系 布置,可以不做任何改变地与操纵杆系匹配,迅速地为主机厂接受并推广,避免了主机厂对 于操纵杆的重新设计更改。 一种变速器助力挂挡限位装置
    展开 >
    说明书附图
    >
    交易服务流程
    >

    挑选中意的板块

    ----

    客服确认选择专利的交易信息和价格并支付相应款项

    办理转让材料

    ----

    协助双方准备相应的材料

    签订协议

    ----

    协助卖家签订协议

    办理备案手续

    ----

    买卖双方达成一致后

    交易完成

    ----

    交易完成可投入使用

    过户资料 & 安全保障 & 承诺信息
    >

    过户资料

    买卖双方需提供的资料
    公司 个人
    买家 企业营业执照
    企业组织机构代码证
    身份证
    卖家 企业营业执照
    专利证书原件
    身份证
    专利证书原件
    网站提供 过户后您将获得
    专利代理委托书
    专利权转让协议
    办理文件副本请求书
    发明人变更声明
    专利证书
    手续合格通知书
    专利登记薄副本

    安全保障

    承诺信息

    我方拟转让所持标的项目,通过中国汽车知识产权交易平台公开披露项目信息和组织交易活动,依照公开、公平、公正和诚信的原则作如下承诺:

    1、本次项目交易是我方真实意思表示,项目标的权属清晰,除已披露的事项外,我方对该项目拥有完全的处置权且不存在法律法规禁止或限制交易的情形;
    2、本项目标的中所涉及的处置行为已履行了相应程序,经过有效的内部决策,并获得相应批准;交易标的涉及共有或交易标的上设置有他项权利,已获得相关权利 人同意的有效文件。
    3、我方所提交的信息发布申请及相关材料真实、完整、准确、合法、有效,不存在虚假记载、误导性陈述或重大遗漏;我方同意平台按上述材料内容发布披露信息, 并对披露内容和上述的真实性、完整性、准确性、合法性、有效性承担法律责任;
    4、我方在交易过程中自愿遵守有关法律法规和平台相关交易规则及规定,恪守信息发布公告约定,按照相关要求履行我方义务;
    5、我方已认真考虑本次项目交易行为可能导致的企业经营、行业、市场、政策以及其他不可预计的各项风险因素,愿意自行承担可能存在的一切交易风险;
    6、我方在平台所组织交易期间将不通过其他渠道对标的项目进行交易;
    7、我方将按照平台收费办法及相关交易文件的约定及时、足额支付相关费用,不因与受让方争议或合同解除、终止等原因拒绝、拖延、减少交纳或主张退还相关费用。