当前位置: 首页> 专利交易> 详情页
    待售中

    一种范围档互锁装置及操作方法[ZH]

    专利编号: ZL202511240004

    收藏

    拟转化方式: 转让;普通许可;排他许可;作价投资;质押融资;开放许可

    交易价格:面议

    专利类型:发明专利

    法律状态:授权

    技术领域:变速器

    发布日期:2025-11-24

    发布有效期: 2025-11-24 至 2037-06-16

    专利顾问 — 伍先生

    微信咨询

    扫码微信咨询

    电话咨询

    咨询电话

    18273488208

    专利基本信息
    >
    申请号 CN201710459007.3 公开号 CN107218392A
    申请日 2017-06-16 公开日 2017-09-29
    申请人 陕西法士特齿轮有限责任公司 专利授权日期 2023-08-08
    发明人 刘伟锋 专利权期限届满日 2037-06-16
    申请人地址 710119 陕西省西安市高新区长安产业园西部大道129号 最新法律状态 授权
    技术领域 变速器 分类号 F16H63/34
    技术效果 疲劳耐久性 有效性 有效(授权、部分无效)
    专利代理机构 徐文权 代理人 徐文权
    专利技术详情
    >
    01

    专利摘要

    本发明提供的一种范围档互锁装置及操作方法,首先在副箱上增加拨叉联动轴,同时在主箱上设置与拨叉联动轴相接触的滑动柱销和拨叉互锁块,通过拨叉互锁块与滑动柱销的配合,实现主箱的锁止,通过滑动柱销与拨叉联动轴的配合,实现副箱的锁止,确保副箱范围档转换过程中,主箱锁止,不允许挂挡;副箱范围档转换完毕后,主箱解锁,可以挂挡。本发明采用纯机械式结构,结构简单,故障点少,对整个产品成本增加很少,达到了范围档互锁的目的。
    展开 >
    02

    专利详情

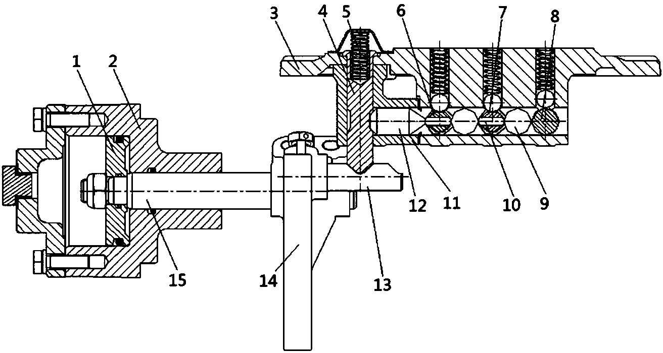
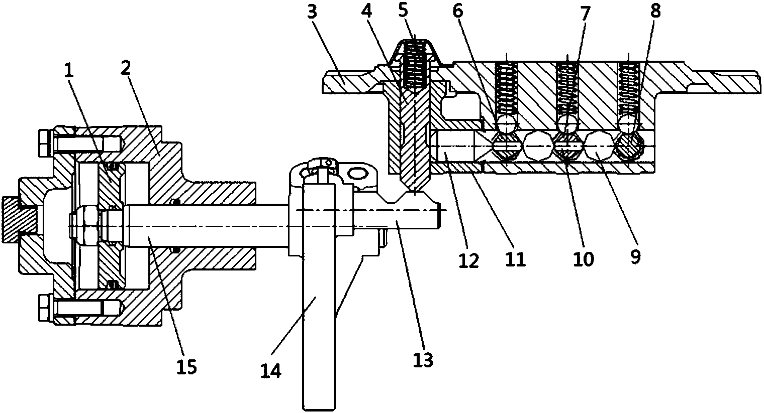
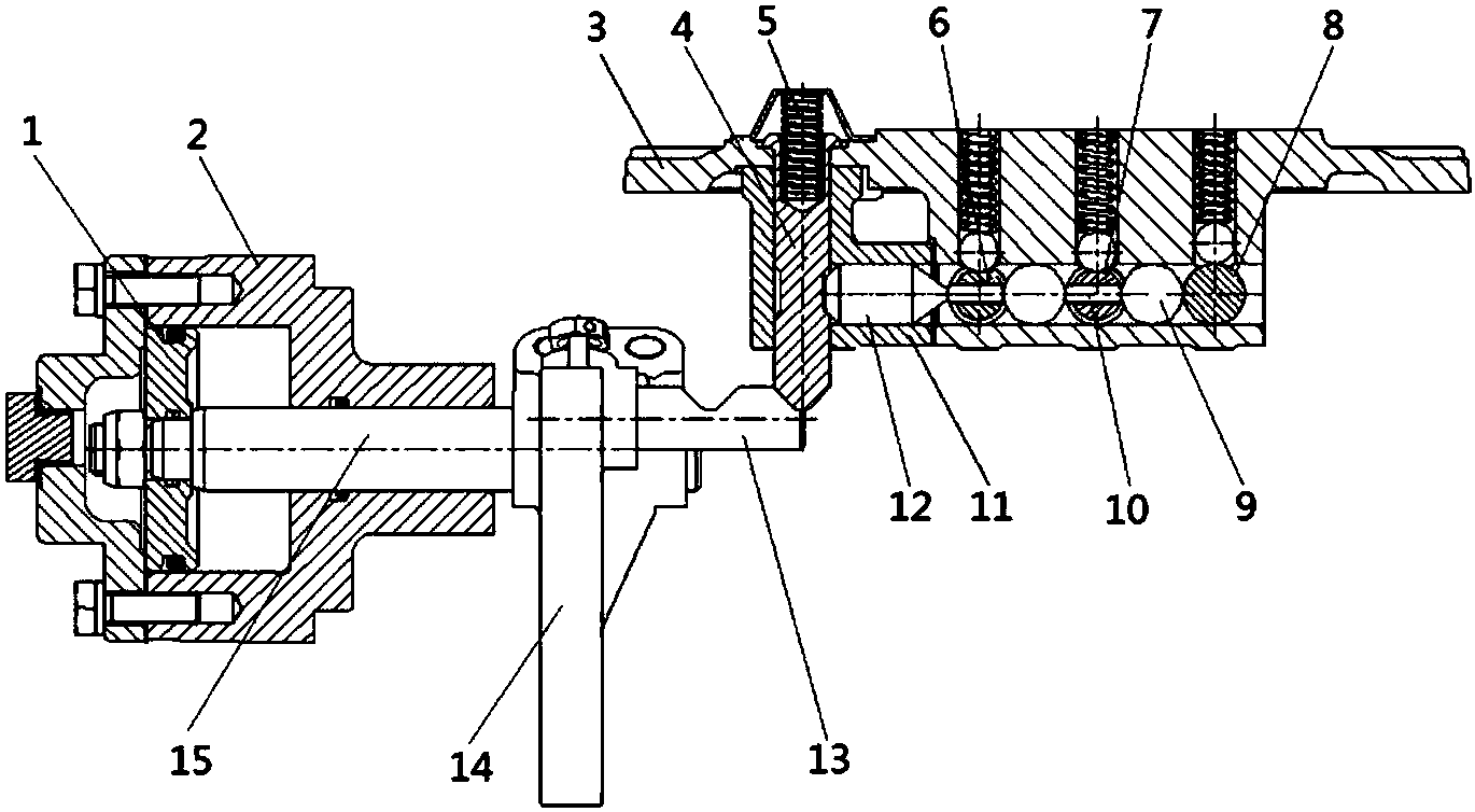
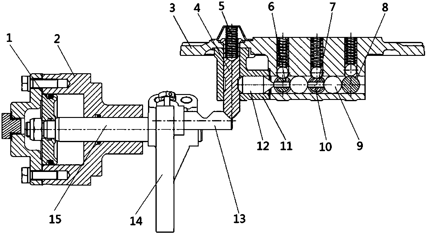
    技术领域 本发明属于变速器领域,具体涉及一种范围档互锁装置及操作方法。 背景技术 副箱同步器失效是较为常见变速器故障模式,不规范操作更容易导致副箱同步器 异常损坏,最常见的不规范操作为副箱范围档没有完全切换(高低档没有转换到位),主箱 就开始挂档,引起同步惯量急剧升高,造成同步器早期损坏。 为从根本上解决问题,有效保护后副箱同步器,提高变速器寿命,必须从产品结构 上对这种不规范操作加以限制,确保后副箱范围档在没有完全切换的情况下主箱不能挂 挡。为此,本专利要设计了一种变速器范围档互锁机构,防止不正当操作带来的同步器早期 损坏。 发明内容 本发明的目的在于提供一种范围档互锁装置及其操作方法,解决了副箱范围档没 有完全切换,主箱就开始挂档,引起同步惯量急剧升高,造成同步器早期损坏。 为了达到上述目的,本发明采用的技术方案具体如下: 本发明提供的一种范围档互锁装置,包括安装在气缸内的气缸拨叉轴、变速器主 箱上盖和变速器主箱壳体,其中,所述气缸拨叉轴的一端与气缸活塞连接,另一端与范围档 拨叉配合连接,所述范围档拨叉上还配合连接有拨叉联动轴; 变速器主箱壳体上开设有第一安装孔和与第一安装孔轴线互相垂直的第二安装 孔,所述第一安装孔内设置有与拨叉联动轴相配合的滑动柱销,滑动柱销的另一端通过第 一弹簧与固定在变速器主箱上盖上的端盖连接; 第二安装孔内设置有与滑动柱销上开设的环形槽相配合的拨叉互锁块,所述拨叉 互锁块的另一端连接有与档位拨叉轴相配合的滑动机构。 优选地,拨叉联动轴与滑动柱销的接触端上开设有档位齿形槽;档位齿形槽与滑 动柱销上的齿形端面相配合。 优选地,所述档位齿形槽包括高档位齿形槽和低档位齿形槽。 一种范围档互锁装置的操作方法,当主箱挂挡时,副箱中的气缸活塞推动气缸移 动,气缸带动拨叉联动轴向滑动柱销的一侧靠近且与滑动柱销相接触;继续推动拨叉联动 轴,直至滑动柱销上的环形槽与拨叉轴互锁块和滑动机构同轴,且拨叉轴互锁块嵌入滑动 柱销上的环形槽内; 当副箱换挡时,气缸活塞推动气缸移动,气缸带动拨叉联动轴向滑动柱销的一侧 靠近且与滑动柱销相接触;继续推动拨叉联动轴,直至滑动柱销与拨叉轴互锁块和滑动机 构不同轴,且拨叉轴互锁块挤出滑动柱销上的环形槽内。 优选地,滑动机构包括第一互锁销、第二互锁销、第一互锁钢球和第二互锁钢球, 其中,拨叉互锁块依次与第一互锁销、第一互锁钢球、第二互锁销和第二互锁钢球连接,同 时,第一互锁销装于1/R档拨叉轴的销孔内,第二互锁销装于2/3档拨叉轴的销孔内,第一互 锁钢球位于1/R档拨叉轴的凹槽和2/3档拨叉轴的凹槽之间,第二互锁钢球位于2/3档拨叉 轴的凹槽和4/5档拨叉轴的凹槽之间。 优选地,拨叉互锁块、第一互锁销、第一互锁钢球、第二互锁销和第二互锁钢球同 轴布置。 优选地,变速器主箱上盖上在第一弹簧的一侧依次还安装有第二弹簧、第三弹簧 和第四弹簧,其中,第二弹簧、第三弹簧和第四弹簧在下端分别通过自锁钢球与1/R档拨叉 轴、2/3档拨叉轴和4/5档拨叉轴连接。 优选地,当主箱挂挡时,第二弹簧、第三弹簧和第四弹簧分别将自锁钢球压入1/R 档拨叉轴、2/3档拨叉轴和4/5档拨叉轴上相应档位的弧形凹槽内,实现主箱自锁功能。 优选地,当副箱换挡时,第一互锁销、第一互锁钢球、第二互锁销和第二互锁钢球 分别卡在1/R档拨叉轴、2/3档拨叉轴和4/5档拨叉轴上相应档位的弧形凹槽内,实现主箱各 档均锁止在空档位置。 与现有技术相比,本发明的有益效果是: 本发明提供的一种范围档互锁装置,首先在副箱上增加拨叉联动轴,同时在主箱 上设置与拨叉联动轴相接触的滑动柱销和拨叉互锁块,通过拨叉互锁块与滑动柱销的配 合,实现主箱的锁止,通过滑动柱销与拨叉联动轴的配合,实现副箱的锁止,确保副箱范围 档转换过程中,主箱锁止,不允许挂挡;副箱范围档转换完毕后,主箱解锁,可以挂挡。本专 利采用纯机械式结构,结构简单,故障点少,对整个产品成本增加很少,达到了范围档互锁 的目的。 进一步的,通过滑动柱销的齿形端与拨叉联动轴上高/低档位齿形槽的配合,实现 副箱高档位和低档位的锁止。 附图说明 图1是范围档气缸处于低档位置时,互锁机构示意图; 图2是范围档气缸处于高低档转换过程中时,互锁机构示意图; 图3是范围档气缸处于高档位置时,互锁机构示意图; 其中,1、气缸活塞 2、气缸 3、变速器主箱上盖 4、滑动柱销 5、第一弹簧 6、1/R档 拨叉轴 7、2/3档拨叉轴 8、4/5档拨叉轴 9、第二互锁钢球 10、第二互锁销 11、变速器壳体 12、拨叉轴互锁块 13、拨叉联动轴 14、范围档拨叉 15、气缸拨叉轴。 具体实施方式 下面结合附图,对本发明进一步详细说明。 如图1所示,本发明提供的一种范围档互锁装置,包括气缸活塞1、气缸2、变速器主 箱上盖3、滑动柱销4、第一弹簧5、1/R档拨叉轴6、2/3档拨叉轴7、4/5档拨叉轴8、第二互锁钢 球9、第二互锁销10、变速器壳体11、拨叉轴互锁块12、拨叉联动轴13、范围档拨叉14和气缸 拨叉轴15,其中,气缸拨叉轴15安装在气缸2上的安装孔内,其一端与气缸活塞1连接,另一 端与范围档拨叉14配合连接,范围档拨叉14上还连接有拨叉联动轴13,其中,所述拨叉联动 轴13与气缸拨叉轴15不同轴。 变速器主箱壳体11上开设有第一安装孔和与第一安装孔轴线互相垂直的第二安 装孔,所述第一安装孔内设置有与拨叉联动轴13相配合的滑动柱销4,滑动柱销4的另一端 通过第一弹簧5与固定在变速器主箱上盖3上的端盖连接; 第二安装孔内设置有与滑动柱销4相配合的拨叉互锁块12,所述拨叉互锁块12的 另一端连接有与档位拨叉轴相配合的滑动机构。 所述滑动机构包括第一互锁销、第二互锁销10、第一互锁钢球和第二互锁钢球9, 其中,拨叉互锁块12依次与第一互锁销、第一互锁钢球、第二互锁销10和第二互锁钢球9连 接。同时,拨叉互锁块12、第一互锁销、第一互锁钢球、第二互锁销10和第二互锁钢球9同轴 布置。 第一互锁销装于1/R档拨叉轴6的销孔内,第二互锁销10装于2/3档拨叉轴7的销孔 内,第一互锁钢球位于1/R档拨叉轴6的凹槽和2/3档拨叉轴7的凹槽之间,第二互锁钢球9位 于2/3档拨叉轴7的凹槽和4/5档拨叉轴8的凹槽之间。 变速器主箱上盖3上在第一弹簧5的右侧依次还安装有第二弹簧、第三弹簧和第四 弹簧,其中,第二弹簧、第三弹簧和第四弹簧在下端分别通过自锁钢球与1/R档拨叉轴6、2/3 档拨叉轴7和4/5档拨叉轴8连接。 所述滑动柱销4上开设有环形凹槽,所述拨叉轴互锁块12的另一端与凹槽相配合。 滑动柱销4的下端为齿型结构,该齿型结构与拨叉联动轴13上开设的齿形槽相配 合。 工作原理: 当范围档气缸处于低档位置时,如图1所示: 滑动柱销4在弹簧5力的作用下,卡在拨叉联动轴13的凹槽里,滑动柱销4外圆柱面 的凹槽与拨叉轴互锁块12、互锁钢球、互锁销中心对齐。此时主箱任一档位均可挂档,图示 以4/5档拨叉轴8挂档为例,4/5档拨叉轴8移动,轴侧的第二互锁钢球9从其侧槽被挤出,第 二互锁钢球9推动其左侧一连串的互锁销、第一互锁钢球7和拨叉轴互锁块12,直至最左边 的拨叉轴互锁块12嵌入滑动柱销4的凹槽里;即副箱处于低档位置,主箱可挂档。自锁弹簧 压缩状态下位于自锁钢球上,主箱换挡时,自锁钢球被压入拨叉轴相应档位的弧形凹槽内, 实现自锁功能。 当范围档气缸处于高低档转换过程中时,如图2所示,气缸活塞1在左侧气压的作 用下,从气缸2最左侧位置向中间位置移动,进而带动气缸拨叉轴15、范围档拨叉14和拨叉 联动轴13向右移动; 拨叉联动轴13齿形槽斜面推动滑动柱销4向上移动,直至滑动柱销4头部被顶出凹 槽紧贴拨叉联动轴13的外圆柱面;滑动柱销4上移,将拨叉轴互锁块12挤出,拨叉轴互锁块 12推动其右侧一连串的互锁销和互锁钢球,直至第二互锁钢球9嵌入4/5档拨叉轴8的凹槽 里。此时,主箱各档互锁钢球或互锁块均卡在各档拨叉轴的凹槽里,而因主箱各档均锁止在 空档位置;即副箱高低档转换过程中,主箱不能挂档。 当范围档气缸处于高档位置时,如图3所示,活塞1在左侧气压的作用下,从中间位 置继续向右移动,进而带动气缸拨叉轴15、范围档拨叉14和拨叉联动轴13向右移动。滑动柱 销4头部从拨叉联动轴13的外圆柱面落入拨叉联动轴13左边的凹槽里。滑动柱销4下移,其 外圆柱面的凹槽再次与拨叉轴互锁块12、互锁钢球和互锁销中心对齐。此时主箱任一档位 均可挂档,图示以4/5档拨叉轴8挂档为例,4/5档拨叉轴8移动,轴侧的第二互锁钢球9从其 侧槽被挤出,第二互锁钢球9推动其左侧一连串的互锁销、第一互锁钢球7和拨叉轴互锁块 12,直至最左边的拨叉轴互锁块12嵌入滑动柱销4的凹槽里;即副箱处于高档位置,主箱可 挂档。 一种范围档互锁装置及操作方法
    展开 >
    说明书附图
    >
    交易服务流程
    >

    挑选中意的板块

    ----

    客服确认选择专利的交易信息和价格并支付相应款项

    办理转让材料

    ----

    协助双方准备相应的材料

    签订协议

    ----

    协助卖家签订协议

    办理备案手续

    ----

    买卖双方达成一致后

    交易完成

    ----

    交易完成可投入使用

    过户资料 & 安全保障 & 承诺信息
    >

    过户资料

    买卖双方需提供的资料
    公司 个人
    买家 企业营业执照
    企业组织机构代码证
    身份证
    卖家 企业营业执照
    专利证书原件
    身份证
    专利证书原件
    网站提供 过户后您将获得
    专利代理委托书
    专利权转让协议
    办理文件副本请求书
    发明人变更声明
    专利证书
    手续合格通知书
    专利登记薄副本

    安全保障

    承诺信息

    我方拟转让所持标的项目,通过中国汽车知识产权交易平台公开披露项目信息和组织交易活动,依照公开、公平、公正和诚信的原则作如下承诺:

    1、本次项目交易是我方真实意思表示,项目标的权属清晰,除已披露的事项外,我方对该项目拥有完全的处置权且不存在法律法规禁止或限制交易的情形;
    2、本项目标的中所涉及的处置行为已履行了相应程序,经过有效的内部决策,并获得相应批准;交易标的涉及共有或交易标的上设置有他项权利,已获得相关权利 人同意的有效文件。
    3、我方所提交的信息发布申请及相关材料真实、完整、准确、合法、有效,不存在虚假记载、误导性陈述或重大遗漏;我方同意平台按上述材料内容发布披露信息, 并对披露内容和上述的真实性、完整性、准确性、合法性、有效性承担法律责任;
    4、我方在交易过程中自愿遵守有关法律法规和平台相关交易规则及规定,恪守信息发布公告约定,按照相关要求履行我方义务;
    5、我方已认真考虑本次项目交易行为可能导致的企业经营、行业、市场、政策以及其他不可预计的各项风险因素,愿意自行承担可能存在的一切交易风险;
    6、我方在平台所组织交易期间将不通过其他渠道对标的项目进行交易;
    7、我方将按照平台收费办法及相关交易文件的约定及时、足额支付相关费用,不因与受让方争议或合同解除、终止等原因拒绝、拖延、减少交纳或主张退还相关费用。