当前位置: 首页> 专利交易> 详情页
    待售中

    发动机气缸套[ZH]

    专利编号: ZL202510270895

    收藏

    拟转化方式: 转让;普通许可;独占许可;排他许可;作价投资;质押融资;开放许可

    交易价格:面议

    专利类型:实用新型专利

    法律状态:授权

    技术领域:发动机

    发布日期:2025-10-27

    发布有效期: 2025-10-27 至 2028-03-12

    专利顾问 — 王老师

    电话咨询

    咨询电话

    13760886304

    专利基本信息
    >
    申请号 CN201820335487.2 公开号 CN207960786U
    申请日 2018-03-12 公开日 2018-10-12
    申请人 长城汽车股份有限公司 专利授权日期 2018-10-12
    发明人 胡洪涛;渠娜;刘景贤;罗伟 专利权期限届满日 2028-03-12
    申请人地址 071000 河北省保定市朝阳南大街2266号;071000 No. 2266 Chaoyang South Street, Hebei, Baoding Baoding City Hebei Province CN 071000 最新法律状态 授权
    技术领域 发动机 分类号 F02F1/16(2006.01)I
    技术效果 密封性 有效性 有效(授权、部分无效)
    专利代理机构 北京英创嘉友知识产权代理事务所(普通合伙) 11447 代理人 徐秋荻;陈庆超
    专利技术详情
    >
    01

    专利摘要

    本实用新型提供了一种发动机气缸套,包括圆筒状的内缸套和外缸套,所述内缸套套装在所述外缸套内,所述内缸套的外侧壁和所述外缸套的内侧壁之间形成中空部,用于存储冷却介质,所述中空部的两端设置有密封结构,以将所述冷却介质封装在所述中空部内。本实用新型所述的发动机气缸套保证了气缸套温度分布均匀,快速散热,消除高温变形影响,降低磨损,进而降低漏气量和油耗,实现了快速暖机。
    展开 >
    02

    专利详情

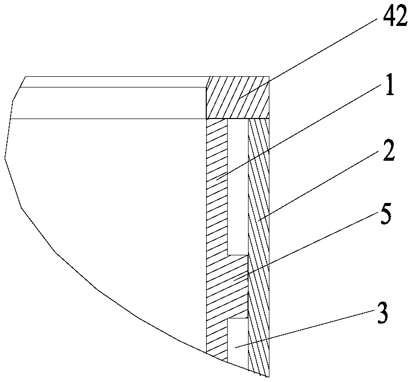
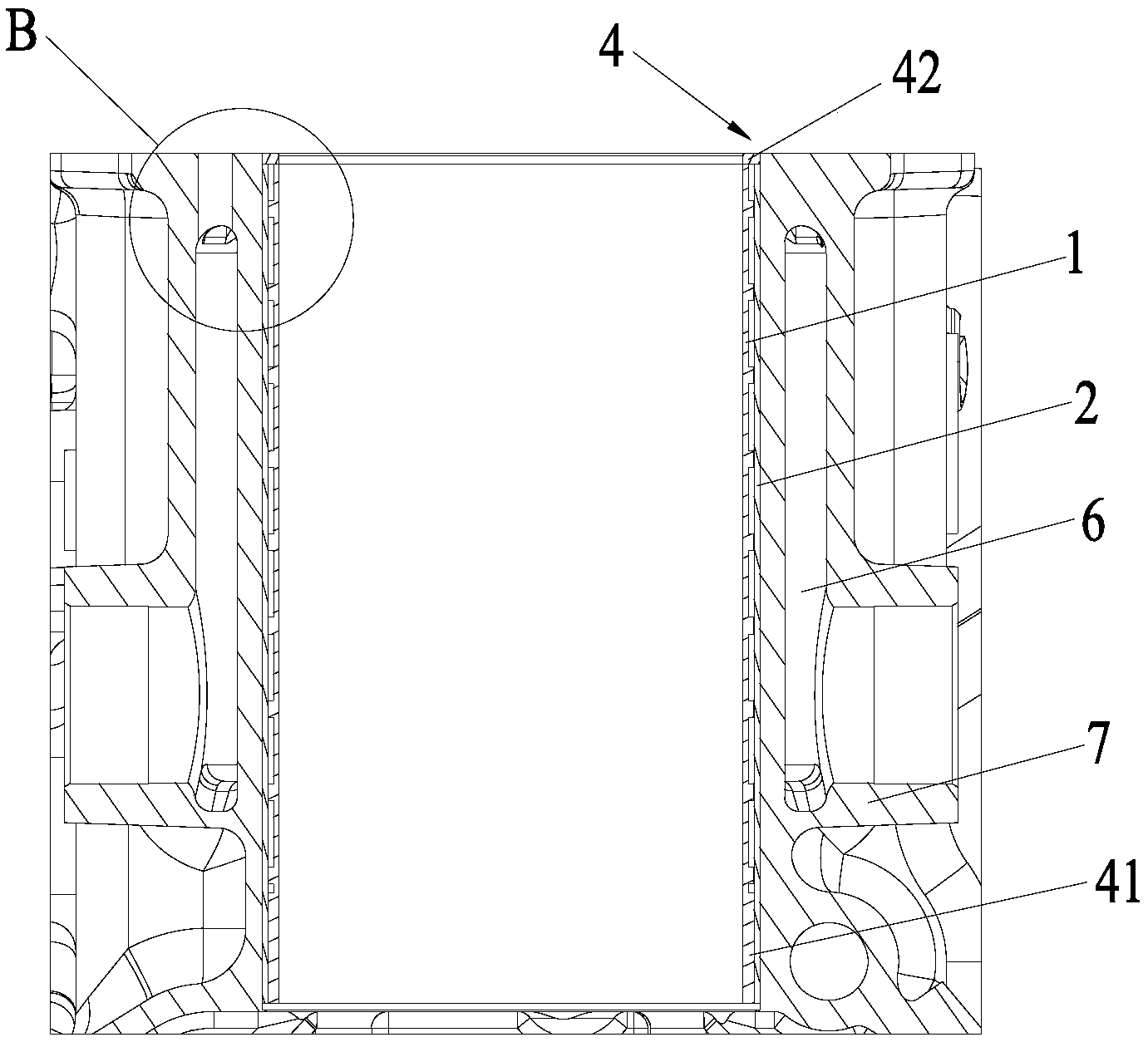
    发动机气缸套技术领域本实用新型涉及汽车发动机技术领域,特别涉及一种发动机气缸套。背景技术目前,发动机气缸套由铸铁材料制成,采用筒状结构,其侧壁为实心结构。这种结构的气缸体耐磨,强度高,可以承受发动机燃烧过程产生的爆发力,保证发动机正常工作。在发动机高温高压燃气作用下,现有的气缸套存在如下问题:气缸套上部和下部受热不均,上部温度急剧升高,下部温度较低,温度分布不均匀,并且气缸套散热不均匀,散热慢;气缸套的上部温度升高后,材料强度急剧降低,并且高压导致气缸套变形,加剧磨损,密封性变差,发动机漏气量增加,机油消耗增加。另外,在发动机启动时,发动机循环水温度升高较慢,发动机暖机速度较慢。实用新型内容有鉴于此,本实用新型旨在提出一种发动机气缸套,以保证气缸套温度分布均匀,快速散热,消除高温变形影响,降低磨损,进而降低漏气量和油耗,实现了快速暖机。为达到上述目的,本实用新型的技术方案是这样实现的:一种发动机气缸套,包括圆筒状的内缸套和外缸套,所述内缸套套装在所述外缸套内,所述内缸套的外侧壁和所述外缸套的内侧壁之间形成中空部,用于存储冷却介质,所述中空部的两端设置有密封结构,以将所述冷却介质封装在所述中空部内。进一步的,所述内缸套的外侧壁和所述外缸套的内侧壁之间连接有多个加强筋。进一步的,所述多个加强筋均为圆柱状并且呈阵列均匀分布。进一步的,所述多个加强筋一体形成在所述内缸套的外侧壁上并且与所述外缸套的内侧壁摩擦焊接。进一步的,所述密封结构包括形成在所述内缸套的外侧壁上的环状凸台,所述环状凸台位于所述内缸套的一端并且与所述外缸套的内侧壁摩擦焊接。进一步的,所述密封结构还包括密封环,所述密封环设置在所述内缸套和所述外缸套的另一端的端面上,并且封住所述内缸套和所述外缸套之间的开口。进一步的,所述密封环的内圈与所述内缸套的内侧壁平齐,所述密封环的外圈与所述外缸套的外侧壁平齐。进一步的,所述密封环与所述内缸套和所述外缸套摩擦焊接。进一步的,所述冷却介质的熔点为90~110℃,所述冷却介质选自金属钠、锡、铋、锑、银、锌、铟中的两种或两种以上。进一步的,在所述中空部内注入所述冷却介质后,所述中空部预留有10%~20%的空腔。相对于现有技术,本实用新型所述的发动机气缸套具有以下优势:本实用新型所述的发动机气缸套的内缸套和外缸套之间的中空部内注入有冷却介质,当发动机运转使温度达到冷却介质的熔点时,冷却介质融化,并且在中空部内不断窜动、冲刷内缸套,将热量迅速均匀地由内缸套传递至外缸套,进而传递至缸体水套,使得内缸套和外缸套的温度分布均匀,避免气缸套由于高温而发生变形,降低磨损,进而降低漏气量和油耗,并且使发动机循环水温度在短时间内升高,实现了快速暖机。附图说明构成本实用新型的一部分的附图用来提供对本实用新型的进一步理解,本实用新型的示意性实施例及其说明用于解释本实用新型,并不构成对本实用新型的不当限定。在附图中:图1为本实用新型实施例所述的发动机气缸套的装配图;图2为图1中的A处的局部放大图;图3为本实用新型实施例所述的发动机气缸套与气缸体的装配图;图4为图3中的B处的局部放大图;图5为本实用新型实施例所述的发动机气缸套的立体爆炸图。附图标记说明:1-内缸套,2-外缸套,3-中空部,4-密封结构,41-环状凸台,42-密封环,5-加强筋,6-缸体水套,7-气缸体。具体实施方式需要说明的是,在不冲突的情况下,本实用新型中的实施例及实施例中的特征可以相互组合。下面将参考附图并结合实施例来详细说明本实用新型。如图1-图5所示,本实用新型的实施例提供一种发动机气缸套,包括圆筒状的内缸套1和外缸套2,内缸套1套装在外缸套2内,内缸套1的外侧壁和外缸套2的内侧壁之间形成中空部3,用于存储冷却介质,中空部3的两端设置有密封结构4,以将冷却介质封装在中空部3内。发动机气缸套的内缸套1和外缸套2之间的中空部3内注入有冷却介质,当发动机运转使温度达到冷却介质的熔点时,冷却介质融化,并且在中空部3内不断窜动、冲刷内缸套1,将热量迅速均匀地由内缸套1传递至外缸套2,进而传递至缸体水套6,使得内缸套1和外缸套2的温度分布均匀,避免气缸套由于高温而发生变形,降低磨损,进而降低漏气量和油耗,并且使发动机循环水温度在短时间内升高,实现了快速暖机。如图3所示,当发动机启动时,发动机水循环为内循环,燃烧热量通过内缸套2传递至中空部3内的冷却介质,再传递至外缸套2,最后外缸套2将热量传递至缸体水套6。由于冷却介质导热率高于内缸套1和外缸套2,可以将内缸套1的热量迅速均匀地传递至缸体水套6,使得发动机循环水温度在短时间内升高,实现快速暖机。如图3所示,当发动机高速运转时,发动机水循环为外循环,此时循环水温度达到冷却介质的熔点,冷却介质融化并在气缸套的中空部3中不断窜动,冲刷内缸套1,将热量迅速均匀地传递至外缸套2,进而传递至缸体水套6,实现气缸套热量均匀散发。另外,本实用新型的气缸套的壁厚与普通的气缸套的壁厚相同,可以容易地实现替换,避免其它零部件的二次开发和制造,通用性很高。如图2、图4和图5所示,为了提高气缸套的结构强度,进一步的,内缸套1的外侧壁和外缸套2的内侧壁之间连接有多个加强筋5,以增强气缸套的强度与刚度,增强气缸套抗变形能力。如图5所示,作为本实用新型的具体实施方式,进一步的,多个加强筋5均为圆柱状并且呈阵列均匀分布,以使整个气缸套各处的强度和刚度均匀,均能够承受较大的外力作用。如图5所示,进一步的,多个加强筋5一体形成在内缸套1的外侧壁上,使得内缸套1和外缸套2结构简单,制造方便。多个加强筋5与外缸套2的内侧壁摩擦焊接,具体地,内缸套1和外缸套2先加热膨胀,然后外缸套2固定在焊接机床上,内缸套1沿轴向朝向外缸套2移动并且同时绕轴线摆动,内缸套1与外缸套2逐渐接触且最终完全套装在一起,在两者套装的过程中,内缸套1相对于外缸套2摆动进行摩擦焊接。上述装配方式使得内缸套1与外缸套2的装配简单,并且连接牢固,结构强度大。如图3和图5所示,作为密封结构4的一种具体实施方式,进一步的,密封结构4包括形成在内缸套1的外侧壁上的环状凸台41,环状凸台41位于内缸套1的一端并且与外缸套2的内侧壁摩擦焊接。环状凸台41与外缸套2的内侧壁紧密贴合,并且在内缸套1装配到外缸套2内的过程中摩擦焊接在一起,保证了中空部3一端的密封性,防止冷却介质泄漏。如图3和图5所示,作为密封结构4的另一种具体实施方式,进一步的,密封结构4还包括密封环42,密封环42设置在内缸套1和外缸套2的另一端的端面上,并且封住内缸套1和外缸套2之间的开口。密封环42结构简单,装配方便,保证了中空部3另一端的密封性,防止冷却介质泄漏。如图2和图4所示,进一步的,密封环42的内圈与内缸套1的内侧壁平齐,密封环42的外圈与外缸套2的外侧壁平齐,使得整个气缸套的内壁和外壁平滑,避免影响活塞的运动。进一步的,密封环42与内缸套1和外缸套2摩擦焊接,以保证密封性以及使内缸套1与外缸套2连接牢固,并且装配工艺简单。作为本实用新型的一种具体实施方式,进一步的,冷却介质的熔点为90~110℃,即冷却介质在低于熔点的温度下为固态,在高于熔点的温度下为液态,内缸套1和外缸套2之间形成中空部3,在冷空间条件下向中空部3内注入冷却介质并预留10%~20%的空腔,以使冷却介质融化后体积膨胀有充足的空间。注入冷却介质后通过密封结构4进行密封,完成后气缸套与气缸体一起进行后续机加工。冷却介质在内缸套1和外缸套2之间起到快速均匀散热的作用,使得气缸套的温度分布均匀。作为一种实施例,进一步的,冷却介质选自金属钠、锡、铋、锑、银、锌、铟中的两种或两种以上的合金制成。以上所述仅为本实用新型的较佳实施例而已,并不用以限制本实用新型,凡在本实用新型的精神和原则之内,所作的任何修改、等同替换、改进等,均应包含在本实用新型的保护范围之内。
    展开 >
    说明书附图
    >
    交易服务流程
    >

    挑选中意的板块

    ----

    客服确认选择专利的交易信息和价格并支付相应款项

    办理转让材料

    ----

    协助双方准备相应的材料

    签订协议

    ----

    协助卖家签订协议

    办理备案手续

    ----

    买卖双方达成一致后

    交易完成

    ----

    交易完成可投入使用

    过户资料 & 安全保障 & 承诺信息
    >

    过户资料

    买卖双方需提供的资料
    公司 个人
    买家 企业营业执照
    企业组织机构代码证
    身份证
    卖家 企业营业执照
    专利证书原件
    身份证
    专利证书原件
    网站提供 过户后您将获得
    专利代理委托书
    专利权转让协议
    办理文件副本请求书
    发明人变更声明
    专利证书
    手续合格通知书
    专利登记薄副本

    安全保障

    承诺信息

    我方拟转让所持标的项目,通过中国汽车知识产权交易平台公开披露项目信息和组织交易活动,依照公开、公平、公正和诚信的原则作如下承诺:

    1、本次项目交易是我方真实意思表示,项目标的权属清晰,除已披露的事项外,我方对该项目拥有完全的处置权且不存在法律法规禁止或限制交易的情形;
    2、本项目标的中所涉及的处置行为已履行了相应程序,经过有效的内部决策,并获得相应批准;交易标的涉及共有或交易标的上设置有他项权利,已获得相关权利 人同意的有效文件。
    3、我方所提交的信息发布申请及相关材料真实、完整、准确、合法、有效,不存在虚假记载、误导性陈述或重大遗漏;我方同意平台按上述材料内容发布披露信息, 并对披露内容和上述的真实性、完整性、准确性、合法性、有效性承担法律责任;
    4、我方在交易过程中自愿遵守有关法律法规和平台相关交易规则及规定,恪守信息发布公告约定,按照相关要求履行我方义务;
    5、我方已认真考虑本次项目交易行为可能导致的企业经营、行业、市场、政策以及其他不可预计的各项风险因素,愿意自行承担可能存在的一切交易风险;
    6、我方在平台所组织交易期间将不通过其他渠道对标的项目进行交易;
    7、我方将按照平台收费办法及相关交易文件的约定及时、足额支付相关费用,不因与受让方争议或合同解除、终止等原因拒绝、拖延、减少交纳或主张退还相关费用。